TOP
|
特許
|
意匠
|
商標
特許ウォッチ
Twitter
他の特許を見る
10個以上の画像は省略されています。
公開番号
2025124157
公報種別
公開特許公報(A)
公開日
2025-08-26
出願番号
2024020025
出願日
2024-02-14
発明の名称
ロールスクリーン
出願人
株式会社ニチベイ
代理人
弁理士法人南青山国際特許事務所
主分類
E06B
9/42 20060101AFI20250819BHJP(戸,窓,シャッタまたはローラブラインド一般;はしご)
要約
【課題】スクリーンの歪みや巻乱れを簡易な構造で効果的に低減又は解消可能なロールスクリーンを提供すること。
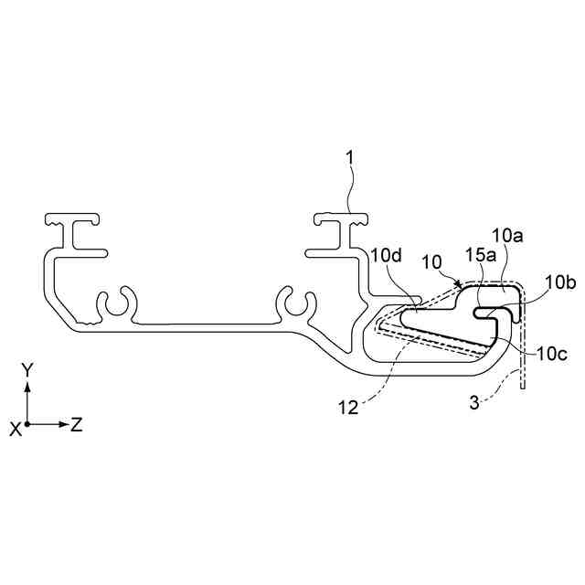
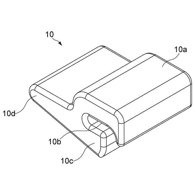
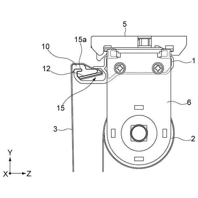
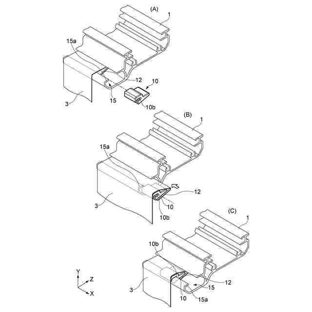
【解決手段】ロールスクリーンは、支持部材と、前記支持部材に回転可能に支持される巻取パイプと、ウエイトバーと、その一端部が前記巻取パイプに巻取り及び巻解き可能に連結され、その他端部が前記巻取パイプから垂下し前記ウエイトバーで折り返して前記支持部材に連結されるスクリーンと、前記支持部材に前記スクリーンの他端部が連結される位置近傍において、前記支持部材と前記スクリーンとの間に配置可能となるように前記支持部材に取付可能なスペーサと、を具備する。前記スペーサは、前記支持部材に取り付けられた取付状態において、一部が前記スクリーンと当接することで前記スクリーンを部分的に展張する。
【選択図】図9
特許請求の範囲
【請求項1】
支持部材と、
前記支持部材に回転可能に支持される巻取パイプと、
ウエイトバーと、
その一端部が前記巻取パイプに巻取り及び巻解き可能に連結され、その他端部が前記巻取パイプから垂下し前記ウエイトバーで折り返して前記支持部材に連結されるスクリーンと、
前記支持部材に前記スクリーンの他端部が連結される位置近傍において、前記支持部材と前記スクリーンとの間に配置可能となるように前記支持部材に取付可能なスペーサと、を具備し、
前記スペーサは、前記支持部材に取り付けられた取付状態において、一部が前記スクリーンと当接することで前記スクリーンを部分的に展張する
ロールスクリーン。
続きを表示(約 1,000 文字)
【請求項2】
請求項1に記載のロールスクリーンであって、
前記支持部材は、前記スクリーンの他端部を挿入して連結するための溝部を有し、
前記スペーサは、一部が前記溝部から突出するように前記溝部に取り付けられる
ロールスクリーン。
【請求項3】
請求項2に記載のロールスクリーンであって、
前記溝部は、その内外を連通する開口の一部を形成する縁部を有し、
前記スペーサは、その一部が前記縁部と前記スクリーンの他端部との間に挟み込まれるように前記溝部に取り付けられる。
ロールスクリーン。
【請求項4】
請求項2に記載のロールスクリーンであって、
前記溝部は、前記支持部材の長手方向全域に亘って形成され、
前記スペーサは、前記溝部の前記長手方向端部から挿入され、前記長手方向に沿って摺動可能となるように前記溝部に取り付けられる
ロールスクリーン。
【請求項5】
請求項4に記載のロールスクリーンであって、
前記溝部は、前記長手方向全域に亘ってその内外を連通する開口の一部を形成する縁部を有し、
前記スペーサは、前記縁部に嵌合するように形成された凹部を有する
ロールスクリーン。
【請求項6】
請求項2に記載のロールスクリーンであって、
前記スペーサは、前記取付状態において前記溝部から突出し前記スクリーンの一部に当接する当接部と、前記取付状態において前記溝部内に位置し前記溝部外への移動が規制されるように前記溝部内の一部に係止される係止部とを有する
ロールスクリーン。
【請求項7】
請求項2に記載のロールスクリーンであって、
前記スクリーンは、当該スクリーンの前記他端部に取り付けられ前記溝部に挿入されるスクリーン止めプレートを有し、
前記スペーサは、前記溝部の内部において前記スクリーン止めプレートと当接した状態で係止される
ロールスクリーン。
【請求項8】
請求項2に記載のロールスクリーンであって、
前記スペーサは、肉厚部と、肉薄部と、前記肉厚部及び前記肉薄部を接続する接続部とを有し、前記接続部を中心に回転させることで前記肉厚部及び前記肉薄部の何れかが前記溝部から突出するように前記溝部に取付可能である
ロールスクリーン。
発明の詳細な説明
【技術分野】
【0001】
本発明は、ロールスクリーンに関する。
続きを表示(約 1,600 文字)
【背景技術】
【0002】
従来のロールスクリーンとして、例えば下記特許文献1に記載のものが知られている。
【0003】
同文献に示されるロールスクリーンは、スクリーンの一端がスクリーン固定部材を介して支持バーに連結され、スクリーンの他端が支持バーから垂下し錘部材で折り返して巻取ローラに連結されている。スクリーン固定部材は、上端が支持バーに取り付けられ且つ下部に凹溝が形成されたスクリーン固定本体と、スクリーンの一端が取り付けられ且つ凹溝に遊挿されるスクリーン取付バーと、スクリーン固定本体の端部に挿着されスクリーン取付バーを位置決めするバー位置決め部材とを有する。バー位置決め部材は、スクリーン取付バーをその長手方向に位置決めするように構成されている。
【0004】
このような構成によれば、スクリーンが左右方向にずれてスクリーンに歪みが生じた場合に、スクリーン取付バーをその長手方向に移動させてスクリーンの左右方向のずれを是正したうえで位置決めすることができる。
【先行技術文献】
【特許文献】
【0005】
特開2016-84669号公報
【発明の概要】
【発明が解決しようとする課題】
【0006】
ところで、この種のロールスクリーンでは、調光機能の点から透光部と遮光部とが交互に配置されたボーダー柄のスクリーンが好適に採用される。そのようなスクリーンを採用したロールスクリーンの生産工程では、調光機能が損なわれないようにボーダーに合わせて高い精度でスクリーンを裁断することが求められ、その裁断の精度が低下すると、スクリーンの歪みや巻乱れが生じる仕上がり状態となってしまう。
【0007】
そのような場合においても、上記特許文献1のロールスクリーンはある程度有効となるが、スクリーンを左右に移動させただけでは調整しきれず、スクリーンの歪みや巻乱れを解消しきれない場合がある。また、上記特許文献1のロールスクリーンの構成は部品点数が多く構造が複雑であるため、より簡易な構造でスクリーンの歪みや巻乱れを解消することが望まれる。
【0008】
本発明は上記課題に鑑みてなされたものであり、スクリーンの歪みや巻乱れを簡易な構造で効果的に低減又は解消可能なロールスクリーンを提供することを目的とする。
【課題を解決するための手段】
【0009】
上記目的を達成するため、本発明の一形態に係るロールスクリーンは、支持部材と、前記支持部材に回転可能に支持される巻取パイプと、ウエイトバーと、その一端部が前記巻取パイプに巻取り及び巻解き可能に連結され、その他端部が前記巻取パイプから垂下し前記ウエイトバーで折り返して前記支持部材に連結されるスクリーンと、前記支持部材に前記スクリーンの他端部が連結される位置近傍において、前記支持部材と前記スクリーンとの間に配置可能となるように前記支持部材に取付可能なスペーサと、を具備する。前記スペーサは、前記支持部材に取り付けられた取付状態において、一部が前記スクリーンと当接することで前記スクリーンを部分的に展張する。
【0010】
この構成によれば、支持部材にスペーサを取り付けるだけの簡易な構造でありながらも、二重に折り返されたスクリーンのうち歪みや巻乱れに対する調整効果が高い支持部材から垂下する方のスクリーンを展張するように構成されているため、スクリーンの歪みや巻乱れを効果的に低減又は解消することが可能となる。結果として、スクリーンを裁断し直して対応する必要がなくなるため、工数削減による生産能力の安定化と歩留まりの向上が見込める。
(【0011】以降は省略されています)
この特許をJ-PlatPat(特許庁公式サイト)で参照する
関連特許
株式会社ニチベイ
遮蔽構造
7日前
株式会社ニチベイ
ロールスクリーン
12日前
株式会社ニチベイ
ロールスクリーン
1か月前
株式会社ニチベイ
ルーバー回転装置及び間仕切装置
5日前
株式会社ニチベイ
ルーバー回転装置及び間仕切装置
5日前
株式会社ニチベイ
回転規制具及びロールスクリーン
9日前
株式会社ニチベイ
ブラインド用振れ止め装置及びブラインド用振れ止め機構
1か月前
株式会社ナカオ
作業台
28日前
株式会社ESP
止水板
1か月前
中国電力株式会社
脚立
1か月前
三協立山株式会社
構造体
3か月前
三協立山株式会社
構造体
3か月前
三協立山株式会社
開口部装置
1か月前
三協立山株式会社
開口部装置
1か月前
三協立山株式会社
開口部装置
1か月前
三協立山株式会社
開口部装置
1か月前
三協立山株式会社
開口部装置
1日前
三協立山株式会社
開口部装置
1か月前
三協立山株式会社
開口部装置
4か月前
三協立山株式会社
開口部装置
3か月前
株式会社ニチベイ
ブラインド
4か月前
ミサワホーム株式会社
水切り材
1か月前
株式会社TJMデザイン
脚立用ホルダー
3か月前
文化シヤッター株式会社
止水装置
今日
不二サッシ株式会社
引違いサッシ
1か月前
株式会社大奉金属
止水構造
4か月前
不二サッシ株式会社
引違いサッシ
今日
株式会社ニチベイ
縦型ブラインド
2か月前
三協立山株式会社
サッシの製造方法
29日前
株式会社LIXIL
太陽電池ガラス
9日前
永大産業株式会社
開閉構造体
3か月前
株式会社LIXIL
建具
1か月前
株式会社LIXIL
建具
1か月前
株式会社LIXIL
建具
1か月前
株式会社LIXIL
建具
1か月前
株式会社LIXIL
建具
6日前
続きを見る
他の特許を見る