TOP
|
特許
|
意匠
|
商標
特許ウォッチ
Twitter
他の特許を見る
10個以上の画像は省略されています。
公開番号
2025145660
公報種別
公開特許公報(A)
公開日
2025-10-03
出願番号
2024045953
出願日
2024-03-22
発明の名称
ルーバー回転装置及び間仕切装置
出願人
株式会社ニチベイ
代理人
弁理士法人南青山国際特許事務所
主分類
E06B
7/086 20060101AFI20250926BHJP(戸,窓,シャッタまたはローラブラインド一般;はしご)
要約
【課題】装置サイズを大型化してもルーバーに撓みが生じにくいルーバー回転装置及び間仕切装置を提供すること。
【解決手段】ルーバー回転装置は、上下方向に複数配設される長尺のルーバーと、前記複数のルーバーの長手方向両端部を回転可能に支持する一対の支持部と、前記複数のルーバーが同期して回転するように連携させる回転機構と、前記複数のルーバーのうち上下に隣り合うルーバー同士を前記長手方向における何れかの位置において連結する連結ユニットとを具備する。前記連結ユニットは、少なくとも前記複数のルーバーが略水平となる開閉状態において、前記上下に隣り合うルーバー同士を緊張状態で連結する。
【選択図】図11
特許請求の範囲
【請求項1】
上下方向に複数配設される長尺のルーバーと、
前記複数のルーバーの長手方向両端部を回転可能に支持する一対の支持部と、
前記複数のルーバーが同期して回転するように連携させる回転機構と、
前記複数のルーバーのうち上下に隣り合うルーバー同士を前記長手方向における何れかの位置において連結する連結ユニットと
を具備し、
前記連結ユニットは、少なくとも前記複数のルーバーが略水平となる開閉状態において、前記上下に隣り合うルーバー同士を緊張状態で連結する
ルーバー回転装置。
続きを表示(約 1,200 文字)
【請求項2】
請求項1に記載のルーバー回転装置であって、
前記連結ユニットは、前記ルーバーの長手方向略中央において、前記上下に隣り合うルーバー同士を連結する
ルーバー回転装置。
【請求項3】
請求項1に記載のルーバー回転装置であって、
前記連結ユニットは、前記隣り合うルーバー同士を連結する連結部材と、前記ルーバーに取り付けられ、前記連結部材の前記ルーバーの短手方向における連結位置を前記ルーバーの回転角度に応じて移動可能とする被連結部とを有する
ルーバー回転装置。
【請求項4】
請求項3に記載のルーバー回転装置であって、
前記連結部材は、その両端部に環状の連結部を有し、
前記被連結部は、前記ルーバーの上面側及び下面側にそれぞれ設けられ、前記連結部が摺動可能に連結されるアーチ状を有する
ルーバー回転装置。
【請求項5】
請求項4に記載のルーバー回転装置であって、
前記連結ユニットは、前記ルーバーの上面側及び下面側から前記ルーバーにそれぞれ取付可能な一対のクリップ部材を有し、
前記被連結部は、前記一対のクリップ部材にそれぞれ形成される
ルーバー回転装置。
【請求項6】
請求項1に記載のルーバー回転装置であって、
前記ルーバーは、その長手方向両端部から突出する軸部を有するとともに、当該軸部の少なくとも一方にピニオンギアが形成され、
当該ルーバー回転装置は、
前記軸部を回転可能に支持する一対のベース部材と、
前記ルーバーの長手方向両端部のうち少なくとも一端部に設けられ、前記ピニオンギアと噛合するラックギアを有し、前記ルーバーの回転操作に伴い摺動する可動部材と、
を更に具備し、
前記支持部は、複数の前記ベース部材が上下に連結されることにより構成され、
前記回転機構は、複数の前記可動部材が上下に連結されることにより構成される
ルーバー回転装置。
【請求項7】
請求項1に記載のルーバー回転装置であって、
前記支持部が取り付けられる一対の縦枠と、前記一対の縦枠の上部を連結する上部横枠と、前記一対の縦枠の下部を連結する下部横枠と、を有する枠体を更に具備し、
前記連結ユニットは、前記上枠と最上段ルーバーとを更に連結する
ルーバー回転装置。
【請求項8】
請求項1に記載のルーバー回転装置であって、
前記ルーバーは、薄板状のルーバーである
ルーバー回転装置。
【請求項9】
請求項1乃至8のいずれかに記載の少なくとも1つのルーバー回転装置と、
前記少なくとも1つのルーバー回転装置の上端に設けられ、レールに移動可能に支持されるランナと
を具備する間仕切装置。
発明の詳細な説明
【技術分野】
【0001】
本発明は、間仕切、窓、ドア、面格子等に用いられるルーバー回転装置及び当該ルーバー回転装置を有する間仕切装置に関する。
続きを表示(約 1,200 文字)
【背景技術】
【0002】
従来から、建物の窓部や内部空間の間仕切等に、光、風、温度、音、視野等の調整のために用いられるルーバー回転装置が知られている。
【0003】
例えば下記特許文献1には、扉枠間に複数個のルーバーを平行状に配置し、扉枠内に収容したキャップを各ルーバーの端部に嵌め、各キャップを連結板で連結し、キャップの中の一つをピニオンギアに選定し、扉枠の屋内側に案内部材を固定し、案内部材内にピニオンギアと噛み合うラックギアを備えたスライド部材を摺動自在に設け、スライド部材を摺動させてルーバーを回転させるように構成されたルーバー回転装置が開示されている。このような構成のルーバー回転装置によれば、複数のルーバーを同期して回転させることができる。
【先行技術文献】
【特許文献】
【0004】
特開2004-052386号公報
【発明の概要】
【発明が解決しようとする課題】
【0005】
ところで、このようなルーバー回転装置は、折戸や引戸のような間仕切装置に好適に適用することができる。しかしながら、ルーバー回転装置を大型の間仕切装置に適用した場合には、ルーバーの長手方向のサイズが大きくなるため、ルーバーの撓みが生じやすくなるという課題があった。
【0006】
本発明は、以上のような事情に鑑みてなされたものであり、装置サイズを大型化してもルーバーに撓みが生じにくいルーバー回転装置及び間仕切装置を提供することを目的とする。
【課題を解決するための手段】
【0007】
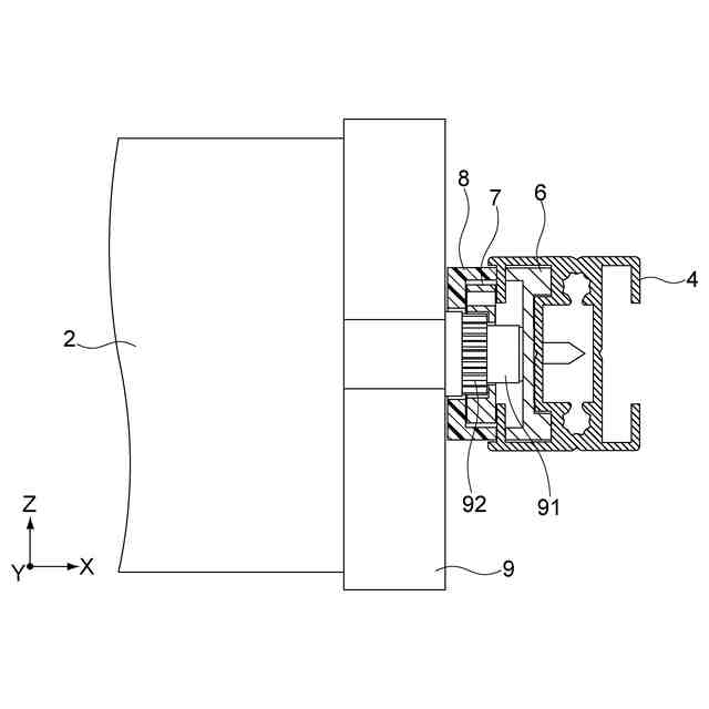
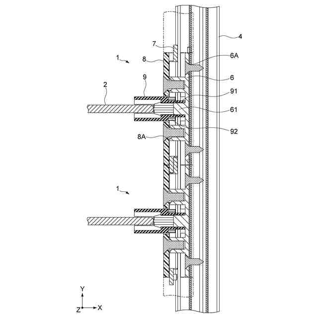
上記目的を達成するため、本発明の一形態に係るルーバー回転装置は、上下方向に複数配設される長尺のルーバーと、前記複数のルーバーの長手方向両端部を回転可能に支持する一対の支持部と、前記複数のルーバーが同期して回転するように連携させる回転機構と、前記複数のルーバーのうち上下に隣り合うルーバー同士を前記長手方向における何れかの位置において連結する連結ユニットとを具備する。前記連結ユニットは、少なくとも前記複数のルーバーが略水平となる開閉状態において、前記上下に隣り合うルーバー同士を緊張状態で連結する。
【0008】
この構成によれば、少なくともルーバーが水平となり最も撓みが生じやすくなる開閉状態においては、上下に隣り合うルーバー同士を連結ユニットが緊張状態で連結するように構成されているため、ルーバーの撓みを生じにくくすることができる。
【0009】
前記連結ユニットは、前記ルーバーの長手方向略中央において、前記上下に隣り合うルーバー同士を連結してもよい。
【0010】
この構成によれば、ルーバーの撓みが最も大きくなる長手方向略中央に連結ユニットが連結される構成であるため、ルーバーの撓みをより生じにくくすることができる。
(【0011】以降は省略されています)
この特許をJ-PlatPat(特許庁公式サイト)で参照する
関連特許
中国電力株式会社
脚立
1か月前
株式会社ナカオ
作業台
27日前
株式会社ESP
止水板
1か月前
三協立山株式会社
開口部装置
1か月前
三協立山株式会社
開口部装置
今日
三協立山株式会社
開口部装置
29日前
三協立山株式会社
開口部装置
29日前
三協立山株式会社
開口部装置
1か月前
三協立山株式会社
開口部装置
1か月前
ミサワホーム株式会社
水切り材
1か月前
株式会社TJMデザイン
脚立用ホルダー
2か月前
株式会社ニチベイ
縦型ブラインド
2か月前
不二サッシ株式会社
引違いサッシ
1か月前
三協立山株式会社
サッシの製造方法
28日前
株式会社LIXIL
太陽電池ガラス
8日前
株式会社LIXIL
建具
1か月前
株式会社LIXIL
建具
1か月前
三協立山株式会社
エクステリア構成材
1か月前
株式会社LIXIL
建具
1か月前
株式会社LIXIL
建具
1か月前
株式会社LIXIL
建具
1か月前
株式会社LIXIL
建具
8日前
株式会社LIXIL
建具
1か月前
株式会社LIXIL
建具
1か月前
株式会社LIXIL
建具
18日前
株式会社LIXIL
建具
18日前
株式会社LIXIL
建具
18日前
株式会社LIXIL
建具
18日前
株式会社LIXIL
建具
5日前
三和シヤッター工業株式会社
水密構造
1か月前
株式会社LIXIL
建具
5日前
株式会社LIXIL
建具
5日前
ナブテスコ株式会社
建具及び表示装置
3か月前
株式会社LIXIL
建具
5日前
株式会社LIXIL
建具
2か月前
株式会社LIXIL
建具
4日前
続きを見る
他の特許を見る