TOP
|
特許
|
意匠
|
商標
特許ウォッチ
Twitter
他の特許を見る
公開番号
2025150077
公報種別
公開特許公報(A)
公開日
2025-10-09
出願番号
2024050764
出願日
2024-03-27
発明の名称
副室式内燃機関の制御システム
出願人
三菱自動車工業株式会社
代理人
ケー・ティー・アンド・エス弁理士法人
主分類
F02D
41/22 20060101AFI20251002BHJP(燃焼機関;熱ガスまたは燃焼生成物を利用する機関設備)
要約
【課題】ノッキングを抑制できる副室式内燃機関の制御システムを提供する。
【解決手段】副室式内燃機関の制御システムは、主燃焼室と、主燃焼室と隔壁を介して隔てて配置される副燃焼室と、前記主燃焼室に配置され前記副燃焼室に向けて燃料を噴射する燃料噴射弁と、ノッキングを検知するノッキング検知装置と、前記燃料噴射弁を制御する制御装置と、を備え、前記制御装置は、吸気行程において燃料を噴射する吸気行程噴射と、圧縮行程において燃料を噴射する圧縮行程噴射とを実行し、前記ノッキングを検知した場合、前記圧縮行程噴射を前記吸気行程噴射に切り替える。
【選択図】 図1
特許請求の範囲
【請求項1】
主燃焼室と、
主燃焼室と隔壁を介して隔てて配置される副燃焼室と、
前記主燃焼室に配置され前記副燃焼室に向けて燃料を噴射する燃料噴射弁と、
ノッキングを検知するノッキング検知装置と、
前記燃料噴射弁を制御する制御装置と、
を備え、
前記制御装置は、吸気行程において燃料を噴射する吸気行程噴射と、圧縮行程において燃料を噴射する圧縮行程噴射とを実行し、前記ノッキングを検知した場合、前記圧縮行程噴射を前記吸気行程噴射に切り替える、
副室式内燃機関の制御システム。
続きを表示(約 730 文字)
【請求項2】
前記制御装置は、前記圧縮行程噴射の噴射量が所定噴射量以上の場合、前記圧縮行程噴射の噴射量を減少させる、
請求項1に記載の副室式内燃機関の制御システム。
【請求項3】
前記吸気行程噴射の噴射量を所定噴射量増加させる、
請求項2に記載の副室式内燃機関の制御システム。
【請求項4】
前記制御装置は、前記圧縮行程噴射の噴射量が所定噴射量未満となった場合、前記圧縮行程噴射の噴射時期を進角する、
請求項1に記載の副室式内燃機関の制御システム。
【請求項5】
点火装置をさらに備え、
前記制御装置は、前記ノッキング検知装置で検知した値からノッキング強度を判定し、前記ノッキング強度が所定値以上である場合、前記点火装置による点火時期を遅角する、
請求項4に記載の副室式内燃機関の制御システム。
【請求項6】
前記制御装置は、前記圧縮行程噴射の噴射時期の進角した角度が所定角度以上となった場合、かつ、ノッキングを検知した場合、
前記圧縮行程噴射を前記吸気行程噴射に切り替える、
請求項1に記載の副室式内燃機関の制御システム。
【請求項7】
前記制御装置は、前記ノッキングを検知した場合、空燃比をリッチにする、
請求項1から6のいずれか1項に記載の副室式内燃機関の制御システム。
【請求項8】
吸気行程において燃料を噴射する第2燃料噴射弁をさらに備え、
前記制御装置は、前記第2燃料噴射弁による噴射量を増加させて前記空燃比をリッチにする、
請求項7に記載の副室式内燃機関の制御システム。
発明の詳細な説明
【技術分野】
【0001】
本開示は、副室式内燃機関の制御システムに関する。
続きを表示(約 1,300 文字)
【背景技術】
【0002】
従来、副室式内燃機関が知られている(例えば、特許文献1参照)。特許文献1の副室式内燃機関は、主燃焼室と、副燃焼室と、を備え、副燃焼室に点火装置が配置され、主燃焼室に燃料噴射弁が配置される。特許文献1の副室式内燃機関は、主燃焼室から噴射した燃料を副燃焼室に供給することによって、副燃焼室に混合気を形成する。副燃焼室に形成された混合気は、点火装置によって着火され火炎を形成する。副燃焼室に形成された火炎は、連通路を介して主燃焼室に噴射される。
【先行技術文献】
【特許文献】
【0003】
国際公開第2022/208575号
【発明の概要】
【発明が解決しようとする課題】
【0004】
このような副室式内燃機関では、高負荷運転や高回転運転時に副室や点火プラグ温度の上昇によりノッキングが発生することがある。
【0005】
本開示の課題は、ノッキングを抑制できる副室式内燃機関の制御システムを提供することである。
【課題を解決するための手段】
【0006】
本開示に係る副室式内燃機関の制御システムは、主燃焼室と、主燃焼室と隔壁を介して隔てて配置される副燃焼室と、前記主燃焼室に配置され前記副燃焼室に向けて燃料を噴射する燃料噴射弁と、ノッキングを検知するノッキング検知装置と、前記燃料噴射弁を制御する制御装置と、を備え、前記制御装置は、吸気行程において燃料を噴射する吸気行程噴射と、圧縮行程において燃料を噴射する圧縮行程噴射とを実行し、前記ノッキングを検知した場合、前記圧縮行程噴射を前記吸気行程噴射に切り替える。
【発明の効果】
【0007】
この副室式内燃機関の制御システムによれば、圧縮行程噴射を吸気行程噴射に切り替えることによって、ノッキングを抑制できる。
【図面の簡単な説明】
【0008】
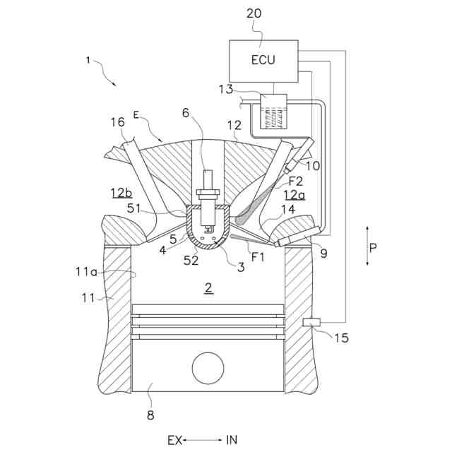
本開示の実施形態による副室式内燃機関の制御システムのシステム図。
本開示の実施形態による制御装置が実行する制御手順を示すフローチャート。
本開示の実施形態による副室式内燃機関の噴射タイミングを示す図。
第2実施形態による副室式内燃機関の制御システムのシステム図。
他の実施形態による副室式内燃機関の噴射タイミングのシステム図。
【発明を実施するための形態】
【0009】
<第1実施形態>
以下、本開示の第1実施形態について、図面を参照しながら説明する。なお、ピストン8の摺動方向をP、吸気バルブ14が配置される側を吸気側IN、排気バルブ16が配置される側を排気側EX、と図面に記す。
【0010】
図1に示すように、副室式内燃機関Eの制御システム1は、主燃焼室2と、副燃焼室3と、連通路4と、点火装置6と、ピストン8と、第1燃料噴射弁9と、第2燃料噴射弁10と、燃料圧力調整装置13と、ノッキング検知装置15と、制御装置20と、を備える。
(【0011】以降は省略されています)
この特許をJ-PlatPat(特許庁公式サイト)で参照する
関連特許
本田技研工業株式会社
車両
4日前
本田技研工業株式会社
車両
4日前
本田技研工業株式会社
内燃機関
4日前
本田技研工業株式会社
内燃機関
5日前
株式会社クボタ
作業車両
5日前
本田技研工業株式会社
始動制御装置
4日前
本田技研工業株式会社
始動制御装置
4日前
トヨタ自動車株式会社
エンジン制御装置
11日前
株式会社デンソートリム
エンジン制御装置
11日前
本田技研工業株式会社
可変ファンネル装置
4日前
日産自動車株式会社
内燃機関
11日前
大阪瓦斯株式会社
エンジンシステム
4日前
日産自動車株式会社
内燃機関
11日前
本田技研工業株式会社
内燃機関の吸気構造
5日前
マツダ株式会社
エンジン
5日前
トヨタ自動車株式会社
内燃機関の燃料供給装置
11日前
本田技研工業株式会社
内燃機関の制御装置
5日前
ヤンマーホールディングス株式会社
エンジン装置
13日前
本田技研工業株式会社
内燃機関の制御装置
5日前
マツダ株式会社
エンジンの制御装置
5日前
愛三工業株式会社
燃料供給装置
5日前
三菱自動車工業株式会社
内燃機関
5日前
三菱自動車工業株式会社
内燃機関
5日前
三菱自動車工業株式会社
内燃機関
5日前
本田技研工業株式会社
エンジン
5日前
株式会社SUBARU
燃料タンク処理装置
7日前
株式会社SUBARU
燃料タンク処理装置
7日前
マツダ株式会社
エンジンの燃焼室構造
5日前
マツダ株式会社
エンジンの燃焼室構造
5日前
日産自動車株式会社
ターボ過給機付き内燃機関
11日前
本田技研工業株式会社
V型エンジン
5日前
トヨタ自動車株式会社
シリンダ加熱装置
11日前
スズキ株式会社
エンジンの排気ポート構造
4日前
マツダ株式会社
エンジンの排気バルブ制御装置
11日前
三菱自動車工業株式会社
内燃機関
7日前
三菱自動車工業株式会社
内燃機関システム
5日前
続きを見る
他の特許を見る