TOP
|
特許
|
意匠
|
商標
特許ウォッチ
Twitter
他の特許を見る
10個以上の画像は省略されています。
公開番号
2025148619
公報種別
公開特許公報(A)
公開日
2025-10-07
出願番号
2025129002,2021141810
出願日
2025-07-31,2021-08-31
発明の名称
発光装置、およびディスプレイ
出願人
日亜化学工業株式会社
代理人
個人
,
個人
,
個人
,
個人
主分類
H10H
20/855 20250101AFI20250930BHJP()
要約
【課題】近接場光の効果を利用してある偏光成分の割合が他の偏光成分の割合よりも多い偏光を出射する発光装置を提供する。
【解決手段】発光装置は、半導体積層部を含み、第1偏光成分および第2偏光成分を含む所定の波長の光を発する少なくとも1つの発光素子と、前記少なくとも1つの発光素子と接触する少なくとも1つの偏光制御部材と、を備え、前記少なくとも1つの偏光制御部材は、前記少なくとも1つの発光素子側から順に第1構造体と、第2構造体と、を有し、前記第1構造体は、前記所定の波長の光を受けて近接場光を生成し、前記第2構造体は、前記近接場光および前記所定の波長の光を受けて前記第2偏光成分の割合が前記第1偏光成分の割合よりも多い光を発する。
【選択図】図2A
特許請求の範囲
【請求項1】
半導体積層部を含み、第1偏光成分および第2偏光成分を含む所定の波長の光を発する少なくとも1つの発光素子と、
前記少なくとも1つの発光素子と接触する少なくとも1つの偏光制御部材と、
を備え、
前記少なくとも1つの偏光制御部材は、前記少なくとも1つの発光素子側から順に第1構造体と、第2構造体と、を有し、
前記第1構造体は、前記所定の波長の光を受けて近接場光を生成し、
前記第2構造体は、前記近接場光および前記所定の波長の光を受けて前記第2偏光成分の割合が前記第1偏光成分の割合よりも多い光を発する、発光装置。
続きを表示(約 1,200 文字)
【請求項2】
半導体積層部を含み、第1偏光成分および第2偏光成分を含む所定の波長の光を発する少なくとも1つの発光素子と、
前記少なくとも1つの発光素子と接触する少なくとも1つの偏光制御部材と、を備え、
前記少なくとも1つの偏光制御部材は、前記発光素子側から順に第1構造体および第2構造体と、を有し、
前記第1構造体および前記第2構造体の、前記発光素子の発光面に対して垂直な高さ方向の長さ、前記高さ方向に対して垂直な縦方向の長さおよび、前記高さ方向と前記縦方向のいずれにも垂直な横方向の長さは、前記所定の波長よりも短く、
前記第1構造体と前記第2構造体との距離は、前記所定の波長の長さよりも短く、
前記第2構造体の前記縦方向の長さに対する前記横方向の長さの比が1より大きい、発光装置。
【請求項3】
前記所定の波長は、前記少なくとも1つの発光素子が発する光のピーク波長の強度に対して半分の強度となる波長の短い側の波長以上長い側の波長以下である、請求項1または2に記載の発光装置。
【請求項4】
前記少なくとも1つの偏光制御部材は、第1構造体を覆う誘電体層を含み、前記誘電体層上に前記第2構造体を備える、請求項1から3のいずれか一項に記載の発光装置。
【請求項5】
前記少なくとも1つの発光素子は、基板を含み、
前記基板は、前記半導体積層部と前記偏光制御部材との間に位置し、
前記基板の屈折率は、前記半導体積層部の屈折率より高く、前記誘電体層の屈折率より低い、請求項4に記載の発光装置。
【請求項6】
上面視で、前記少なくとも1つの偏光制御部材に含まれる前記第1構造体および前記第2構造体は互いに重なる部分を有する、請求項1から5のいずれか一項に記載の発光装置。
【請求項7】
前記第1構造体および前記第2構造体は、金属から形成されている、請求項1から6のいずれか一項に記載の発光装置。
【請求項8】
前記少なくとも1つの偏光制御部材は、第1偏光制御部材と第2偏光制御部材とを含む、請求項1から7のいずれか一項に記載の発光装置。
【請求項9】
前記第1構造体および前記第2構造体の形状、サイズ、ならびに配置間隔の少なくとも1つは、前記第1偏光制御部材と前記第2偏光制御部材との間で異なる、請求項8に記載の発光装置。
【請求項10】
前記少なくとも1つの発光素子は、少なくとも1つの波長変換部材をさらに備え、
前記少なくとも1つの波長変換部材は、前記少なくとも1つの偏光制御部材と接触し、
前記波長変換部材は、前記半導体積層部からの光を受けて、前記所定の波長の光を発する、請求項1から9のいずれか一項に記載の発光装置。
(【請求項11】以降は省略されています)
発明の詳細な説明
【技術分野】
【0001】
本開示は、発光装置、およびディスプレイに関する。
続きを表示(約 2,400 文字)
【背景技術】
【0002】
偏光子を用いることにより、例えば、無偏光の光から一方向に偏光する光を得ることができる。特許文献1は、近接場光を利用して無偏光をそのような偏光に変換することが可能な偏光変換板を開示している。
【先行技術文献】
【特許文献】
【0003】
特開2012-189651号公報
【発明の概要】
【発明が解決しようとする課題】
【0004】
ある偏光成分の割合が他の偏光成分の割合よりも多い偏光を出射する新規な発光装置が求められている。
【課題を解決するための手段】
【0005】
本開示の発光装置は、一実施形態において、半導体積層部を含み、第1偏光成分および第2偏光成分を含む所定の波長の光を発する少なくとも1つの発光素子と、前記少なくとも1つの発光素子と接触する少なくとも1つの偏光制御部材と、を備え、前記少なくとも1つの偏光制御部材は、前記少なくとも1つの発光素子側から順に第1構造体と、第2構造体と、を有し、前記第1構造体は、前記所定の波長の光を受けて近接場光を生成し、前記第2構造体は、前記近接場光および前記所定の波長の光を受けて前記第2偏光成分の割合が前記第1偏光成分の割合よりも多い光を発する。
【0006】
また、本開示に係る一実施形態の発光装置は、半導体積層部を含み、第1偏光成分および第2偏光成分を含む所定の波長の光を発する少なくとも1つの発光素子と、発光素子と接触する少なくとも1つの偏光制御部材と、を備える。偏光制御部材は、発光素子側から順に第1構造体および第2構造体と、を有する。第1構造体および第2構造体の、発光素子の発光面に対して垂直な高さ方向の長さ、高さ方向に対して垂直な縦方向の長さおよび、高さ方向と前記縦方向のいずれにも垂直な横方向の長さは、所定の波長よりも短い。第1構造体と前記第2構造体との距離は、所定の波長の長さよりも短く、第2構造体の縦方向の長さに対する横方向の長さの比が1より大きい。
【発明の効果】
【0007】
本開示の実施形態によれば、近接場光を利用して、ある偏光成分の割合が他の偏光成分の割合よりも多い偏光を出射する新規な発光装置を提供することができる。
【図面の簡単な説明】
【0008】
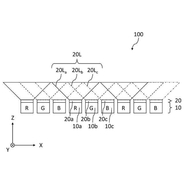
図1Aは、本開示の実施形態による発光装置の構成例を模式的に示す斜視図である。
図1Bは、図1Aに示す複数の発光素子に含まれる3種類の発光素子の配置の例を模式的に示す上面図である。
図1Cは、図1Aに示す複数の偏光制御部材に含まれる3種類の偏光制御部材の配置の例を模式的に示す上面図である。
図1Dは、本実施形態による発光装置から白色の偏光が出射される様子を模式的に示すY方向から見たときの側面図である。
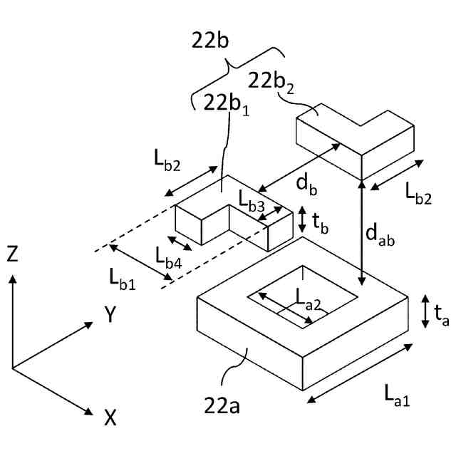
図2Aは、本実施形態における発光素子および偏光制御部材の例を模式的に示す斜視図である。
図2Bは、図2Aに示す一組の第1構造体および第2構造体を模式的に示す斜視図である。
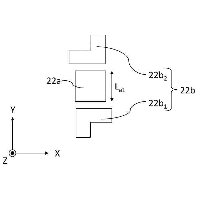
図2Cは、図2Bに示す構成の上面図である。
図3Aは、一組の第1構造体および第2構造体を模式的に示す斜視図である。
図3Bは、図3Aに示す構成の上面図である。
図4Aは、本実施形態における発光装置の構成例1を模式的に示すY方向から見たときの側面図である。
図4Bは、本実施形態における発光装置の構成例2を模式的に示すY方向から見たときの側面図である。
図4Cは、本実施形態における発光装置の構成例3を模式的に示すY方向から見たときの側面図である。
図4Dは、本実施形態における発光装置の構成例4を模式的に示すY方向から見たときの側面図である。
図5Aは、本実施形態によるディスプレイの構成例を模式的に示す斜視図である。
図5Bは、図5Aに示すディスプレイの分解斜視図である。
図5Cは、本実施形態による虚像表示装置の構成例を模式的に示す斜視図である。
図6Aは、本実施形態による発光装置の製造方法における工程の例を説明するための図である。
図6Bは、本実施形態による発光装置の製造方法における工程の例を説明するための図である。
図6Cは、本実施形態による発光装置の製造方法における工程の例を説明するための図である。
図6Dは、本実施形態による発光装置の製造方法における工程の例を説明するための図である。
図7Aは、計算例1における偏光制御部材に無偏光が入射する場合の、透過光の第1および第2偏光成分におけるエネルギー変換効率を示すグラフである。
図7Bは、計算例2における偏光制御部材に無偏光が入射する場合の、透過光の第1および第2偏光成分におけるエネルギー変換効率を示すグラフである。
図7Cは、計算例3における偏光制御部材に無偏光が入射する場合の、透過光の第1および第2偏光成分におけるエネルギー変換効率を示すグラフである。
【発明を実施するための形態】
【0009】
以下、図面を参照しながら、本開示の実施形態による発光装置を詳細に説明する。複数の図面に表れる同一符号の部分は同一または同等の部分を示す。
【0010】
さらに以下は、本開示の技術思想を具体化するために例示しているのであって、本開示を以下に限定しない。また、構成要素の寸法、材質、形状、その相対的配置などの記載は、本開示の範囲をそれのみに限定する趣旨ではなく、例示することを意図している。各図面が示す部材の大きさや位置関係などは、理解を容易にするなどのために誇張している場合がある。
(【0011】以降は省略されています)
この特許をJ-PlatPat(特許庁公式サイト)で参照する
関連特許
日亜化学工業株式会社
発光素子
6日前
日亜化学工業株式会社
発光装置
5日前
日亜化学工業株式会社
配置部材、及び、発光装置
5日前
日亜化学工業株式会社
発光装置、および面状光源
6日前
日亜化学工業株式会社
発光装置の製造方法及び発光装置
6日前
日亜化学工業株式会社
光源、発光モジュール、及び携帯端末
1日前
日亜化学工業株式会社
セラミックス基板の製造方法及び発光装置の製造方法
5日前
個人
半導体装置
7日前
東レ株式会社
太陽電池モジュール
7日前
エイブリック株式会社
半導体装置
13日前
富士電機株式会社
半導体装置
16日前
エイブリック株式会社
縦型ホール素子
1日前
エイブリック株式会社
縦型ホール素子
1日前
ローム株式会社
半導体装置
8日前
富士通株式会社
半導体装置
6日前
三菱電機株式会社
半導体装置
6日前
株式会社半導体エネルギー研究所
表示装置
1日前
ミツミ電機株式会社
半導体装置
13日前
日亜化学工業株式会社
発光装置
5日前
日亜化学工業株式会社
発光素子
6日前
TDK株式会社
圧電素子
6日前
日亜化学工業株式会社
発光素子
14日前
富士電機株式会社
半導体装置の製造方法
今日
サンケン電気株式会社
半導体装置
12日前
ローム株式会社
半導体装置
14日前
TDK株式会社
光検知装置
13日前
ローム株式会社
TVSダイオード
14日前
ローム株式会社
TVSダイオード
14日前
株式会社東芝
熱電変換装置
14日前
デクセリアルズ株式会社
受光装置
12日前
ローム株式会社
窒化物半導体装置
1日前
キオクシア株式会社
記憶装置
12日前
沖電気工業株式会社
発光装置及び表示装置
7日前
内山工業株式会社
太陽電池
12日前
株式会社カネカ
太陽電池モジュール
14日前
株式会社カネカ
太陽電池モジュール
5日前
続きを見る
他の特許を見る