TOP特許意匠商標
特許ウォッチ Twitter
10個以上の画像は省略されています。
公開番号2025147738
公報種別公開特許公報(A)
公開日2025-10-07
出願番号2024048136
出願日2024-03-25
発明の名称イオントラップ装置及びイオントラップシステム
出願人国立大学法人 東京大学
代理人弁理士法人ドライト国際特許事務所
主分類H01J 3/40 20060101AFI20250930BHJP(基本的電気素子)
要約【課題】電気環境と熱環境を改善する光回路一体型イオントラップを実現させる。
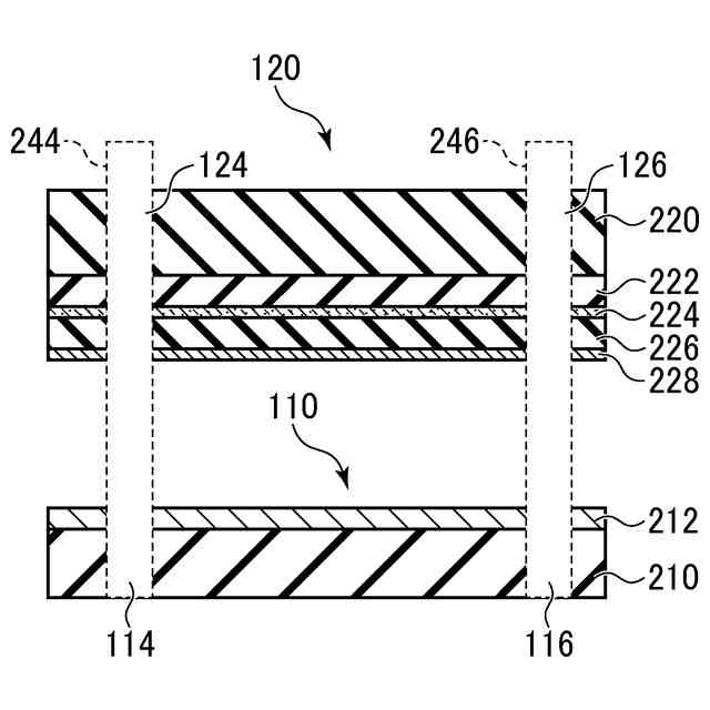
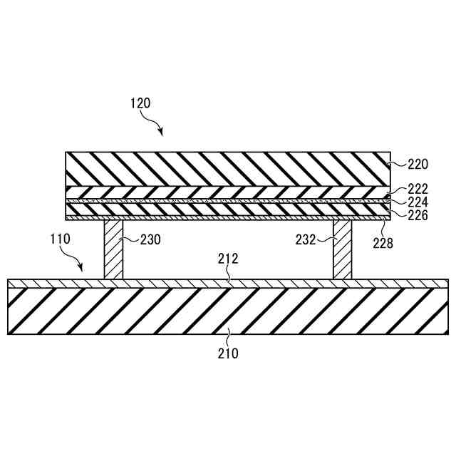
【解決手段】イオントラップ装置100は、複数の電極を有し、複数の電極に交流電圧及び直流電圧を印加することによって原子イオンを空間的に捕獲するトラップチップ110と、原子イオンに電磁波を照射する照射部を有する光回路チップ120とを備える。トラップチップ110と光回路チップ120とは、トラップチップ110と光回路チップ120との間が中空になるようにフリップチップ集積されており、トラップチップ110は、当該中空に原子イオンを浮遊させる。
【選択図】図1


特許請求の範囲【請求項1】
複数の電極を有し、前記複数の電極に交流電圧及び直流電圧を印加することによって原子イオンを空間的に捕獲するトラップチップと、
前記原子イオンに電磁波を照射する照射部を有する光回路チップと、を備え、
前記トラップチップと前記光回路チップとは、前記トラップチップと前記光回路チップとの間が中空になるようにフリップチップ集積されており、
前記トラップチップは、前記中空に前記原子イオンを浮遊させる、イオントラップ装置。
続きを表示(約 620 文字)【請求項2】
前記光回路チップは、前記トラップチップ側の少なくとも前記照射部以外の領域に、前記光回路チップを保護するための金属保護膜を有する、請求項1に記載のイオントラップ装置。
【請求項3】
前記光回路チップは、前記原子イオンを観察するためのスリットを有する、請求項1に記載のイオントラップ装置。
【請求項4】
前記光回路チップは、透明基板を有し、前記透明基板上に少なくとも前記照射部が設けられている、請求項1に記載のイオントラップ装置。
【請求項5】
前記トラップチップと前記光回路チップとは、スペーサを介して面直方向に位置合わせされている、請求項1に記載のイオントラップ装置。
【請求項6】
前記トラップチップは、前記光回路チップと面内方向に位置合わせするための少なくとも3個の穴を有し、
前記光回路チップは、前記トラップチップと面内方向に位置合わせするための少なくとも3個の穴を有し、
前記トラップチップの前記少なくとも3個の穴と前記光回路チップの前記少なくとも3個の穴に、それぞれ3個の位置合わせ用部品が挿入されている、請求項1に記載のイオントラップ装置。
【請求項7】
請求項1~6の何れか1項に記載のイオントラップ装置と、
前記原子イオンの量子状態を検出するための光検出装置と、
を備える、イオントラップシステム。

発明の詳細な説明【技術分野】
【0001】
本発明は、イオントラップ装置と、当該イオントラップ装置を備えるイオントラップシステムに関する。
続きを表示(約 2,100 文字)【背景技術】
【0002】
近年、多くの量子技術の中で、高い量子操作精度、均質性、及び光接続の実現可能性から、量子計算と量子通信の双方に有望なプラットフォームとしてイオントラップ量子技術が注目されている。イオントラップ量子技術は、極高真空中で電磁場により原子イオンを浮遊させ、レーザ、マイクロ波等の電磁波により原子イオンの量子状態を制御するものである。
【0003】
従来のイオントラップ量子技術では、多数の光学素子を除振台の上に固定した自由空間光学系が用いられていた。イオントラップ量子技術のモジュール化と多数の量子ノードの接続を実現させるため、近年、従来の自由空間光学系を、小さなチップ上の光学素子からなる光回路で置き換え、光回路とイオントラップとを一体化させた技術が提案されている。
【0004】
例えば、非特許文献1には、イオントラップのための基板電極(以下、「トラップチップ」と呼ぶ。)に窓穴を設け、トラップチップ直下にグレーティング等の光出射素子を実装し、トラップチップによって捕獲された原子イオンに向けて光出射素子から窓穴を介してレーザを照射することが開示されている。非特許文献2には、トラップチップに設けた比較的大きな窓穴に原子イオンの量子状態を測定するための超伝導細線単一光子検出器(superconducting nanowire single-photon detector(SNSPD))を配置し、基板全体を低温に冷却させて動作させる技術が開示されている。
【先行技術文献】
【非特許文献】
【0005】
R. J. Niffenegger, J. Stuart, C. Sorace-Agaskar, D. Kharas, S. Bramhavar, C. D. Bruzewicz, W. Loh, R. T. Maxson, R. McConnell, D. Reens, G. N. West, J. M. Sage, and J. Chiaverini, “Integrated multi-wavelength control of an ion qubit,” Nature volume 586, pp.538-542 (2020).
S. L. Todaro, V. B. Verma, K. C. McCormick, D. T. C. Allcock, R. P. Mirin, D. J. Wineland, S. W. Nam, A. C. Wilson, D. Leibfried, and D. H. Slichter, “State Readout of a Trapped Ion Qubit Using a Trap-Integrated Superconducting Photon Detector,” Phys. Rev. Lett. 126, 010501 (2021).
【発明の概要】
【発明が解決しようとする課題】
【0006】
しかしながら、従来の光回路一体型イオントラップでは、イオントラップのためのポテンシャルを形成するため、基板電極には少なくとも10Vのオーダーの振動電圧が常時印加されていることにより、以下の2つの問題が生じる。第1に、振動電圧により生じた電場がトラップチップ全体に満ちていることから、光回路の光学素子にノイズが乗り、誤作動を引き起こすおそれがある。第2に、振動電圧のパワー(1W~10Wのオーダー)のほぼ全てがトラップチップで消費されることから、チップ全体に温度上昇をもたらし、光学素子の性能が劣化するおそれがある。特に、非特許文献2に開示された超伝導体からなるSNSPDは、チップ全体の温度が上昇すると動作することができない。
【0007】
本発明は、上記課題に鑑みてなされたものであり、電気環境と熱環境を改善する光回路一体型イオントラップを実現させることを目的とする。
【課題を解決するための手段】
【0008】
本発明に係るイオントラップ装置は、複数の電極を有し、複数の電極に交流電圧及び直流電圧を印加することによって原子イオンを空間的に捕獲するトラップチップと、原子イオンに電磁波を照射する照射部を有する光回路チップと、を備える。トラップチップと光回路チップとは、トラップチップと光回路チップとの間が中空になるようにフリップチップ集積されており、トラップチップは、当該中空に原子イオンを浮遊させる。
【0009】
本発明に係るイオントラップシステムは、上述のイオントラップ装置と、原子イオンの量子状態を検出するための光検出装置と、を備える。
【発明の効果】
【0010】
本発明によれば、トラップチップと光回路チップとが、トラップチップと光回路チップとの間が中空になるようにフリップチップ集積されていることにより、イオントラップによる電場及び熱の影響を回避することができる。
【図面の簡単な説明】
(【0011】以降は省略されています)

この特許をJ-PlatPat(特許庁公式サイト)で参照する

関連特許

国立大学法人 東京大学
担持金属触媒
23日前
国立大学法人 東京大学
ガス処理方法
9日前
国立大学法人 東京大学
せん妄判定方法
1か月前
国立大学法人 東京大学
コンパレータ回路
13日前
国立大学法人 東京大学
微粒子分離システム
4か月前
国立大学法人 東京大学
ビーム追従システム
4日前
国立大学法人 東京大学
光学装置及びレーザー
3か月前
国立大学法人 東京大学
超音波モータシステム
1か月前
国立大学法人 東京大学
超音波モータシステム
1か月前
国立大学法人 東京大学
超音波モータシステム
1か月前
国立大学法人 東京大学
結晶、及びその製造方法
2か月前
AGC株式会社
組成物
3か月前
国立大学法人 東京大学
肝臓オルガノイド成熟培地
3日前
国立大学法人 東京大学
推定装置、及びプログラム
24日前
国立大学法人 東京大学
テラヘルツ帯同期検波回路
1か月前
国立大学法人 東京大学
テラヘルツ波帯位相変調回路
1か月前
国立大学法人 東京大学
読出回路及び磁気メモリ装置
23日前
国立大学法人 東京大学
嗅覚受容体の応答感度増強剤
2か月前
国立大学法人 東京大学
接着性細胞の浮遊培養用基材
9日前
NTT株式会社
圧力センサ
24日前
住友化学株式会社
原子力電池
4か月前
国立大学法人 東京大学
情報処理装置、及びプログラム
1か月前
国立大学法人 東京大学
ドローンを用いた配送システム
9日前
積水化学工業株式会社
酸素発生剤
1か月前
株式会社アイシン
有機酸除去方法
3か月前
国立大学法人 東京大学
光デバイス及びコヒーレント受信器
1か月前
古河電気工業株式会社
超電導モータ
1か月前
国立大学法人 東京大学
ホウ素含有化合物及びそれを含む医薬
2か月前
国立大学法人 東京大学
皮膚微生物叢を制御するための溶菌剤
3か月前
ダイキン工業株式会社
層及び構造体
3か月前
国立大学法人 東京大学
通信装置、制御方法、及びプログラム
3日前
国立大学法人 東京大学
静電容量式センサ及びロボットシステム
1か月前
国立大学法人 東京大学
肝臓オルガノイドを増殖させるための培地
4か月前
国立大学法人 東京大学
手指アシスト装置および関節動作支援方法
1か月前
一般財団法人電力中央研究所
直流遮断器
4か月前
太平洋セメント株式会社
セメント組成物
23日前
続きを見る