TOP
|
特許
|
意匠
|
商標
特許ウォッチ
Twitter
他の特許を見る
10個以上の画像は省略されています。
公開番号
2025044074
公報種別
公開特許公報(A)
公開日
2025-04-01
出願番号
2023151769
出願日
2023-09-19
発明の名称
タンクモジュール
出願人
国立大学法人東京農工大学
,
国立大学法人 東京大学
代理人
個人
,
個人
,
個人
,
個人
,
個人
主分類
F17C
13/08 20060101AFI20250325BHJP(ガスまたは液体の貯蔵または分配)
要約
【課題】本発明は、十分な強度を担保しつつ、軽量化、低コスト化、形状の自由度向上をなし得たタンクモジュールの提供を課題とする。
【解決手段】本発明の一態様に係るタンクモジュールは、円筒状のシリンダ部を有し、前記シリンダ部の軸方向両端部に設けられるドーム部と、前記ドーム部に設けられる口金部と、前記シリンダ部の軸方向両端側のドーム部の外側に設けられるハウジング部材のうち、全てを別体または2つ以上を一体化した状態で備え、前記シリンダ部に隣接して前記シリンダ部の軸方向両端側の前記ハウジング部材どうしを連結した軸力部材を備えたことを特徴とする。
【選択図】図3
特許請求の範囲
【請求項1】
円筒状のシリンダ部を有し、
前記シリンダ部の軸方向一端部に設けられるドーム部と、前記ドーム部に設けられる口金部と、前記シリンダ部の軸方向一端部側のドーム部の外側に設けられるハウジング部材のうち、全てを別体または2つ以上を一体化した状態で備え、
前記シリンダ部の軸方向他端部に設けられるドーム部と、前記ドーム部に設けられる口金部と、前記シリンダ部の軸方向他端部側のドーム部の外側に設けられるハウジング部材のうち、全てを別体または2つ以上を一体化した状態で備え、
前記シリンダ部に隣接して前記シリンダ部の軸方向両端側に位置する前記ハウジング部材どうしを連結した軸力部材を備えた、
タンクモジュール。
続きを表示(約 1,100 文字)
【請求項2】
前記ハウジング部材の間に、複数の前記シリンダ部が並列配置され、前記軸力部材が前記ハウジング部材の間に複数連結された、
請求項1に記載のタンクモジュール。
【請求項3】
前記ハウジング部材の前記ドーム部側の面に、前記ドーム部を収容する凹部が設けられた、
請求項1または請求項2に記載のタンクモジュール。
【請求項4】
前記シリンダ部の外周側に、繊維強化プラスチック複合材料からなるフープ層もしくは高角度ヘリカル層を備えた保護層を有する、
請求項1または請求項2に記載のタンクモジュール。
【請求項5】
前記軸力部材が、前記シリンダ部の軸方向両端側の前記ハウジング部材に個々に固定された端末具と、前記シリンダ部の軸方向両端側の前記端末具どうしに連結された索条体あるいは板材と
を備えた、
請求項1または請求項2に記載のタンクモジュール。
【請求項6】
前記軸力部材が、
前記シリンダ部の軸方向片端側の前記ハウジング部材の複数個所であって、前記シリンダ部の径方向の両側に位置するように前記ハウジング部材に取り付けられた複数の端末具と、
前記径方向の一側の端末具に一端部を固定し、前記径方向の他側の端末具に他端部を固定し、前記一端部と前記他端部の間の部分で前記シリンダ部の一側側面と、前記端末具を設けていない側の前記ハウジング部材と、前記シリンダ部の他側側面を周回する索条体あるいは板材を備えた、
請求項1または請求項2に記載のタンクモジュール。
【請求項7】
前記軸力部材が、
前記シリンダ部の軸方向一端側のハウジング部材と、前記シリンダ部の径方向一側の面と、前記シリンダ部の軸方向他端側のハウジング部材と、前記シリンダ部の径方向他側の面に渡って周回されたリング状の部材からなる、
請求項1または請求項2に記載のタンクモジュール。
【請求項8】
前記軸力部材が、
前記シリンダ部の軸方向一端側のハウジング部材に形成された係合部と、前記シリンダ部の軸方向他端側のハウジング部材に形成された係合部とを周回する索条体あるいは板材であり、
前記係合部が前記シリンダ部の径方向一側と径方向他側にそれぞれ形成され、
前記係合部を周回した前記索条体あるいは前記板材が前記シリンダ部の径方向一側と前記シリンダ部の径方向他側にそれぞれ設けられた、
請求項1または請求項2に記載のタンクモジュール。
発明の詳細な説明
【技術分野】
【0001】
本発明は、タンクモジュールに関する。
続きを表示(約 2,400 文字)
【背景技術】
【0002】
水素等の気体を貯蔵するための圧力容器が知られている。
特許文献1では、アルミニウム製の筒状ライナーを並列状に複数設置し、設置した複数のライナーの両端部に跨って設けられたエンドプレートと、隣接する複数のライナーの内部どうしを連通させるドーム状の連通部材を備えた圧力容器が開示されている。
特許文献2では、車両スペースに合わせた径の胴体部を複数有し、複数の胴体部の開口を連通する連通流路を備えた口金で隣接する複数の胴体部の開口を閉じた構成の高圧容器が開示されている。
特許文献3では、円筒状胴体部の開口を閉塞し、胴体部の軸方向に添って変位可能とした口金を有する高圧容器が開示されている。
【先行技術文献】
【特許文献】
【0003】
特開2006-038155号公報
特開2018-112201号公報
特開2018-119579号公報
【発明の概要】
【発明が解決しようとする課題】
【0004】
現在実用化されている燃料電池(FC)自動車などに適用される高圧水素圧力容器は、樹脂製の円筒状のシリンダ部およびドーム部の内張に、炭素繊維強化プラスチック複合材料(CFRP)を備えた構成の圧力容器が一般的である。
円筒状のシリンダ内張の両端開口部は樹脂製のドーム部の内張により閉塞され、ドーム部には貯蔵物を取り出すための金属製の口金部やバルブが一体化されている。
この種の高圧水素圧力容器において、水素を高圧充填して生じる圧力は、シリンダ部およびドーム部の内張の外側に設けた炭素繊維強化プラスチック複合材料が主に受けるようになっている。例えば、シリンダの軸方向に対する圧力は、シリンダの長手方向に添って若干の傾斜角度を有するようにシリンダからドーム部側を周回するように低角度ヘリカル巻きやインプレーン巻きとした強化繊維が受ける。また、シリンダの周方向に配したフープ巻きの強化繊維が、あるいは、シリンダの長手方向に高い傾斜角度となるように高角度ヘリカル巻きした強化繊維が、シリンダの径方向に生じる圧力を主に受ける。
【0005】
高圧水素圧力容器の製造においては、炭素繊維強化プラスチック複合材料を、内張の周囲に巻き付けて容器を製造するフィラメントワインディング法(FW法)が主流である。
しかし、FW法による一体形成には時間がかかるので、FW法は量産には適していない製造方法である。例えば、強化繊維を巻き付けるには一筆書きの要領での内張の全周に隙間ない巻き付けを実施する必要がある。このため、従来の高圧水素圧力容器の製造では、口金部周りに強化繊維が過剰に配置される傾向がある。また、ドーム部を形成するために必要な低角度ヘリカル巻きやインプレーン巻きを行うと、シリンダ部の低角度ヘリカル巻きやインプレーン巻きが過剰に配置される傾向がある。このため、容器の軽量化、低コスト化が難しく、形状自由度の向上もなされていないのが現状である。
【0006】
本発明は、前述した事情に鑑み、なされたものであって、水素などの貯蔵用途に好適であり、軽量かつ低価格であり、生産性に優れた組み立て可能なタンクモジュールの提供を課題とする。
【課題を解決するための手段】
【0007】
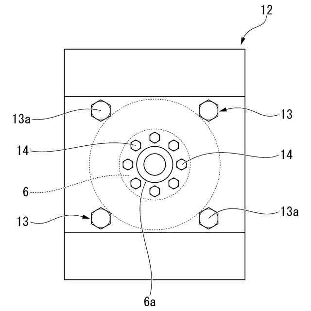
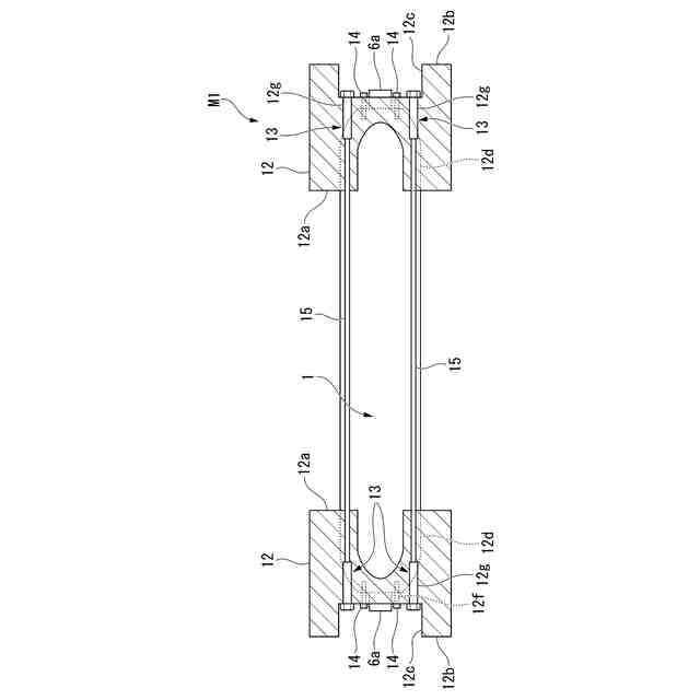
<1>本発明の態様1に係るタンクモジュールは、円筒状のシリンダ部を有し、前記シリンダ部の軸方向一端部に設けられるドーム部と、前記ドーム部に設けられる口金部と、前記シリンダ部の軸方向一端部側のドーム部の外側に設けられるハウジング部材のうち、全てを別体または2つ以上を一体化した状態で備え、前記シリンダ部の軸方向他端部に設けられるドーム部と、前記ドーム部に設けられる口金部と、前記シリンダ部の軸方向他端部側のドーム部の外側に設けられるハウジング部材のうち、全てを別体または2つ以上を一体化した状態で備え、前記シリンダ部に隣接して前記シリンダ部の軸方向両端側に位置する前記ハウジング部材どうしを連結した軸力部材を備えた、ことを特徴とする。
【0008】
この発明では、シリンダ部の両端側にそれぞれ設けるドーム部と口金部とハウジング部材をすべて別体あるいは2つ以上を一体化した状態で備え、シリンダ部の軸方向両端側に設けたハウジング部材どうしを軸力部材で連結した。このため、シリンダ部に水素などの内容物を充填し、シリンダ部の軸方向に引張力が作用すると、ハウジング部材を連結した軸力部材が引張力に対抗する。
従って、シリンダ部に炭素繊維強化プラスチック複合材料などを配置してシリンダ部の強度を向上させる構造とする場合、強度向上に寄与する炭素繊維強化プラスチック複合材料を削減でき、軽量化、低価格化が可能となる。例えば、シリンダ部の軸方向荷重負荷のための炭素繊維強化プラスチック複合材料を省略できるので、優れた生産性に帰結する。
【0009】
<2>本発明の態様2に係るタンクモジュールは、前記ハウジング部材の間に、複数の前記シリンダ部が並列配置され、前記軸力部材が前記ハウジング部材の間に複数連結された構成を採用できる。
【0010】
ハウジング部材の間に複数のシリンダ部を配置することにより、タンクモジュールとしての大容量化をなし得、タンクモジュールとして形状の自由度を向上できる。複数のシリンダ部に対応した複数の軸力部材を設けることで、大容量化をなし得た上に、各シリンダ部に配置する軸方向荷重負荷用の炭素繊維強化プラスチック複合材料を省略することができ、軽量化、低価格化に寄与する。
(【0011】以降は省略されています)
この特許をJ-PlatPat(特許庁公式サイト)で参照する
関連特許
国立大学法人東京農工大学
深共晶溶媒
2か月前
国立大学法人東京農工大学
温度調節装置
2か月前
国立大学法人東京農工大学
ヒアルロン酸産生促進剤
3か月前
国立大学法人東京農工大学
パーム酸油の骨格異性化による改質方法
5か月前
国立大学法人東京農工大学
カラーコンタクトレンズおよびその製造方法
2か月前
国立大学法人東京農工大学
リン脂質構造体の形態制御方法およびリン脂質構造体
2か月前
株式会社ワコム
自動採点装置、プログラム、及びシステム
2か月前
国立大学法人東京農工大学
両親媒性化合物、リン脂質構造体、およびリン脂質構造体の製造方法
2か月前
三機工業株式会社
下水汚泥焼却灰の肥料化方法
3日前
株式会社ノベルクリスタルテクノロジー
単結晶膜の製造方法及び単結晶膜
4か月前
イスクラ産業株式会社
膀胱がん用抗がん剤の製造方法
1か月前
国立大学法人東京農工大学
活性エネルギー線硬化性コーティング剤用組成物、抗菌性組成物、抗菌性硬化物
1か月前
国立大学法人東京農工大学
プロピオン酸菌発酵物含有組成物
17日前
大陽日酸株式会社
エピタキシャル膜の製造方法、気相成長装置及びエピタキシャル膜
11日前
国立大学法人 東京大学
非ヒト哺乳動物の腫瘍に対する分子標的抗腫瘍剤のスクリーニング方法
2か月前
個人
酵素連結型アプタマ、ポリアミン検出試薬、ポリアミン検出装置及びポリアミン検出方法
2か月前
株式会社石井鐵工所
低温タンクの揚液装置
6か月前
株式会社石井鐵工所
低温タンクの揚液装置
4か月前
川崎重工業株式会社
竪型タンク
5か月前
川崎重工業株式会社
三重殻タンク
8か月前
川崎重工業株式会社
三重殻タンク
8か月前
川崎重工業株式会社
極低温流体用配管設備
1か月前
株式会社神戸製鋼所
ガス供給システム
11か月前
川崎重工業株式会社
液化水素貯蔵タンク
9か月前
トヨタ自動車株式会社
水素タンク
4か月前
川崎重工業株式会社
液化水素貯蔵タンク
9か月前
大日本印刷株式会社
ガス充填容器
9か月前
川崎重工業株式会社
液化ガス貯蔵タンク
9か月前
那須電機鉄工株式会社
水素吸蔵合金タンク
9か月前
帝人株式会社
繊維補強圧力容器及びその製造方法
3か月前
株式会社タツノ
充填ノズル
2か月前
株式会社タツノ
充填ノズル
1か月前
岩谷産業株式会社
燃料ガス充填設備
1か月前
トヨタ自動車株式会社
水素充填装置
5か月前
株式会社神戸製鋼所
水素吸蔵合金容器
3か月前
豊田合成株式会社
圧力容器
7か月前
続きを見る
他の特許を見る