TOP
|
特許
|
意匠
|
商標
特許ウォッチ
Twitter
他の特許を見る
10個以上の画像は省略されています。
公開番号
2025147208
公報種別
公開特許公報(A)
公開日
2025-10-06
出願番号
2025132031,2024189022
出願日
2025-08-07,2019-03-28
発明の名称
エアロゾルをデリバリーする加熱式物品、加熱式製品
出願人
日本たばこ産業株式会社
代理人
弁理士法人秀和特許事務所
主分類
A24D
1/20 20200101AFI20250926BHJP(たばこ;葉巻たばこ;紙巻たばこ;喫煙具)
要約
【課題】たばこ原料及びエアロゾル生成基材を含むたばこ充填材と当該たばこ充填材を巻き取る巻紙を有するたばこロッドを備えた加熱式たばこおよびその製造方法において、エアロゾルのデリバリー量が優れ、且つ、たばこ充填材に対するヒーターの円滑な挿入を可能とする技術を提供する。
【解決手段】たばこ充填材と当該たばこ充填材を巻き取る巻紙とを有するたばこロッドを備える加熱式たばこであって、たばこ充填材は、エアロゾル生成基材およびたばこ原料を含み且つストランド形状を有する、複数のたばこストランドを有し、複数のたばこストランドは、たばこロッドの長軸方向に沿って延伸するように整列して配置されている。
【選択図】図1
特許請求の範囲
【請求項1】
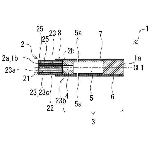
エアロゾル形成基材を含む充填材を含む棒状部材と、
前記棒状部材の後端と当接した状態で配置された支持部と、
前記支持部の後端と当接した状態で配置された冷却部と、
前記冷却部の後端と当接した状態で配置されたフィルタ部と、
を備え、
前記充填材は、前記棒状部材の長軸方向に沿って延伸するように形成されている複数のエアロゾル流路を有し、
前記支持部は、センターホールが貫通形成された中空の管体であり、
前記冷却部は、長手方向に沿って貫通孔が形成された中空管であり、前記棒状部材から放出された揮発性物質を下流側に流すと共に当該揮発性物質を冷却し、
前記冷却部は、外部の空気を導入可能な通気孔を有し、
前記貫通孔の直径は、前記センターホールの直径よりも大きい、
エアロゾルをデリバリーする加熱式物品。
続きを表示(約 820 文字)
【請求項2】
前記支持部を形成する中空の管体はセルロースアセテートによって構成されており、前記冷却部を形成する中空管は中空の紙管によって構成されている、
請求項1に記載のエアロゾルをデリバリーする加熱式物品。
【請求項3】
前記フィルタ部は、円柱状に形成されたフィルタ材料を有する、
請求項1又は2に記載のエアロゾルをデリバリーする加熱式物品。
【請求項4】
前記エアロゾル形成基材は、グリセリン、プロピレングリコール、トリアセチン、1,3-ブタンジオールの何れかを含む、請求項1から3の何れか一項に記載のエアロゾルをデリバリーする加熱式物品。
【請求項5】
前記棒状部材における前記エアロゾル形成基材の含有率は、10wt%以上25wt%以下である、請求項1から4の何れか一項に記載のエアロゾルをデリバリーする加熱式物品。
【請求項6】
前記充填材はたばこ原料を含む、請求項1から5の何れか一項に記載のエアロゾルをデリバリーする加熱式物品。
【請求項7】
前記充填材は、押出し法によって製造されたたばこ原料を含む、請求項7に記載のエアロゾルをデリバリーする加熱式物品。
【請求項8】
前記たばこ原料は、たばこ中骨、たばこラミナ、たばこ刻み、タバコ細粉の何れかを含む、請求項6又は7に記載のエアロゾルをデリバリーする加熱式物品。
【請求項9】
前記棒状部材を占める前記充填材の体積充填率は、50vol%以上80vol%以下である、請求項1から8の何れか一項に記載のエアロゾルをデリバリーする加熱式物品。
【請求項10】
請求項1から9の何れか一項に記載の前記加熱式物品と、前記加熱式物品を挿入する収容キャビティを有する加熱装置と、を含む加熱式製品。
(【請求項11】以降は省略されています)
発明の詳細な説明
【技術分野】
【0001】
本発明は、加熱式たばこ、加熱式たばこ製品、加熱式たばこにおけるたばこロッドの製造方法および製造装置に関する。
続きを表示(約 1,600 文字)
【背景技術】
【0002】
たばこ原料(例えば、たばこ刻み、たばこ顆粒、再構成たばこ材料等)及びエアロゾル生成基材(グリセリン、プロピレングリコール等)を含むたばこ充填材を巻紙の内側に充填して形成されたたばこロッドを有する加熱式たばこが知られている(例えば、特許文献1を参照)。この種の加熱式たばこは、加熱装置におけるヒーターによってたばこ充填材を燃焼させることなく加熱し、たばこ充填材において生成されたエアロゾルを使用者にデリバリーするタイプのたばこ物品である。ヒーターとしては、ブレード状やロッド状など、様々な形状のヒーターが実用化されており、使用時にたばこロッドの先端面からヒーターを挿入することでたばこロッドが加熱装置に装着される。
【先行技術文献】
【特許文献】
【0003】
特許第5920744号公報
特許第6000451号公報
特許第6017546号公報
特開昭62-272962号公報
【発明の概要】
【発明が解決しようとする課題】
【0004】
ここで、従来の加熱式たばこにおけるたばこロッドは、たばこ充填材におけるたばこ原料がランダムに配向されているため、加熱装置に加熱式たばこを装着する際、たばこ充填材に対するヒーターの円滑な挿入が困難となる場合がある。また、たばこ原料がランダム配向されているたばこ充填材を用いて加熱式たばこのたばこロッドを形成する場合、エアロゾル生成基材が揮発することで生成されたエアロゾルが、ランダム配向されたたばこ原料の低温部分に晒されることで凝縮したり、たばこ原料によって濾過され易く、口腔内へのエアロゾルのデリバリー量が減少する虞がある。
【0005】
本発明は、上記した実情に鑑みてなされたものであって、その目的は、たばこ原料及びエアロゾル生成基材を含むたばこ充填材と当該たばこ充填材を巻き取る巻紙を有するたばこロッドを備えた加熱式たばこおよびその製造方法において、エアロゾルのデリバリー量が優れ、且つ、たばこ充填材に対するヒーターの円滑な挿入を可能とする技術を提供することにある。
【課題を解決するための手段】
【0006】
上記課題を解決するための本発明は、たばこ原料をストランド状に成形することで得られる長尺のたばこストランドを、たばこロッドの長軸方向に沿って延伸するように多数配置する構造を採用するようにした。
【0007】
より詳しくは、本発明は、加熱式たばこにおけるたばこロッドを製造する製造方法であって、たばこ原料シートを搬送経路に沿って搬送しながら、当該たばこ原料シートを搬送経路に沿って連続的に複数のストランド状のたばこストランド連続体に裁断する裁断工程と、前記裁断工程で得られた前記複数のたばこストランド連続体をその搬送経路に沿って整列させた状態で巻紙によって包み込むことで、ロッド状のたばこロッド連続体を成形す
る成形工程と、前記成形工程で得られた前記たばこロッド連続体を、順次、個々のたばこロッドに切断する切断工程と、を含むことを特徴とする。
【0008】
ここで、前記たばこ原料シートは、エアロゾル生成基材を含むたばこ原料をシート状に成形して得られたものであっても良い。
【0009】
また、前記たばこ原料シートはボビンに巻き取られており、前記ボビンから連続的に繰り出されたたばこ原料シートが搬送経路に沿って搬送されても良い。
【0010】
加熱式たばこにおけるたばこロッドを製造する製造方法は、前記裁断工程において、それぞれ一定幅を有する複数のたばこストランド連続体が得られるように前記たばこ原料シートを裁断するようにしても良い。
(【0011】以降は省略されています)
この特許をJ-PlatPat(特許庁公式サイト)で参照する
関連特許
日本たばこ産業株式会社
香味吸引物品
20日前
日本たばこ産業株式会社
口腔用組成物
1か月前
日本たばこ産業株式会社
香味発生物品
20日前
日本たばこ産業株式会社
喫煙システム
1か月前
Future Technology株式会社
エアロゾル吸引カートリッジ
27日前
日本たばこ産業株式会社
香味吸引システム
1か月前
日本たばこ産業株式会社
香味吸引システム
1か月前
日本たばこ産業株式会社
低香味原料を含むたばこセグメント
20日前
日本たばこ産業株式会社
粒状再生セルロースを含有する口腔用組成物
1か月前
日本たばこ産業株式会社
香味発生物品および香味吸引システム
1か月前
日本たばこ産業株式会社
吸引器
2か月前
Future Technology株式会社
喫煙器具
27日前
日本たばこ産業株式会社
たばこ材料、その製造方法、および非燃焼加熱型喫煙物品
1か月前
Future Technology株式会社
タバコ充填物集積体
1か月前
Future Technology株式会社
喫煙具用カートリッジ
1か月前
Future Technology株式会社
喫煙具用カートリッジ
2か月前
Future Technology株式会社
喫煙具用カートリッジ
2か月前
Future Technology株式会社
喫煙具用カートリッジ
7日前
Future Technology株式会社
喫煙具用カートリッジ
1か月前
Future Technology株式会社
電子タバコカートリッジ
1か月前
Future Technology株式会社
被加熱芳香カートリッジ
29日前
Future Technology株式会社
電子タバコカートリッジ
1か月前
Future Technology株式会社
電子タバコカートリッジ
1か月前
Future Technology株式会社
電子タバコカートリッジ
2か月前
シェンチェン ギークベイプ テクノロジー カンパニー リミテッド
電子霧化装置
2か月前
Future Technology株式会社
加熱式タバコ用カートリッジ
1か月前
Future Technology株式会社
加熱式タバコ用カートリッジ
7日前
日本たばこ産業株式会社
非燃焼加熱型スティック、吸引システム
19日前
Future Technology株式会社
喫煙具用の柱状のカートリッジ
2か月前
日本たばこ産業株式会社
ヒータアッセンブリ及び容器
2か月前
日本たばこ産業株式会社
香味吸引器及び喫煙システム
1日前
日本たばこ産業株式会社
香味吸引器及び喫煙システム
13日前
日本たばこ産業株式会社
エアロゾル生成装置の電源ユニット
13日前
日本たばこ産業株式会社
エアロゾル生成装置の電源ユニット
8日前
日本たばこ産業株式会社
ヒータアッセンブリ及び香味吸引器
1か月前
日本たばこ産業株式会社
フィルタ、喫煙物品、及び煙流又はエアロゾルに含まれる特定成分を減少させる方法
20日前
続きを見る
他の特許を見る