TOP
|
特許
|
意匠
|
商標
特許ウォッチ
Twitter
他の特許を見る
公開番号
2025148585
公報種別
公開特許公報(A)
公開日
2025-10-07
出願番号
2025122988,2023563368
出願日
2025-07-23,2021-11-24
発明の名称
香味吸引器及び喫煙システム
出願人
日本たばこ産業株式会社
代理人
個人
,
個人
,
個人
,
個人
主分類
A24F
40/42 20200101AFI20250930BHJP(たばこ;葉巻たばこ;紙巻たばこ;喫煙具)
要約
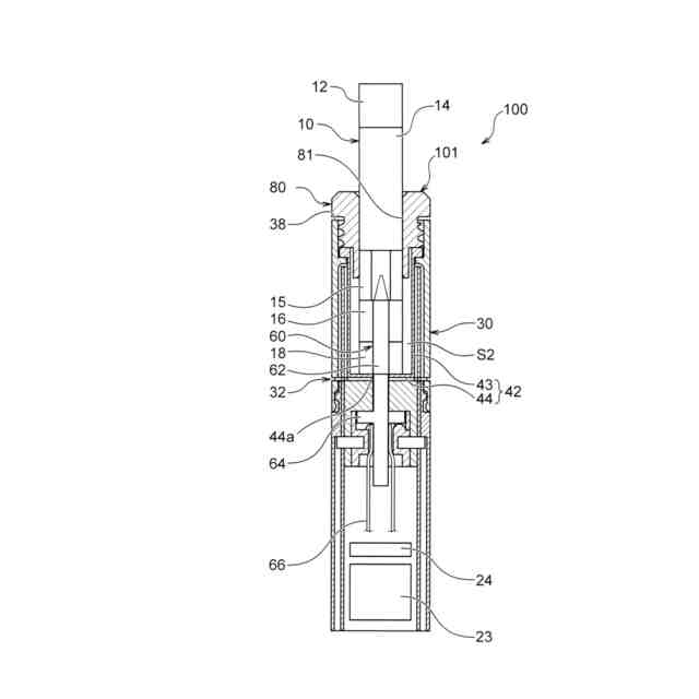
【課題】ストッパ要素への熱伝達を抑制し、また、喫煙可能物質の上流端への熱伝達を抑制する香味吸引器を提供する。
【解決手段】香味吸引器100は、喫煙可能物質16とストッパ要素18とを含む消費材の喫煙可能物質を収容する収容部42と、収容部に収容された喫煙可能物質に挿入されて、喫煙可能物質を内部から加熱するように構成されるヒータ62と、ヒータが喫煙可能物質に挿入されたときに形成されるヒータとストッパ要素との間の空隙S2と、を有する。
【選択図】図1
特許請求の範囲
【請求項1】
喫煙可能物質とストッパ要素とを含む消費材の前記喫煙可能物質を収容する収容部と、
前記収容部に収容された前記喫煙可能物質に挿入されて、前記喫煙可能物質を内部から加熱するように構成されるヒータと、
前記ヒータが前記喫煙可能物質に挿入されたときに形成される前記ヒータと前記ストッパ要素との間の空隙と、を有する、香味吸引器。
続きを表示(約 940 文字)
【請求項2】
請求項1に記載された香味吸引器において、
前記ヒータは、挿入方向に沿ってそれぞれ位置する発熱部及び非発熱部を有し、
前記空隙は、前記ヒータの非発熱部と前記ストッパ要素との間に位置する、香味吸引器。
【請求項3】
請求項2に記載された香味吸引器において、
前記発熱部は、前記非発熱部よりも前記ヒータの先端側に位置する、香味吸引器。
【請求項4】
請求項2又は3に記載された香味吸引器において、
前記発熱部は、抵抗発熱体と、前記抵抗発熱体の外面を覆うカバーと、を有する、香味吸引器。
【請求項5】
請求項1から4のいずれか一項に記載された香味吸引器において、
前記ヒータと前記ストッパ要素との間に配置され、前記ストッパ要素と接触し且つ前記ヒータから離間する壁部を有する、香味吸引器。
【請求項6】
請求項2を引用する請求項5に記載された香味吸引器において、
前記壁部は、前記非発熱部と挿入方向において重なるように位置し、前記非発熱部から離間する、香味吸引器。
【請求項7】
請求項5又は6に記載された香味吸引器において、
前記壁部は、前記ヒータの後端側から先端側に向かうにつれて径が小さくなるテーパ面を有する、香味吸引器。
【請求項8】
請求項5から7のいずれか一項に記載された香味吸引器において、
前記壁部と前記ヒータとの間に断熱部材を有する、香味吸引器。
【請求項9】
請求項1から4のいずれか一項に記載された香味吸引器において、
前記ヒータは、挿入方向に沿ってそれぞれ位置する第1部分と、前記第1部分より断面積の小さい第2部分とを有し、
前記第1部分は、前記第2部分よりも前記ヒータの先端側に位置し、
前記空隙は、前記第2部分と前記ストッパ要素との間に位置する、香味吸引器。
【請求項10】
請求項2を引用する請求項9に記載された香味吸引器において、
前記第2部分は、前記非発熱部を含む、香味吸引器。
(【請求項11】以降は省略されています)
発明の詳細な説明
【技術分野】
【0001】
本発明は、香味吸引器及び喫煙システムに関する。
続きを表示(約 1,400 文字)
【背景技術】
【0002】
従来、材料の燃焼をすることなく香味等を吸引するための香味吸引器が知られている。このような香味吸引器として、例えば、喫煙物品を収容するチャンバをハウジング内に備えた電気加熱式エアロゾル発生システムが知られている(特許文献1)。
【先行技術文献】
【特許文献】
【0003】
特許第5963375号
【発明の概要】
【発明が解決しようとする課題】
【0004】
特許文献1に開示されるような電気加熱式エアロゾル発生システムでは、喫煙可能物質にピン又はブレード状の加熱器が挿入されて、喫煙可能物質が加熱器によって加熱される。喫煙可能物質を加熱器に対して抜き差しするとき喫煙可能物質には軸方向(加熱器の挿入方向)に応力が加わる。このため、加熱器の挿抜に伴って喫煙可能物質が消費材からこぼれないように、消費材の先端にフィルタ等のストッパ要素を設けることがある。しかしながら、フィルタ等のストッパ要素は熱に対して溶解又は損傷しやすい。このため、喫煙可能物質は十分に加熱する一方で、ストッパ要素への熱伝達を抑制することが好ましい。また、消費材の先端にストッパ要素を備えておらず、喫煙可能物質が消費材の先端まで延在する場合においては、喫煙可能物の上流端が他の部分と同様に加熱されると、上流端からエアロゾルが空気流路の上流側に逆流する恐れがある。
【0005】
本発明の目的の一つは、ストッパ要素への熱伝達を抑制することである。本発明の目的の他の一つは、喫煙可能物質の上流端への熱伝達を抑制することである。
【課題を解決するための手段】
【0006】
第1態様によれば、香味吸引器が提供される。この香味吸引器は、喫煙可能物質とストッパ要素とを含む消費材の前記喫煙可能物質を収容する収容部と、前記収容部に収容された前記喫煙可能物質に挿入されて、前記喫煙可能物質を内部から加熱するように構成されるヒータと、前記ヒータが前記喫煙可能物質に挿入されたときに形成される前記ヒータと前記ストッパ要素との間の空隙と、を有する。
【0007】
第1態様によれば、ヒータがストッパ要素から少なくとも部分的に離間するので、ヒータによって喫煙可能物質を加熱しながら、ストッパ要素への熱伝達を抑制することができる。したがって、ストッパ要素の溶解又は損傷を抑制でき且つ、ストッパ要素への熱伝達による熱損失も抑制できる。なお、空隙は、ヒータの全周に亘って存在することが好ましい。この場合、ストッパ要素への熱伝達を一層抑制することができる。
【0008】
第2態様は、第1態様において、前記ヒータは、挿入方向に沿ってそれぞれ位置する発熱部及び非発熱部を有し、前記空隙は、前記ヒータの非発熱部と前記ストッパ要素との間に位置する、ことを要旨とする。
【0009】
第2態様によれば、喫煙可能物質の加熱の寄与が小さい非発熱部とストッパ要素との間に空隙が設けられるので、喫煙可能物質を発熱部で加熱して十分なエアロゾルを発生させながら、ストッパ要素への熱伝達を一層抑制できる。
【0010】
第3態様は、第2態様において、前記発熱部は、前記非発熱部よりも前記ヒータの先端側に位置する、ことを要旨とする。
(【0011】以降は省略されています)
この特許をJ-PlatPat(特許庁公式サイト)で参照する
関連特許
日本たばこ産業株式会社
香味吸引物品
1か月前
日本たばこ産業株式会社
香味発生物品
1か月前
Future Technology株式会社
エアロゾル吸引カートリッジ
1か月前
日本たばこ産業株式会社
低香味原料を含むたばこセグメント
1か月前
Future Technology株式会社
たばこ用組成物、E-リキッド、たばこ製品
9日前
Future Technology株式会社
喫煙器具
1か月前
日本たばこ産業株式会社
たばこ材料、その製造方法、および非燃焼加熱型喫煙物品
2か月前
Future Technology株式会社
芳香カートリッジ
24日前
Future Technology株式会社
タバコ充填物集積体
2か月前
Future Technology株式会社
喫煙具用カートリッジ
2か月前
Future Technology株式会社
喫煙具用カートリッジ
1か月前
Future Technology株式会社
電子タバコカートリッジ
15日前
Future Technology株式会社
電子タバコカートリッジ
2か月前
Future Technology株式会社
被加熱芳香カートリッジ
2か月前
Future Technology株式会社
電子タバコカートリッジ
2か月前
Future Technology株式会社
加熱式タバコ用カートリッジ
2か月前
Future Technology株式会社
加熱式タバコ用カートリッジ
1か月前
日本たばこ産業株式会社
非燃焼加熱型スティック、吸引システム
1か月前
ケーティー アンド ジー コーポレイション
エアロゾル生成システム
24日前
日本たばこ産業株式会社
香味吸引器及び喫煙システム
1か月前
日本たばこ産業株式会社
香味吸引器及び喫煙システム
1か月前
日本たばこ産業株式会社
吸引装置、制御方法、及びプログラム
15日前
日本たばこ産業株式会社
吸引装置、制御方法、及びプログラム
15日前
日本たばこ産業株式会社
エアロゾル生成装置の電源ユニット
1か月前
日本たばこ産業株式会社
エアロゾル生成装置の電源ユニット
1か月前
日本たばこ産業株式会社
フィルタ、喫煙物品、及び煙流又はエアロゾルに含まれる特定成分を減少させる方法
1か月前
日本たばこ産業株式会社
飽和脂肪酸系添加剤を含むたばこ組成物
24日前
ケーティー アンド ジー コーポレイション
エアロゾル生成装置
24日前
日本たばこ産業株式会社
加熱アセンブリ及びこれを備えた香味吸引器
1か月前
ケーティー アンド ジー コーポレイション
エアロゾル生成装置
2か月前
ケーティー アンド ジー コーポレイション
エアロゾル生成装置
1か月前
日本たばこ産業株式会社
エアロゾルをデリバリーする加熱式物品、加熱式製品
1か月前
ケーティー アンド ジー コーポレイション
低発火性エアロゾル発生物品
1か月前
インペリアル、タバコ、リミテッド
喫煙代用システム
2か月前
インペリアル、タバコ、リミテッド
喫煙代用システム
2か月前
フィリップ・モーリス・プロダクツ・ソシエテ・アノニム
エアロゾル発生物品
1か月前
続きを見る
他の特許を見る