TOP
|
特許
|
意匠
|
商標
特許ウォッチ
Twitter
他の特許を見る
10個以上の画像は省略されています。
公開番号
2025133830
公報種別
公開特許公報(A)
公開日
2025-09-11
出願番号
2025111501,2021074092
出願日
2025-07-01,2021-04-26
発明の名称
喫煙器具
出願人
Future Technology株式会社
代理人
主分類
A24F
40/46 20200101AFI20250904BHJP(たばこ;葉巻たばこ;紙巻たばこ;喫煙具)
要約
【課題】エアロゾル形成基材の加熱ムラを抑制できる喫煙器具を提供する。
【解決手段】本発明に係る喫煙具用(1)は、エアロゾル形成基材(60)を加熱する喫
煙器具であって、喫煙器具の内部に空気を取り込むための取込口(11)と、取込口から
取り込まれた空気の流れの下流側に設けられ、エアロゾル形成基材を収納する収納空間(
SP3)と、空気の流れの上流側に設けられた熱源空間(SP4)と、熱源空間に設けら
れ、熱源空間内の空気を加熱する第1発熱素子(第1加熱源)(20b)と、を備える。
【選択図】図9
特許請求の範囲
【請求項1】
エアロゾル形成基材を加熱する喫煙器具であって、
前記喫煙器具の内部に空気を取り込むための取込口と、
前記取込口から取り込まれた空気の流れの下流側に設けられ、前記エアロゾル形成基材
を収納する収納空間と、
前記取込口から取り込まれた空気の流れの上流側に設けられた熱源空間と、
前記熱源空間に設けられ、前記熱源空間内の空気を加熱する第1加熱源と、
前記収納空間に設けられ、前記収納空間に収納された前記エアロゾル形成基材を加熱する第2加熱源を備えたことを特徴とする喫煙器具。
発明の詳細な説明
【技術分野】
【0001】
本発明は、喫煙器具に関する。
続きを表示(約 2,800 文字)
【背景技術】
【0002】
近年、火炎を用いることなく、タバコの成分を含むタバコカートリッジを加熱して、気
化したタバコ成分を吸引する方式のタバコ製品が広く知られている。また、嗜好の多様化
から、タバコ成分を含まない植物の芳香や味わいを、タバコ同様に火炎を用いずに楽しむ
ためのカートリッジ製品も知られ始めている。
【0003】
このようなカートリッジ製品は、加熱式の喫煙器具に挿入されて使用される。喫煙器具
には、カートリッジ製品に充填されたエアロゾル形成基材を加熱する例えばブレード形状
の加熱体が設けられる(特許文献1参照)。喫煙器具の挿入口からカートリッジ製品が挿
入されると、加熱体がカートリッジ製品のエアロゾル形成基材に挿入された状態となる。
この状態でユーザが喫煙器具のスイッチを入れると、加熱体が発熱してエアロゾル形成基
材が加熱されることでエアロゾルが生成される。
【先行技術文献】
【特許文献】
【0004】
特表2018-504130号公報
【発明の概要】
【発明が解決しようとする課題】
【0005】
特許文献1に記載の電気加熱式エアロゾル発生装置(喫煙器具)では、加熱体のヒータ
がセラミック材料等から成るヒータマウントの表面における特定の位置に設けられている
。そのため、このヒータと接触する範囲内のエアロゾル形成基材の部分と、このヒータと
接触しない範囲内のエアロゾル形成基材の部分とで加熱ムラが生じる。
【0006】
本発明は、このような実情に鑑みてなされたもので、その目的は、エアロゾル形成基材
の加熱ムラを抑制できる喫煙器具を提供することにある。
【課題を解決するための手段】
【0007】
上記目的を達成するために、本発明の一態様は、エアロゾル形成基材を加熱する喫煙器
具であって、前記喫煙器具の内部に空気を取り込むための取込口と、前記取込口から取り
込まれた空気の流れの下流側に設けられ、前記エアロゾル形成基材を収納する収納空間と
、前記取込口から取り込まれた空気の流れの上流側に設けられた熱源空間と、前記熱源空
間に設けられ、前記熱源空間内の空気を加熱する第1加熱源と、を備えたことを特徴とす
る。
【発明の効果】
【0008】
本発明によれば、エアロゾル形成基材の加熱ムラを抑制できる。なお、上記した以外の
課題、構成および効果は、以下の実施形態の説明により明らかにされる。
【図面の簡単な説明】
【0009】
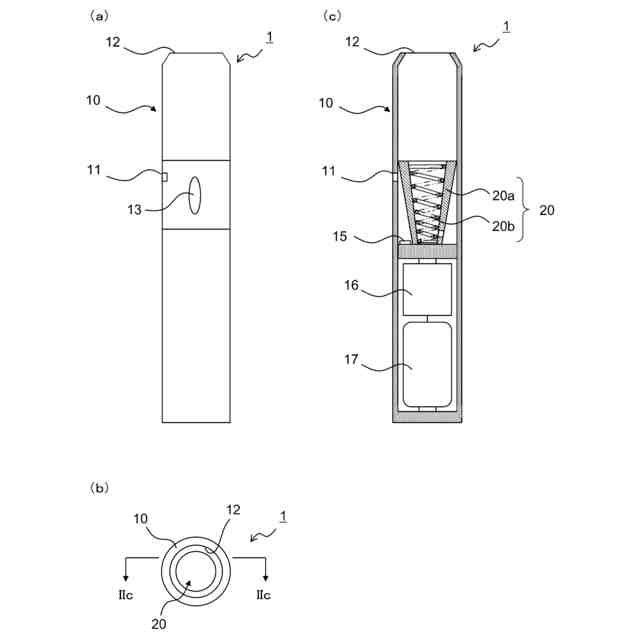
第1実施形態に係る喫煙器具の斜視図である。
(a)は喫煙器具の正面図、(b)は喫煙器具の上面図、(c)は(b)のIIc-IIc断面図である。
喫煙器具の内部構造を説明する断面図である。
喫煙器具の内部構造を説明する断面図である。
喫煙器具が備える第1加熱体の分解図である。
左側の図は、図4に示す喫煙器具をVI-VI線に沿って切断した断面を喫煙具用カートリッジ側から視た第1加熱体の縦断面であり、右側の図は、同断面を第1加熱体側から視た喫煙具用カートリッジの縦断面である。
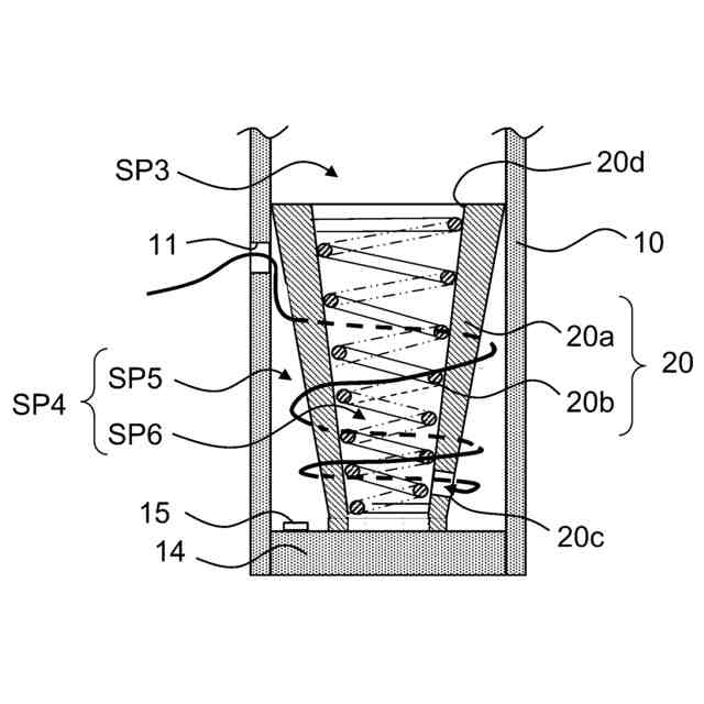
喫煙者による吸気が開始されたときの予熱空間内の空気の流れを示す拡大図である。
喫煙者による吸気が開始されたときの加熱空間内の空気の流れを示す拡大図である。
喫煙具用カートリッジが喫煙器具に装着された状態を示す断面図である。
変形例1-1に係る喫煙器具を示す断面図である。
変形例1―2に係る喫煙器具を挿入口側から視たときの上面図である。
(a)は変形例1-3に係る喫煙器具が備える第1加熱体を示す平面図、(b)は(a)のXIIc―XIIc断面図、(c)は(a)のXIIc―XIIc断面図である。
(a)~(c)は第1加熱体の仕切壁の変形例を示す断面図である。
(a)~(c)は第1加熱体の第1発熱素子の変形例を示す断面図である。
(a)は第2実施形態に係る喫煙器具の正面図、(b)は(a)の上面図、(c)は(b)のXVc―XVc断面図である。
(a)は第2加熱体を示す正面図、(b)は(a)のXVIc―XVIc断面図である。
(a)喫煙器具が備える第1加熱体および第2加熱体を示す断面図、(b)は(a)の上面図である。
喫煙器具の電気的構成を示すブロック図である。
喫煙具用カートリッジが喫煙器具に装着された状態を示す断面図である。
変形例2-1に係る喫煙器具を示す正面図である。
喫煙器具の電気的構成を示すブロック図である。
変形例2-2に係る喫煙器具を示す正面図である。
喫煙器具の電気的構成を示すブロック図である。
第1加熱体の第1発熱素子と第2加熱体の第2発熱素子の通電制御を示すフローチャートである。
(a)は変形例2-3に係る喫煙器具の正面図、(b)は喫煙器具の上面図、(c)は(b)のXXVc-XXVc断面図である。
図22(b)における第1加熱体と第2加熱体の拡大断面図、(b)は喫煙器具の本体部の拡大側面図である。
第1蓋部材を示す平面図である。
(a)は第2蓋部材を示す平面図、(b)は(a)の側面図である。
(a)は第2蓋部材の第1マークと本体部の特定マークとを左右方向で位置合わせした状態を示す本体部の側面図、(b)は(a)の状態における第1蓋部材の第1孔部と第2蓋部材の第2孔部との位置関係を示す平面図である。
(a)は第2蓋部材の第2マークと本体部の特定マークとを左右方向で位置合わせした状態を示す本体部の側面図、(b)は(a)の状態における第1孔部と第2孔部との位置関係を示す平面図である。
(a)は第2蓋部材の第3マークと本体部の特定マークとを左右方向で位置合わせした状態を示す本体部の側面図、(b)は(a)の状態における第1孔部と第2孔部との位置関係を示す平面図である。
第2蓋部材の他の例を示す平面図である。
第3実施形態に係る喫煙器具を示す断面図である。
第4実施形態に係る喫煙器具を示す断面図である。
喫煙器具が備える第3加熱体を示す拡大平面図である。
喫煙具用カートリッジが喫煙器具に装着された状態を示す断面図である。
【発明を実施するための形態】
【0010】
以下、本発明の実施形態について、図面を参照して説明する。
(【0011】以降は省略されています)
この特許をJ-PlatPat(特許庁公式サイト)で参照する
関連特許
日本たばこ産業株式会社
香味吸引物品
2か月前
日本たばこ産業株式会社
香味発生物品
2か月前
日本たばこ産業株式会社
口腔用組成物
3か月前
日本たばこ産業株式会社
喫煙システム
3か月前
東莞市佳かい精密金属制品有限公司
充電可能な電子タバコケース
4か月前
日本たばこ産業株式会社
香味吸引システム
3か月前
日本たばこ産業株式会社
香味吸引システム
3か月前
Future Technology株式会社
エアロゾル吸引カートリッジ
2か月前
日本たばこ産業株式会社
低香味原料を含むたばこセグメント
2か月前
Future Technology株式会社
たばこ用組成物、E-リキッド、たばこ製品
24日前
日本たばこ産業株式会社
粒状再生セルロースを含有する口腔用組成物
3か月前
日本たばこ産業株式会社
香味発生物品および香味吸引システム
3か月前
日本たばこ産業株式会社
電子装置
4か月前
日本たばこ産業株式会社
吸引器
3か月前
Future Technology株式会社
喫煙器具
2か月前
Future Technology株式会社
芳香基材
4か月前
日本たばこ産業株式会社
たばこ材料、その製造方法、および非燃焼加熱型喫煙物品
2か月前
Future Technology株式会社
芳香カートリッジ
1か月前
Future Technology株式会社
被加熱芳香発生基材
9日前
Future Technology株式会社
タバコ充填物集積体
2か月前
Future Technology株式会社
喫煙具用カートリッジ
4か月前
Future Technology株式会社
喫煙具用カートリッジ
2か月前
Future Technology株式会社
喫煙具用カートリッジ
1か月前
Future Technology株式会社
喫煙具用カートリッジ
3か月前
Future Technology株式会社
喫煙具用カートリッジ
3か月前
Future Technology株式会社
喫煙具用カートリッジ
3か月前
Future Technology株式会社
喫煙具用カートリッジ
4か月前
Future Technology株式会社
電子タバコカートリッジ
2か月前
Future Technology株式会社
電子タバコカートリッジ
2か月前
Future Technology株式会社
電子タバコカートリッジ
2か月前
Future Technology株式会社
被加熱芳香カートリッジ
2か月前
Future Technology株式会社
電子タバコカートリッジ
1か月前
Future Technology株式会社
電子タバコカートリッジ
3か月前
シェンチェン ギークベイプ テクノロジー カンパニー リミテッド
電子霧化装置
3か月前
Future Technology株式会社
加熱式タバコ用カートリッジ
2か月前
日本たばこ産業株式会社
吸引装置、基材、及び制御方法
9日前
続きを見る
他の特許を見る