TOP
|
特許
|
意匠
|
商標
特許ウォッチ
Twitter
他の特許を見る
10個以上の画像は省略されています。
公開番号
2025130115
公報種別
公開特許公報(A)
公開日
2025-09-08
出願番号
2024027072
出願日
2024-02-27
発明の名称
たばこ材料、その製造方法、および非燃焼加熱型喫煙物品
出願人
日本たばこ産業株式会社
代理人
個人
,
個人
,
個人
,
個人
主分類
A24D
1/20 20200101AFI20250901BHJP(たばこ;葉巻たばこ;紙巻たばこ;喫煙具)
要約
【課題】葉たばこ本来の柔らかい香味を呈する喫煙物品を提供する。
【解決手段】たばこセグメントと、マウスピースと、を備える非燃焼加熱型喫煙物品であって、
前記たばこセグメントが、
ガスクロマトグラフィーにおけるリテンションインデックス(RI)が1800~3100である成分のピーク面積の合計をH、
前記RIが1365以上1800未満である成分のピーク面積の合計をLとするとき、
0<L×10/H≦0.7を満たす、たばこ材料を含む、
非燃焼加熱型喫煙物品。
【選択図】なし
特許請求の範囲
【請求項1】
たばこセグメントと、マウスピースと、を備える非燃焼加熱型喫煙物品であって、
前記たばこセグメントが、
ガスクロマトグラフィーにおけるリテンションインデックス(RI)が1800~3100である成分のピーク面積の合計をH、
前記RIが1365以上1800未満である成分のピーク面積の合計をLとするとき、
0<L×10/H≦0.7を満たす、たばこ材料を含む、
非燃焼加熱型喫煙物品。
続きを表示(約 1,000 文字)
【請求項2】
複数のセグメントを巻包するチップペーパーを備え、
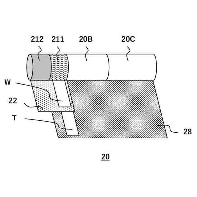
前記チップペーパーは、前記たばこ材料と対向する位置の少なくとも一部に設けられた透明部Tを含む、
請求項1に記載の非燃焼加熱型喫煙物品。
【請求項3】
前記たばこセグメントは、前記たばこ材料を巻装するラッパーを含み、
前記ラッパーは、前記たばこ材料と対向する位置の少なくとも一部に設けられた透明部Wを含み、
前記透明部Tと前記透明部Wとは、径方向から見たときに少なくとも一部で重なる、
請求項2に記載の非燃焼加熱型喫煙物品。
【請求項4】
前記たばこセグメントは、前記たばこ材料を含む第1香味源と、前記第1香味源の上流側または下流側に配置された前記たばこ材料を含まない第2香味源と、を含む請求項1~3のいずれかに記載の非燃焼加熱型喫煙物品。
【請求項5】
前記たばこセグメントは、前記たばこ材料を含む第1香味源と、前記第1香味源の上流側または下流側に配置された前記たばこ材料を含まない第2香味源と、を含み、
当該第1香味源を巻装する領域に、径方向から見たときに前記透明部Tと前記透明部Wが重なる部分を備える、
請求項3に記載の非燃焼加熱型喫煙物品。
【請求項6】
前記第1香味源および第2香味源はエアロゾル源を含み、
第1香味源のエアロゾル源の含有量は、第2香味源のエアロゾル源の含有量よりも低い、
請求項4または5に記載の非燃焼加熱型喫煙物品。
【請求項7】
前記マウスピースが、中実フィルターと中空フィルターとを備える、請求項1~6のいずれかに記載の非燃焼加熱型喫煙物品。
【請求項8】
前記たばこセグメントより下流であって、前記マウスピースよりも上流の位置に、冷却部をさらに備える、請求項1~7のいずれかに記載の非燃焼加熱型喫煙物品。
【請求項9】
前記たばこセグメントより上流に先端プラグを備える、請求項1~8のいずれかに記載の非燃焼加熱型喫煙物品。
【請求項10】
前記たばこセグメントの総填充量が、0.15~0.35gである、請求項1~9のいずれかに記載の非燃焼加熱型喫煙物品。
(【請求項11】以降は省略されています)
発明の詳細な説明
【技術分野】
【0001】
本発明は、たばこ材料、その製造方法、および当該たばこ材料を備える非燃焼加熱型喫煙物品に関する。
続きを表示(約 3,600 文字)
【背景技術】
【0002】
非燃焼型加熱型喫煙物品は、一般にたばこロッドを150~350℃に加熱し、香味成分を生成し、エアロゾルと共にデリバリーする。これらの香味成分のうち、他の植物と比してユニークな成分としてセスキテルペン、ジテルペン、高級脂肪酸、および高級炭化水素が知られている。特に、葉タバコ葉面樹脂成分であって、葉面上に存在する毛茸分泌物であるセンブラノイドやラブダノイドのジテルペン類はその活用が大いに期待されている(例えば特許文献1)。
【先行技術文献】
【特許文献】
【0003】
国際公開第2022/102541号
【発明の概要】
【発明が解決しようとする課題】
【0004】
ジテルペンであるα-センブラトリエンジオール等は、成葉タバコ収穫後の乾燥工程、および乾燥葉たばこから様々な工程を経るうちにその量が減少する。例えば黄色たばこのように加熱送風機を用いて短期間で乾燥させる加熱乾燥では、α-センブラトリエンジオール等が2割程度減少する。また、バーレー種のように自然の温度および湿度下にて通気条件で乾燥させる通風乾燥では、α-センブラトリエンジオール等が8割程度も減少する。発明者らは、α-センブラトリエンジオール等の減少を回避できれば、より優れた香味を呈する喫煙物品を提供できるとの着想を得た。かかる事情に鑑み、本発明は葉たばこ本来の柔らかい香味を呈する喫煙物品を提供することを課題とする。
【課題を解決するための手段】
【0005】
発明者らは、以下の発明によって前記課題を解決することを見出した。
態様1
たばこセグメントと、マウスピースと、を備える非燃焼加熱型喫煙物品であって、
前記たばこセグメントが、
ガスクロマトグラフィーにおけるリテンションインデックス(RI)が1800~3100である成分のピーク面積の合計をH、
前記RIが1365以上1800未満である成分のピーク面積の合計をLとするとき、
0<L×10/H≦0.7を満たす、たばこ材料を含む、
非燃焼加熱型喫煙物品。
態様2
複数のセグメントを巻包するチップペーパーを備え、
前記チップペーパーは、前記たばこ材料と対向する位置の少なくとも一部に設けられた透明部Tを含む、
態様1に記載の非燃焼加熱型喫煙物品。
態様3
前記たばこセグメントは、前記たばこ材料を巻装するラッパーを含み、
前記ラッパーは、前記たばこ材料と対向する位置の少なくとも一部に設けられた透明部Wを含み、
前記透明部Tと前記透明部Wとは、径方向から見たときに 少なくとも一部で重なる、
態様2に記載の非燃焼加熱型喫煙物品。
態様4
前記たばこセグメントは、前記たばこ材料を含む第1香味源と、前記第1香味源の上流側または下流側に配置された前記たばこ材料を含まない第2香味源と、を含む態様1~3のいずれかに記載の非燃焼加熱型喫煙物品。
態様5
前記たばこセグメントは、前記たばこ材料を含む第1香味源と、前記第1香味源の上流側または下流側に配置された前記たばこ材料を含まない第2香味源と、を含み、
当該第1香味源を巻装する領域に、前記透明部Tと前記透明部Wが重なる部分を備える、
態様3に記載の非燃焼加熱型喫煙物品。
態様6
前記第1香味源および第2香味源はエアロゾル源を含み、
第1香味源のエアロゾル源の含有量は、第2香味源のエアロゾル源の含有量よりも低い、
態様4または5に記載の非燃焼加熱型喫煙物品。
態様7
前記マウスピースが、中実フィルターと中空フィルターとを備える、態様1~6のいずれかに記載の非燃焼加熱型喫煙物品。
態様8
前記たばこセグメントより下流であって、前記マウスピースよりも上流の位置に、冷却部をさらに備える、態様1~7のいずれかに記載の非燃焼加熱型喫煙物品。
態様9
前記たばこセグメントより上流に先端プラグを備える、態様1~8のいずれかに記載の非燃焼加熱型喫煙物品。
態様10
前記たばこセグメントの総填充量が、0.15~0.35gである、態様1~9のいずれかに記載の非燃焼加熱型喫煙物品。
態様11
前記たばこセグメントがサセプタを内包する、態様1~10のいずれかに記載の非燃焼加熱型喫煙物品。
態様12
態様4~6のいずれかに記載の非燃焼加熱型喫煙物品と、加熱部を備える加熱デバイスと、を備える喫煙システムであって、
前記加熱デバイスは、前記非燃焼加熱型喫煙物品が前記加熱デバイスの所定の位置に位置付けられた状態において、径方向から見たときに、前記第1香味源と重なる領域に前記加熱部を有し、前記第2香味源と重なる領域に前記加熱部を有さない、
喫煙システム。
態様13
前記第1香味源は、前記第2香味源よりも下流側に位置している、
態様12に記載の喫煙システム。
態様14
態様4~6のいずれかに記載の非燃焼加熱型喫煙物品と、加熱部を備える加熱デバイスと、を備える喫煙システムであって、
前記加熱デバイスは、前記非燃焼加熱型喫煙物品が前記加熱デバイスの所定の位置に位置付けられた状態において、径方向から見たときに、前記第2香味源と重なる領域に前記加熱部を有し、前記第1香味源と重なる領域に前記加熱部を有さない、
喫煙システム。
態様15
前記第2香味源は、前記第1香味源よりも上流側に位置している、
【発明の効果】
【0006】
柔らかい香味を呈する喫煙物品を提供できる。
【図面の簡単な説明】
【0007】
非燃焼加熱型喫煙物品の第1の態様を示す概要図
非燃焼加熱型喫煙システムの一例を示す概要図
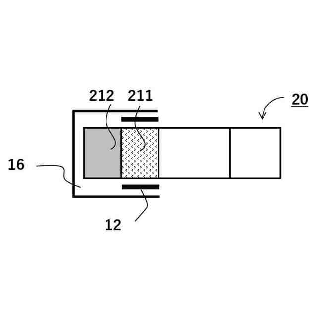
第1香味源211と第2香味源212が存在する態様の模式図
第1香味源211と第2香味源212が存在する態様の模式図
ラッパーおよびチップペーパーに設けられる透明部を説明する図
第2の態様にかかる非燃焼加熱型喫煙物品30を示す概要図
第3の態様にかかる非燃焼加熱型喫煙物品40を示す概要図
ガスクロマトグラフ
ガスクロマトグラフとRIの関係を説明する図
【発明を実施するための形態】
【0008】
本開示において「X~Y」はその端値であるXおよびYを含む。また、下流とは、喫煙物品における吸口端に近い方をいう。
1.たばこ材料
1-1.第1たばこ材料
一実施形態において、たばこ材料は、ガスクロマトグラフィーにおけるリテンションインデックス(RI)が1800~3100である成分のピーク面積の合計をH、前記RIが1365以上1800未満である成分のピーク面積の合計をLとするとき、0<L×10/H≦0.7を満たす。「L×10/H」を、以下単に「L/H比」ともいう。
【0009】
RIが1800~3100である成分(以下「成分H」ともいう)は、たばこ本来の香気を発現する。成分Hは、クロロフィルの一部分解物、葉面樹脂、高級脂肪酸、高級炭化水素を含む成分群である。具体的に、成分Hは、ネオフィタジエン(Neophytadiene、RI=1842)、フィトール(Phytol、RI=2114)、α-センブラトリエンジオール(α-CBT、RI=2242)、リノレイン酸(Linoleic acid、RI=2145)等を含む。一方、RIが1365以上1800未満である成分(以下「成分L」ともいう)は、センブラトリエン分解物およびカロテノイド分解物を含む成分群である。成分Lは3-oxo-α-イオノン(3-oxo-α-ionone、RI=1648)、ソラノン(Solanone、RI=1368)、ノルサラナジオン(Norsolanadione、RI=1489)、メガスティマトリエノン(Megastigmatrienone、RI=1581)等を含む。
【0010】
本実施形態におけるたばこ材料は、0<L×10/H≦0.7を満たす。すなわち、成分Lに対する成分Hの含有量が高い。そのため、たばこ本来の複雑な香気を発現する。L×10/Hの上限値は好ましくは0.55以下、より好ましくは0.5以下、さらに好ましくは0.30以下である。
(【0011】以降は省略されています)
この特許をJ-PlatPat(特許庁公式サイト)で参照する
関連特許
日本たばこ産業株式会社
重症喘息の治療又は予防剤
9日前
日本たばこ産業株式会社
香味吸引物品
1か月前
日本たばこ産業株式会社
香味発生物品
1か月前
個人
フレーバ用ブースター器具およびシーシャ装置
4か月前
日本たばこ産業株式会社
喫煙システム
2か月前
日本たばこ産業株式会社
口腔用組成物
2か月前
東莞市佳かい精密金属制品有限公司
充電可能な電子タバコケース
3か月前
Future Technology株式会社
エアロゾル吸引カートリッジ
1か月前
日本たばこ産業株式会社
香味吸引システム
2か月前
日本たばこ産業株式会社
香味吸引システム
2か月前
日本たばこ産業株式会社
低香味原料を含むたばこセグメント
1か月前
Future Technology株式会社
たばこ用組成物、E-リキッド、たばこ製品
9日前
日本たばこ産業株式会社
粒状再生セルロースを含有する口腔用組成物
2か月前
日本たばこ産業株式会社
香味発生物品および香味吸引システム
2か月前
日本たばこ産業株式会社
電子装置
3か月前
Future Technology株式会社
喫煙器具
1か月前
日本たばこ産業株式会社
吸引器
3か月前
Future Technology株式会社
芳香基材
3か月前
日本たばこ産業株式会社
たばこ材料、その製造方法、および非燃焼加熱型喫煙物品
2か月前
Future Technology株式会社
芳香カートリッジ
24日前
Future Technology株式会社
タバコ充填物集積体
2か月前
Future Technology株式会社
喫煙具用カートリッジ
3か月前
Future Technology株式会社
喫煙具用カートリッジ
2か月前
Future Technology株式会社
喫煙具用カートリッジ
1か月前
Future Technology株式会社
喫煙具用カートリッジ
3か月前
Future Technology株式会社
喫煙具用カートリッジ
3か月前
Future Technology株式会社
喫煙具用カートリッジ
3か月前
Future Technology株式会社
喫煙具用カートリッジ
2か月前
Future Technology株式会社
電子タバコカートリッジ
3か月前
Future Technology株式会社
電子タバコカートリッジ
2か月前
Future Technology株式会社
電子タバコカートリッジ
2か月前
Future Technology株式会社
電子タバコカートリッジ
15日前
Future Technology株式会社
電子タバコカートリッジ
2か月前
Future Technology株式会社
被加熱芳香カートリッジ
2か月前
シェンチェン ギークベイプ テクノロジー カンパニー リミテッド
電子霧化装置
3か月前
日本たばこ産業株式会社
非燃焼式吸引器
4か月前
続きを見る
他の特許を見る