TOP
|
特許
|
意匠
|
商標
特許ウォッチ
Twitter
他の特許を見る
10個以上の画像は省略されています。
公開番号
2025119703
公報種別
公開特許公報(A)
公開日
2025-08-15
出願番号
2024014638
出願日
2024-02-02
発明の名称
香味吸引システム
出願人
日本たばこ産業株式会社
代理人
個人
,
個人
,
個人
,
個人
,
個人
主分類
A24D
1/20 20200101AFI20250807BHJP(たばこ;葉巻たばこ;紙巻たばこ;喫煙具)
要約
【課題】香味の量の時間的な変化を柔軟に調整可能な香味吸引システムを提供する。
【解決手段】香味吸引システムは、香味吸引器および香味発生物品を備え、前記香味吸引器は、収容部と、第1電極と、内側電極と、前記内側電極と電気的に接続され、前記内側電極を介してマイクロ波を発振可能な発振部と、を備え、前記香味発生物品は、香味物質および、マイクロ波を吸収する吸収体を含む香味源を備え、前記香味源は、前記香味発生物品が前記収容部に収容された収容状態において、前記第1電極と前記内側電極の間に配置される第1部分と、前記第1部分以外の第2部分とを備え、前記第1部分における単位体積当たりの前記吸収体の量は、前記第2部分における単位体積当たりの前記吸収体の量と異なるか、または、前記第1部分の前記吸収体は、前記第2部分の前記吸収体とは異なる物質を含む。
【選択図】図5
特許請求の範囲
【請求項1】
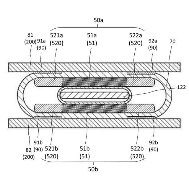
香味吸引器および香味発生物品を備える香味吸引システムであって、
前記香味吸引器は、
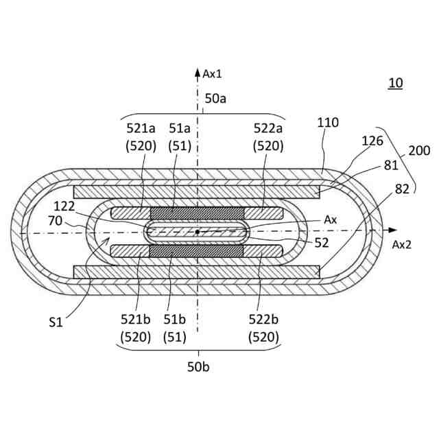
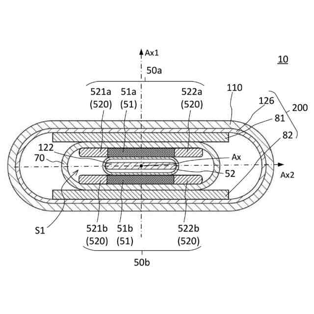
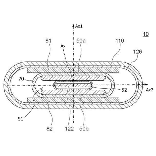
開口を有し、前記開口を介して挿入された前記香味発生物品の少なくとも一部を収容する収容部と、
電気的に接地された第1電極と、
前記収容部の内側に位置し、前記第1電極と対向して配置された内側電極と、
前記内側電極と電気的に接続され、前記内側電極を介してマイクロ波を発振可能な発振部と、を備え、
前記香味発生物品は、香味物質および、前記香味物質と同一または別の物質であり、マイクロ波を吸収する吸収体を含む香味源を備え、
前記香味源は、
前記香味発生物品が前記収容部に収容された収容状態において、前記第1電極と前記内側電極の間に配置される第1部分と、
前記第1部分以外の第2部分とを備え、
前記第1部分における単位体積当たりの前記吸収体の量は、前記第2部分における単位体積当たりの前記吸収体の量と異なるか、または、前記第1部分の前記吸収体は、前記第2部分の前記吸収体とは異なる物質を含む、香味吸引システム。
続きを表示(約 960 文字)
【請求項2】
前記第1部分における単位体積当たりの前記吸収体の量は、前記第2部分における単位体積当たりの前記吸収体の量よりも少ないか、または、前記第1部分の前記吸収体の比誘電率は、前記第2部分の前記吸収体の比誘電率よりも小さい、請求項1に記載の香味吸引システム。
【請求項3】
前記香味吸引器は、前記収容部の内壁面に配置された断熱材をさらに備え、
前記断熱材の少なくとも一部は、前記第1部分よりも前記第2部分により近い位置に配置されている、請求項2に記載の香味吸引システム。
【請求項4】
前記第1部分における単位体積当たりの前記吸収体の量は、前記第2部分における単位体積当たりの前記吸収体の量よりも多いか、または、前記第1部分の前記吸収体の比誘電率は、前記第2部分の前記吸収体の比誘電率よりも大きい、請求項1に記載の香味吸引システム。
【請求項5】
前記香味吸引器は、前記収容部の内壁面に配置された断熱材をさらに備え、
前記断熱材の少なくとも一部は、前記第2部分よりも前記第1部分により近い位置に配置されている、請求項4に記載の香味吸引システム。
【請求項6】
前記第1部分における単位体積当たりの前記吸収体の量は、前記第2部分における単位体積当たりの前記吸収体の量と異なり、
前記吸収体は、グリセリンである、請求項1から5のいずれか一項に記載の香味吸引システム。
【請求項7】
前記第1部分の前記吸収体および前記第2部分の前記吸収体のうち、一方は香味吸引時に気化する第1物質を含み、他方は、香味吸引時に変態しない第2物質を含む、請求項1から6のいずれか一項に記載の香味吸引システム。
【請求項8】
前記第1物質は、グリセリンである、請求項7に記載の香味吸引システム。
【請求項9】
前記第2物質は、酸化チタン、二酸化チタン、およびチタン酸バリウムの少なくとも一つである、請求項7または8に記載の香味吸引システム。
【請求項10】
前記内側電極は、平板状である、請求項1から9のいずれか一項に記載の香味吸引システム。
(【請求項11】以降は省略されています)
発明の詳細な説明
【技術分野】
【0001】
本発明は、香味吸引システムに関する。
続きを表示(約 1,500 文字)
【背景技術】
【0002】
従来、材料の燃焼をすることなく香味等を吸引するための香味吸引器が知られている。このような香味吸引器には、香味源を有する香味発生物品が収容される。香味吸引器と香味発生物品は香味吸引システムを構成する。香味吸引器には、材料を、マイクロ波によって加熱するものが知られている(特許文献1参照)。
【先行技術文献】
【特許文献】
【0003】
国際公開第2021/090022号
【発明の概要】
【発明が解決しようとする課題】
【0004】
特許文献1のエアロゾル化可能材料を加熱するための装置は、マイクロ波を発生するためのパッチアンテナと、マイクロ波を遮蔽するためのシールド材料とを有している。この装置では、パッチアンテナの幅に対してシールド材料の幅がより長くなっている。そのため、エアロゾル化可能材料における電界密度が一定でなく、均一に加熱できない問題がある。一方で、香味を発生する時間を長くしたい場合など、香味発生物品をあえて均一に加熱しないようにすることも考えられる。
【0005】
以上を鑑み、本発明の目的の一つは、マイクロ波を利用する香味吸引器を有し、発生する香味の量の時間的な変化を柔軟に調整可能な香味吸引システムを提供することである。
【課題を解決するための手段】
【0006】
第1態様によれば、香味吸引システムが提供される。この香味吸引システムは、香味吸引器および香味発生物品を備え、前記香味吸引器は、開口を有し、前記開口を介して挿入された前記香味発生物品の少なくとも一部を収容する収容部と、電気的に接地された第1電極と、前記収容部の内側に位置し、前記第1電極と対向して配置された内側電極と、前記内側電極と電気的に接続され、前記内側電極を介してマイクロ波を発振可能な発振部と、を備え、前記香味発生物品は、香味物質および、前記香味物質と同一または別の物質であり、マイクロ波を吸収する吸収体を含む香味源を備え、前記香味源は、前記香味発生物品が前記収容部に収容された収容状態において、前記第1電極と前記内側電極の間に配置される第1部分と、前記第1部分以外の第2部分とを備え、前記第1部分における単位体積当たりの前記吸収体の量は、前記第2部分における単位体積当たりの前記吸収体の量と異なるか、または、前記第1部分の前記吸収体は、前記第2部分の前記吸収体とは異なる物質を含む。
【0007】
第1態様によれば、マイクロ波を利用する香味吸引器を有し、発生する香味の量の時間的な変化を柔軟に調整可能な香味吸引システムを提供することができる。
【0008】
第2態様は、第1態様において、前記第1部分における単位体積当たりの前記吸収体の量は、前記第2部分における単位体積当たりの前記吸収体の量よりも少ないか、または、前記第1部分の前記吸収体の比誘電率は、前記第2部分の前記吸収体の比誘電率よりも小さい、ことを要旨とする。
【0009】
第2態様によれば、第1部分と第2部分の間のマイクロ波の強度の差に基づく加熱効率の差を低減し、より均一に香味源を加熱することができる。
【0010】
第3態様は、第2態様において、前記香味吸引器は、前記収容部の内壁面に配置された断熱材をさらに備え、前記断熱材の少なくとも一部は、前記第1部分よりも前記第2部分により近い位置に配置されている、ことを要旨とする。
(【0011】以降は省略されています)
この特許をJ-PlatPat(特許庁公式サイト)で参照する
関連特許
日本たばこ産業株式会社
重症喘息の治療又は予防剤
4日前
日本たばこ産業株式会社
吸引装置、制御方法、及びプログラム
10日前
日本たばこ産業株式会社
吸引装置、制御方法、及びプログラム
10日前
日本たばこ産業株式会社
飽和脂肪酸系添加剤を含むたばこ組成物
19日前
個人
ヒートスティック除去具
4か月前
日本たばこ産業株式会社
香味吸引物品
1か月前
個人
電子タバコの加熱素子
3か月前
日本たばこ産業株式会社
口腔用組成物
2か月前
日本たばこ産業株式会社
喫煙システム
2か月前
個人
フレーバ用ブースター器具およびシーシャ装置
3か月前
日本たばこ産業株式会社
香味発生物品
1か月前
東莞市佳かい精密金属制品有限公司
充電可能な電子タバコケース
3か月前
Future Technology株式会社
エアロゾル吸引カートリッジ
1か月前
日本たばこ産業株式会社
香味吸引システム
2か月前
日本たばこ産業株式会社
香味吸引システム
2か月前
日本たばこ産業株式会社
低香味原料を含むたばこセグメント
1か月前
Future Technology株式会社
たばこ用組成物、E-リキッド、たばこ製品
4日前
日本たばこ産業株式会社
粒状再生セルロースを含有する口腔用組成物
2か月前
日本たばこ産業株式会社
香味発生物品および香味吸引システム
2か月前
日本たばこ産業株式会社
電子装置
3か月前
日本たばこ産業株式会社
吸引器
3か月前
Future Technology株式会社
喫煙器具
1か月前
Future Technology株式会社
芳香基材
3か月前
日本たばこ産業株式会社
たばこ材料、その製造方法、および非燃焼加熱型喫煙物品
1か月前
Future Technology株式会社
芳香カートリッジ
4か月前
Future Technology株式会社
芳香カートリッジ
19日前
Future Technology株式会社
芳香カートリッジ
4か月前
Future Technology株式会社
タバコ充填物集積体
2か月前
Future Technology株式会社
喫煙具用カートリッジ
2か月前
Future Technology株式会社
喫煙具用カートリッジ
3か月前
Future Technology株式会社
喫煙具用カートリッジ
3か月前
Future Technology株式会社
喫煙具用カートリッジ
3か月前
Future Technology株式会社
喫煙具用カートリッジ
4か月前
Future Technology株式会社
喫煙具用カートリッジ
3か月前
Future Technology株式会社
喫煙具用カートリッジ
3か月前
Future Technology株式会社
喫煙具用カートリッジ
1か月前
続きを見る
他の特許を見る