TOP
|
特許
|
意匠
|
商標
特許ウォッチ
Twitter
他の特許を見る
10個以上の画像は省略されています。
公開番号
2025089717
公報種別
公開特許公報(A)
公開日
2025-06-16
出願番号
2023204519
出願日
2023-12-04
発明の名称
灰皿装置及び灰皿管理システム
出願人
エム・クリエイト株式会社
代理人
個人
,
個人
,
個人
主分類
A24F
19/10 20060101AFI20250609BHJP(たばこ;葉巻たばこ;紙巻たばこ;喫煙具)
要約
【課題】灰皿装置の管理作業を効率良く行うことができる灰皿装置及び灰皿管理システムを提供する。
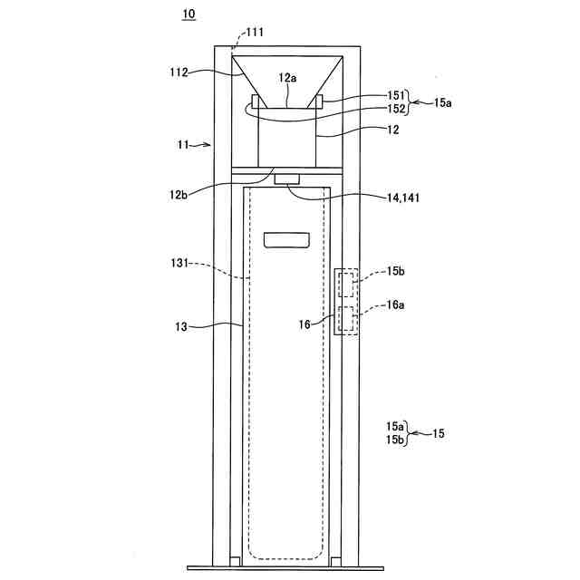
【解決手段】灰皿装置10が、灰皿筐体11と、吸殻投入孔111から投入された吸殻を吸殻受取り口12aで受取り、吸殻を複数の消火ローラの相互間で狭圧して押し潰すことで消火しながら吸殻排出口12bに向かって搬送して排出する吸殻消火部12と、吸殻排出口12bの下方側に配置されるように灰皿筐体11に収容され、吸殻排出口12bから排出された吸殻を回収する回収箱13と、灰皿筐体11に取り付けられ、回収箱13に回収されて内部に溜まった吸殻の蓄積量を表す蓄積指標を取得する蓄積指標取得部14と、灰皿筐体11に取り付けられ、蓄積指標取得部14での取得結果を装置外部に通知する通知部16aと、を備えたことを特徴とする。
【選択図】図2
特許請求の範囲
【請求項1】
所定の設置場所に立設される柱状の外観を有し、上端面に吸殻投入孔が設けられた灰皿筐体と、
前記灰皿筐体における前記上端面側に、前記吸殻投入孔の下方に位置するように収容され、前記吸殻投入孔から投入された吸殻を吸殻受取り口で受取り、前記吸殻を複数の消火ローラの相互間で狭圧して押し潰すことで消火しながら吸殻排出口に向かって搬送して、前記吸殻排出口から排出する吸殻消火部と、
前記吸殻排出口の下方側に配置されるように前記灰皿筐体に収容され、前記吸殻排出口から排出された前記吸殻を回収する回収箱と、
前記灰皿筐体に取り付けられ、前記回収箱に回収されて内部に溜まった前記吸殻の蓄積量を表す蓄積指標を取得する蓄積指標取得部と、
前記灰皿筐体に取り付けられ、前記蓄積指標取得部での取得結果を装置外部に通知する通知部と、
を備えたことを特徴とする灰皿装置。
続きを表示(約 1,800 文字)
【請求項2】
前記蓄積指標取得部が、前記吸殻排出口の下方側で前記回収箱の内底面側を向くように前記灰皿筐体に取り付けられ、前記回収箱の内部に蓄積された吸殻群の上面までの距離を前記蓄積指標として取得する距離センサを有していることを特徴とする請求項1に記載の灰皿装置。
【請求項3】
前記灰皿筐体に取り付けられ、前記吸殻投入孔から投入された前記吸殻が前記吸殻消火部における前記吸殻受取り口の上方に留まる吸殻滞留の発生を検出する滞留検出部を更に備え、
前記通知部が、前記蓄積指標取得部での取得結果とともに、前記滞留検出部での検出結果も通知するものであることを特徴とする請求項1に記載の灰皿装置。
【請求項4】
前記滞留検出部が、
前記吸殻投入孔と前記吸殻受取り口の間に配置され、前記吸殻投入孔から前記吸殻受取り口へと向かう前記吸殻の通過を検知する吸殻通過センサと、
前記吸殻通過センサにおいて、所定時間以上に亘って前記吸殻の通過中が検知され続けている場合に前記吸殻滞留が発生したと判断し、その判断結果を前記滞留検出部での検出結果として前記通知部に送る滞留判断部と、
を有していることを特徴とする請求項3に記載の灰皿装置。
【請求項5】
前記蓄積指標取得部が、前記蓄積指標の取得を所定の取得間隔で繰り返し実行し、
前記通知部が、前記蓄積指標取得部で前記蓄積指標が取得される度に、前記取得結果を通知することを特徴とする請求項1に記載の灰皿装置。
【請求項6】
請求項1~5のうち何れか一項に記載の灰皿装置と、
各種情報の表示画面を有し、前記灰皿装置に対する各種管理のための管理アプリが搭載され、当該管理アプリを介して前記灰皿装置の管理を担当する担当管理者に携帯される携帯端末装置と、
前記灰皿装置からの通知内容に基づいて、当該灰皿装置における前記吸殻の蓄積量を含む灰皿情報を前記担当管理者の前記携帯端末装置に送信するサーバ装置と、
を備えたことを特徴とする灰皿管理システム。
【請求項7】
前記サーバ装置は、前記灰皿情報を送信することに加え、前記吸殻の蓄積量が所定の閾値を超える蓄積超過を含むアラート要因が発生した場合には、前記アラート要因の発生を示すアラート情報を、当該アラート要因が発生した前記灰皿装置の前記担当管理者が携帯する前記携帯端末装置に送信することを特徴とする請求項6に記載の灰皿管理システム。
【請求項8】
前記灰皿装置が、
前記灰皿筐体に取り付けられ、前記吸殻投入孔から投入された前記吸殻が、前記吸殻消火部における前記吸殻受取り口で受け取られることなく当該吸殻受取り口の上方に留まる吸殻滞留の発生を検出する滞留検出部を更に備え、
前記通知部が、前記蓄積指標取得部での取得結果とともに、前記滞留検出部での検出結果も通知するものであって、
前記アラート要因には、前記吸殻滞留の発生も含まれることを特徴とする請求項7に記載の灰皿管理システム。
【請求項9】
前記携帯端末装置の前記表示画面には、当該携帯端末装置が前記アラート情報を受信すると、当該アラート情報の受信を通知するアラートプッシュ通知が表示されることを特徴とする請求項7に記載の灰皿管理システム。
【請求項10】
前記携帯端末装置の前記表示画面には、前記管理アプリを示すアイコン画像が、前記アラートプッシュ通知の通知件数を表すバッジが付された状態で表示され、
前記サーバ装置は、前記アラート要因が復旧した場合には、当該アラート要因の復旧を示す復旧情報を、当該アラート要因が復旧した前記灰皿装置の前記担当管理者が携帯する前記携帯端末装置に送信し、
前記携帯端末装置の前記表示画面には、前記管理アプリを示すアイコン画像が、前記アラートプッシュ通知の通知件数を表すバッジが付された状態で表示され、当該携帯端末装置が前記復旧情報を受信すると、当該復旧情報の受信を通知する復旧プッシュ通知が表示されるとともに、前記バッジが表す前記アラートプッシュ通知の通知件数が前記復旧プッシュ通知の通知件数だけ減少することを特徴とする請求項9に記載の灰皿管理システム。
発明の詳細な説明
【技術分野】
【0001】
本発明は、投入された吸殻を消火して回収する灰皿装置と、当該灰皿装置に対する各種管理のための灰皿管理システムに関するものとなっている。
続きを表示(約 1,800 文字)
【背景技術】
【0002】
従来、喫煙可能なスペースに設置される灰皿装置として、投入された吸殻を消火して回収する灰皿装置が知られている(例えば、特許文献1参照。)。このような灰皿装置では、装置内部に吸殻を回収して溜める回収箱が設けられている。回収箱における吸殻の蓄積量がある程度の量に達すると、灰皿装置に対する各種管理を担当する担当管理者によって、回収箱の内部に溜まった吸殻が廃棄される。
【先行技術文献】
【特許文献】
【0003】
特開2019-030418号公報
【発明の概要】
【発明が解決しようとする課題】
【0004】
ここで、多くの場合、灰皿装置の担当管理者は、一定時間置きに灰皿装置の設置場所を訪れて回収箱における吸殻の蓄積量の確認等を行い、蓄積量が廃棄レベルに達したと判断した場合に吸殻の廃棄を行うこととなっている。しかしながら、このような一定時間置きの確認と廃棄を含む灰皿装置の管理作業は、作業効率が低く担当管理者の負担となりがちである。
【0005】
従って、本発明は、上記のような問題に着目し、灰皿装置の管理作業を効率良く行うことができる灰皿装置及び灰皿管理システムを提供することを目的とする。
【課題を解決するための手段】
【0006】
上記課題を解決するために、灰皿装置は、所定の設置場所に立設される柱状の外観を有し、上端面に吸殻投入孔が設けられた灰皿筐体と、前記灰皿筐体における前記上端面側に、前記吸殻投入孔の下方に位置するように収容され、前記吸殻投入孔から投入された吸殻を吸殻受取り口で受取り、前記吸殻を複数の消火ローラの相互間で狭圧して押し潰すことで消火しながら吸殻排出口に向かって搬送して、前記吸殻排出口から排出する吸殻消火部と、前記吸殻排出口の下方側に配置されるように前記灰皿筐体に収容され、前記吸殻排出口から排出された前記吸殻を回収する回収箱と、前記灰皿筐体に取り付けられ、前記回収箱に回収されて内部に溜まった前記吸殻の蓄積量を表す蓄積指標を取得する蓄積指標取得部と、前記灰皿筐体に取り付けられ、前記蓄積指標取得部での取得結果を装置外部に通知する通知部と、を備えたことを特徴とする。
【0007】
また、上記課題を解決するために、灰皿管理システムは、上述の灰皿装置と、各種情報の表示画面を有し、前記灰皿装置に対する各種管理のための管理アプリが搭載され、当該管理アプリを介して前記灰皿装置の管理を担当する担当管理者に携帯される携帯端末装置と、前記灰皿装置からの通知内容に基づいて、当該灰皿装置における前記吸殻の蓄積量を含む灰皿情報を前記担当管理者の前記携帯端末装置に送信するサーバ装置と、を備えたことを特徴とする。
【発明の効果】
【0008】
上述の灰皿装置及び灰皿管理システムによれば、灰皿装置の管理作業を効率良く行うことができる。
【図面の簡単な説明】
【0009】
一実施形態に係る灰皿装置及び灰皿管理システムを示す模式図である。
図1に示されている灰皿装置の内部構造を示す模式図である。
図2に示されている吸殻消火部を、その内部構造が見えるように示した斜視図である。
図2に示されている蓄積指標取得部の外観を示す図である。
図2に示されている吸殻通過センサにおけるLED発光部の外観を示す図である。
図2に示されている吸殻通過センサにおける受光部の外観を示す図である。
図2に示されている装置制御/通知部の外観を示す図である。
図1に示されている灰皿管理システムにおける携帯端末装置で担当管理者の操作に応じて灰皿情報が表示、確認される様子を示す模式図である。
詳細情報表示画面を示す模式図である。
携帯端末装置のプッシュ通知機能を利用して灰皿装置におけるアラート要因の発生が把握される様子を示す模式図である。
復旧情報を受信した携帯端末装置での表示内容の変化を示す模式図である。
【発明を実施するための形態】
【0010】
以下、灰皿装置及び灰皿管理システムの一実施形態について説明する。
(【0011】以降は省略されています)
この特許をJ-PlatPat(特許庁公式サイト)で参照する
関連特許
Future Technology株式会社
たばこ用組成物、E-リキッド、たばこ製品
5日前
Future Technology株式会社
芳香カートリッジ
20日前
Future Technology株式会社
電子タバコカートリッジ
11日前
ケーティー アンド ジー コーポレイション
エアロゾル生成システム
20日前
日本たばこ産業株式会社
香味吸引器及び喫煙システム
28日前
日本たばこ産業株式会社
吸引装置、制御方法、及びプログラム
11日前
日本たばこ産業株式会社
吸引装置、制御方法、及びプログラム
11日前
日本たばこ産業株式会社
飽和脂肪酸系添加剤を含むたばこ組成物
20日前
ケーティー アンド ジー コーポレイション
エアロゾル生成装置
20日前
日本たばこ産業株式会社
エアロゾルをデリバリーする加熱式物品、加熱式製品
29日前
ケーティー アンド ジー コーポレイション
断熱体を含むエアロゾル発生装置
13日前
ジェイティー インターナショナル エスエイ
蒸気発生装置用の誘導加熱組立体
13日前
日本たばこ産業株式会社
エアロゾル生成装置の電源ユニット、カートリッジ、及びエアロゾル生成装置
21日前
日本たばこ産業株式会社
情報処理装置、情報処理システム、情報処理端末、情報処理方法及びプログラム
20日前
1293473 オンタリオ リミテッド
水煙草サブアセンブリおよびサブアセンブリの構成部品
1か月前
ジェイティー インターナショナル エスエイ
点灯式ステータスインジケータを備えるエアロゾル発生装置
13日前
アセテート・インターナショナル・エルエルシー
中程度のDPF及び総デニールのセルロースアセテートトウ
13日前
フィリップ・モーリス・プロダクツ・ソシエテ・アノニム
エアロゾル発生物品用の安定したラッパー
20日前
フィリップ・モーリス・プロダクツ・ソシエテ・アノニム
通気空洞を有するエアロゾル発生物品
13日前
フィリップ・モーリス・プロダクツ・ソシエテ・アノニム
軽い中空セグメントを含むエアロゾル発生物品
20日前
フィリップ・モーリス・プロダクツ・ソシエテ・アノニム
ステータスクエリのジェスチャ開始を提供するエアロゾル発生装置
13日前
ニコベンチャーズ トレーディング リミテッド
インダクタコイル
28日前
フィリップ・モーリス・プロダクツ・ソシエテ・アノニム
視覚的なフィードバック装置を有するエアロゾル発生装置
11日前
フィリップ・モーリス・プロダクツ・ソシエテ・アノニム
たばこ材料を処理するための方法および処理されたたばこ材料
18日前
ジュール・ラブズ・インコーポレイテッド
低温電子気化デバイスおよびその方法
20日前
フィリップ・モーリス・プロダクツ・ソシエテ・アノニム
上流くぼみを有するマウスピースを有するエアロゾル発生物品
20日前
ニコベンチャーズ トレーディング リミテッド
エアロゾル供給デバイス及びそのための消耗品
20日前
ニコベンチャーズ トレーディング リミテッド
不燃式エアロゾル供給システムで使用するための物品
21日前
アール・エイ・アイ・ストラテジック・ホールディングス・インコーポレイテッド
接続性、空気流、およびエアロゾル経路が改善されたエアロゾル送達装置
20日前
フィリップ・モーリス・プロダクツ・ソシエテ・アノニム
複数の温度プロファイルで誘導加熱エアロゾル発生システムを動作させる方法
20日前
ニコベンチャーズ トレーディング リミテッド
喫煙材を加熱するための装置とともに使用するための物品
7日前
ニコベンチャーズ トレーディング リミテッド
エアロゾル供給デバイス用のユーザインターフェースモジュール
20日前
ニコベンチャーズ トレーディング リミテッド
不燃式エアロゾル供給デバイスと共に使用するためのエアロゾル生成材料の本体
20日前
アール・エイ・アイ・ストラテジック・ホールディングス・インコーポレイテッド
電子喫煙物品における複数のエアロゾル化可能材料の制御可能な送達のための貯蔵部および加熱部システム
20日前
ニコベンチャーズ トレーディング リミテッド
送達システムのための構成要素、並びに送達システムのための構成要素を製造するための方法及び装置
20日前
株式会社アイシン
フッ化物イオン電池用電解液
25日前
続きを見る
他の特許を見る