TOP
|
特許
|
意匠
|
商標
特許ウォッチ
Twitter
他の特許を見る
10個以上の画像は省略されています。
公開番号
2025131924
公報種別
公開特許公報(A)
公開日
2025-09-09
出願番号
2025109370,2024182364
出願日
2025-06-27,2020-01-09
発明の名称
被加熱芳香カートリッジ
出願人
Future Technology株式会社
代理人
主分類
A24D
1/20 20200101AFI20250902BHJP(たばこ;葉巻たばこ;紙巻たばこ;喫煙具)
要約
【課題】熱源によって融解し易く、エアロゾル及び芳香の発生が促進される被加熱芳香発生基材、の製造方法に関する。
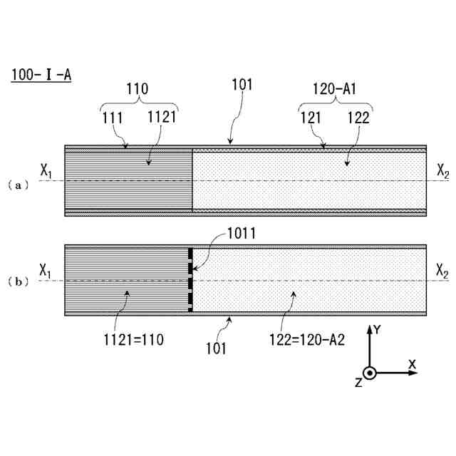
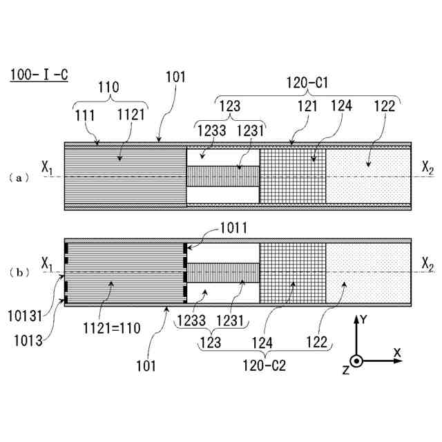
【解決手段】被加熱芳香発生基材を被加熱芳香発生基材ラッピング部材111で巻装した被加熱芳香発生源110と、被加熱芳香発生源に隣接する支持部材123と、支持部材に隣接する冷却部材124と、冷却部材に隣接するフィルター部材122と、被加熱芳香発生源に対して支持部材とは反対側に配置され、合成繊維を素材とするカバーと、支持部材を巻装し、筒状の巻物である第1個別ラッピング部材と、フィルター部材を巻装し、筒状の巻物である第2個別ラッピング部材と、カバー、被加熱芳香発生源、支持部材、冷却部材、フィルター部材を巻き上げて一体化して収納する筒状の被加熱芳香カートリッジ外装部材101と、を有し、支持部材は、接着剤を介して第1個別ラッピング部材に巻装されることを特徴とする、被加熱芳香カートリッジ。
【選択図】図3-I-C
特許請求の範囲
【請求項1】
被加熱芳香発生基材を被加熱芳香発生基材ラッピング部材で巻装した被加熱芳香発生源と、
前記被加熱芳香発生源に隣接する支持部材と、
前記支持部材に隣接する冷却部材と、
前記冷却部材に隣接するフィルター部材と、
前記被加熱芳香発生源に対して前記支持部材とは反対側に配置され、合成繊維を素材とするカバーと、
前記支持部材を巻装し、筒状の巻物である第1個別ラッピング部材と、
前記フィルター部材を巻装し、筒状の巻物である第2個別ラッピング部材と、
前記カバー、前記被加熱芳香発生源、前記支持部材、前記冷却部材、前記フィルター部材を巻き上げて一体化して収納する筒状の被加熱芳香カートリッジ外装部材と、を有し、
前記支持部材は、接着剤を介して前記第1個別ラッピング部材に巻装されることを特徴とする、被加熱芳香カートリッジ。
発明の詳細な説明
【技術分野】
【0001】
本発明は、火炎ではなく、ヒーター等の熱源によって伝達された熱によってエアロゾル及び芳香を発生する、少なくとも、芳香源材、エアロゾルフォーマ、及び、熱融解物質を含有する不均質な被加熱芳香発生基材、その基材を用いた被加熱芳香発生源、その発生源を備えた被加熱芳香カートリッジ、並びに、その基材の製造方法に関する。特に、熱源によって融解し易く、エアロゾル及び芳香の発生が促進されると共に、強靭性が高く、成形加工性に優れている被加熱芳香発生基材、その基材を用いた被加熱芳香発生源、その発生源を備えた被加熱芳香カートリッジ、及び、その基材の製造方法に関する。
続きを表示(約 2,200 文字)
【0002】
従来、上記「被加熱芳香発生基材」は、「エアロゾル形成基材」と呼称されることが多かったが、加熱することによって、エアロゾルを形成するエアロゾルフォーマと共に、芳香植物等の芳香源材や芳香剤の香り成分も揮発され、エアロゾルの煙と芳香源材や芳香剤の香りを喫煙によって楽しむことから、本発明においては、「被加熱芳香発生基材」と呼称する。これに基づき、エアロゾル形成基材が充填された「エアロゾル形成体」、及び、エアロゾル形成体を備えた「電子タバコカートリッジ」を、それぞれ、「被加熱芳香発生源」、及び、「被加熱芳香カートリッジ」と呼称する。
【背景技術】
【0003】
近年、タバコの禁煙が、職場や飲食店等の人が集う空間に幅広く普及する傾向に従って、タバコを火炎で燃焼して喫煙する人が減少するのに対し、ヒーター等の熱源によって伝達された熱によってエアロゾルを発生するエアロゾルフォーマ、ナス科タバコ属のタバコ植物を含む芳香源材を含有する、被加熱芳香発生基材を用いて形成される被加熱芳香発生源を備えた被加熱芳香カートリッジを加熱式喫煙具で喫煙する人が急激に増加している。この加熱式喫煙によれば、従来のタバコの熱分解及び燃焼によって生成される有害成分の吸引が低減されるためであり、加熱式喫煙を楽しむための各種製品に関する技術開発が活発に行われている(例えば、特許文献1~5)。
【0004】
このような加熱式喫煙のメカニズムは、加熱式喫煙具、被加熱芳香カートリッジ等の形態によって異なるが、その典型的な例を次に示す。一端に被加熱芳香発生基材が充填された被加熱芳香発生源を、他端にマウスピースを備えた被加熱芳香カートリッジは、被加熱芳香発生源を加熱式喫煙具の熱源と接触するように装着されて加熱されると、被加熱芳香発生源からエアロゾルフォーマ及びタバコ植物を含む芳香源材の揮発物等が放出されると同時に、この揮発物は、喫煙者の吸引によって空気と共に他端のマウスピース側に吸い込まれる。この揮発物の搬送工程において、エアロゾルフォーマの揮発物は冷却、凝縮して、煙のようなエアロゾルを形成すると共に、その他の揮発物は、喫煙者の口及び鼻に芳香を与え、その結果として喫煙を楽しむことができる。従って、加熱式喫煙の場合、被加熱芳香発生基材に含まれるグリセリンやプロピレングリコール等のエアロゾルフォーマを揮発させることができる200~350℃程度、すなわち、タバコの葉の熱分解が開始する程度の温度で喫煙でき、タバコの葉が燃焼することがないので、有害物質の発生が極めて少なく、喫煙者及び喫煙者の周辺にいる受動喫煙者の有害物質吸引量が大幅に低減される。
【0005】
更に有害物質を低減させるため、被加熱芳香発生源を構成する被加熱芳香発生基材に占めるタバコの含有量を減少させる材料設計が施されている。例えば、タバコ植物の代替え材料として、様々な芳香を発生する非タバコ植物の併用、更には、タバコ植物を全く使用することなく、非タバコ植物だけでも心地よい喫煙を楽しむこともできる、ニコチンレスの被加熱高芳香発生基材も開発されている(特許文献5)。一方、従来のタバコの製造工程で生じたタバコの茎、葉片、及び、粉塵等を使用して、材料の有効活用及び材料コストの削減も図られている。
【0006】
これに対し、従来の火炎によってタバコを燃焼する火炎式喫煙の場合、少なくとも燃焼するための600℃を超える温度が必要であり、喫煙時には最高900℃に達することがあり、火炎式喫煙の有害物質の発生量は極めて多くなる。しかし、タバコ植物以外の成分が含まれていないため、タバコの燃焼によって、喫煙者の視覚的欲求を満足させる煙、喫煙者がタバコに依存する根源となるニコチン、そして、無数の芳香成分を十分に発生する。
【0007】
このような加熱式喫煙と火炎式喫煙との本質的なメカニズムの違いから、紙巻きタバコに相当する被加熱芳香カートリッジを構成する被加熱芳香発生源に充填される被加熱芳香発生基材は、喫煙者が欲する、タバコ植物から発生する芳香やニコチンばかりでなく、非タバコ植物から発生する様々な芳香も抑制される材料構成となっている。
【0008】
まず、上述したように、燃焼することなく煙に見えるエアロゾルを生成するためのエアロゾルフォーマが不可欠な材料として、被加熱芳香発生基材を構成する。
【0009】
そして、特許文献1~5には、タバコ植物から発生する芳香やニコチンばかりでなく、非タバコ植物から発生する様々な芳香も抑制する次のような材料で、被加熱芳香発生基材が構成されていると記載されている。
【0010】
被加熱芳香発生基材の必須成分であるエアロゾルフォーマは、グリセリンやプロピレングリコール等の液体であるため、タバコ植物及び非タバコ植物と混合しても保持されるように、安全性の高い結合剤が用いられている。代表的なものとしては、多糖類系天然高分子やセルロース系天然高分子をあげることができる。更に、これらの結束力を高め、柱状の被加熱芳香発生基材に成形加工できるように、セルロース繊維が加えられる場合もある。
(【0011】以降は省略されています)
この特許をJ-PlatPat(特許庁公式サイト)で参照する
関連特許
個人
ヒートスティック除去具
4か月前
日本たばこ産業株式会社
香味吸引物品
1か月前
個人
電子タバコの加熱素子
4か月前
日本たばこ産業株式会社
香味発生物品
1か月前
日本たばこ産業株式会社
喫煙システム
2か月前
日本たばこ産業株式会社
口腔用組成物
2か月前
個人
フレーバ用ブースター器具およびシーシャ装置
3か月前
東莞市佳かい精密金属制品有限公司
充電可能な電子タバコケース
3か月前
日本たばこ産業株式会社
香味吸引システム
2か月前
Future Technology株式会社
エアロゾル吸引カートリッジ
1か月前
日本たばこ産業株式会社
香味吸引システム
2か月前
エム・クリエイト株式会社
灰皿装置及び灰皿管理システム
4か月前
日本たばこ産業株式会社
低香味原料を含むたばこセグメント
1か月前
Future Technology株式会社
たばこ用組成物、E-リキッド、たばこ製品
7日前
日本たばこ産業株式会社
粒状再生セルロースを含有する口腔用組成物
2か月前
日本たばこ産業株式会社
香味発生物品および香味吸引システム
2か月前
日本たばこ産業株式会社
電子装置
3か月前
日本たばこ産業株式会社
吸引器
3か月前
Future Technology株式会社
喫煙器具
1か月前
Future Technology株式会社
芳香基材
3か月前
日本たばこ産業株式会社
たばこ材料、その製造方法、および非燃焼加熱型喫煙物品
1か月前
Future Technology株式会社
芳香カートリッジ
4か月前
Future Technology株式会社
芳香カートリッジ
22日前
Future Technology株式会社
芳香カートリッジ
4か月前
Future Technology株式会社
芳香カートリッジ
5か月前
Future Technology株式会社
タバコ充填物集積体
2か月前
Future Technology株式会社
喫煙具用カートリッジ
3か月前
Future Technology株式会社
喫煙具用カートリッジ
2か月前
Future Technology株式会社
喫煙具用カートリッジ
3か月前
Future Technology株式会社
喫煙具用カートリッジ
2か月前
Future Technology株式会社
喫煙具用カートリッジ
4か月前
Future Technology株式会社
喫煙具用カートリッジ
4か月前
Future Technology株式会社
喫煙具用カートリッジ
3か月前
Future Technology株式会社
喫煙具用カートリッジ
3か月前
日本たばこ産業株式会社
たばこ用の組成物
5か月前
Future Technology株式会社
喫煙具用カートリッジ
1か月前
続きを見る
他の特許を見る