TOP
|
特許
|
意匠
|
商標
特許ウォッチ
Twitter
他の特許を見る
公開番号
2025111707
公報種別
公開特許公報(A)
公開日
2025-07-30
出願番号
2025074877
出願日
2025-04-28
発明の名称
電子霧化装置
出願人
シェンチェン ギークベイプ テクノロジー カンパニー リミテッド
代理人
弁理士法人ドライト国際特許事務所
主分類
A24F
40/51 20200101AFI20250723BHJP(たばこ;葉巻たばこ;紙巻たばこ;喫煙具)
要約
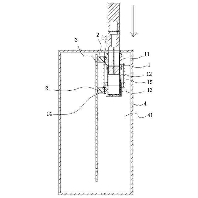
【課題】物理ボタンによる誤始動での加熱を防止するとともに、加熱効率を向上させ、加熱をタイムリーに停止させて電力を節約することができる電子霧化装置を提供する。
【解決手段】霧化基質の挿着およびベーキングに用いられる霧化キャビティ10を有する霧化コンポーネント1と、霧化キャビティの外側または内側に設置され、霧化キャビティ内に霧化基質が挿着されているか否かを検出するセット検知センサー2と、霧化コンポーネントおよびセット検知センサーにそれぞれ電気的に接続される回路板3と、を含む。セット検知センサーはトリガースイッチとして、霧化キャビティ内に霧化基質が挿着されていることを検出した場合、加熱の開始をトリガーし、霧化キャビティ内に霧化基質が挿着されていることを検出していない場合、加熱の停止をトリガーし、利用者が霧化基質を挿入すると自動的に加熱を開始させ、霧化基質を抜き取ると自動的に加熱を停止させる。
【選択図】図1
特許請求の範囲
【請求項1】
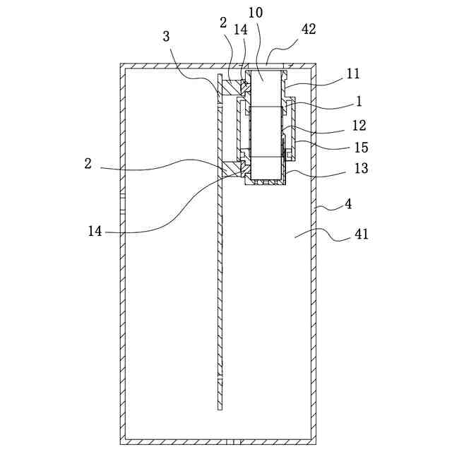
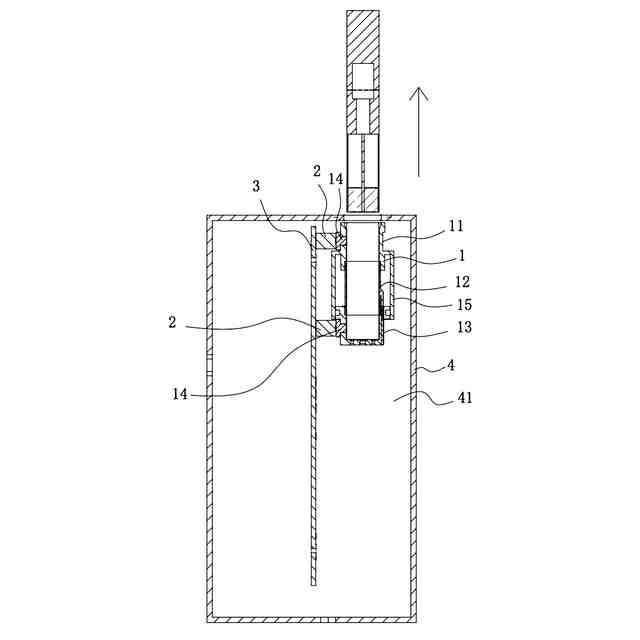
霧化基質の挿着およびベーキングに用いられる霧化キャビティを有する霧化コンポーネントと、
前記霧化キャビティの外側または内側に設置されており、前記霧化キャビティ内に前記霧化基質が挿着されているか否かを検出するセット検知センサーと、
前記霧化コンポーネントおよび前記セット検知センサーにそれぞれ電気的に接続されている回路板と、を含み、
ここで、前記セット検知センサーが前記霧化キャビティに挿入された前記霧化基質を検出した場合、前記霧化コンポーネントがトリガーされて加熱を開始させ、
前記セット検知センサーが前記霧化キャビティに挿入された前記霧化基質を検出していない場合、前記霧化コンポーネントがトリガーされて加熱を停止させる、
電子霧化装置。
続きを表示(約 1,500 文字)
【請求項2】
前記セット検知センサーは少なくとも2つあり、少なくとも2つの前記セット検知センサーは前記霧化キャビティの軸方向における異なる位置に分布しており、少なくとも2つの前記セット検知センサーが挿入された前記霧化基質を同時に検出した場合、前記霧化コンポーネントがトリガーされて加熱を開始させ、少なくとも2つの前記セット検知センサーのうちの1つが挿入された前記霧化基質を検出していない場合、前記霧化コンポーネントがトリガーされて加熱を停止させる、
請求項1に記載の電子霧化装置。
【請求項3】
前記霧化キャビティは対向する第1端と第2端を有し、前記第1端は開口を有し、前記開口は前記霧化基質の挿着に用いられ、前記第2端は吸気孔を有し、前記吸気孔は空気の導入に用いられ、前記霧化キャビティの前記第1端には1つの前記セット検知センサーが対応して設置され、前記霧化キャビティの前記第2端には他の1つの前記セット検知センサーが対応して設置されている、
請求項2に記載の電子霧化装置。
【請求項4】
前記霧化コンポーネントは第1取付座と、加熱管と、第2取付座とを含み、前記加熱管の一端が前記第1取付座に接続され、前記加熱管の他端が前記第2取付座に接続され、前記第1取付座、前記加熱管および前記第2取付座で囲んで前記霧化キャビティを形成し、前記第1取付座は1つの前記セット検知センサーに接続され、前記第2取付座は他の1つの前記セット検知センサーに接続されている、
請求項3に記載の電子霧化装置。
【請求項5】
前記第1取付座および前記第2取付座にはそれぞれ径方向のスルーホールが設けられており、前記セット検知センサーは前記スルーホールの外側に位置し、前記セット検知センサーは前記スルーホールによって前記霧化キャビティ内に前記霧化基質が挿着されているか否かを検出する、
請求項4に記載の電子霧化装置。
【請求項6】
前記スルーホール内には透光部品が取り付けられており、前記セット検知センサーは光電センサであり、前記光電センサは前記透光部品によって前記霧化キャビティ内に前記霧化基質が挿着されているか否かを検出する、
請求項5に記載の電子霧化装置。
【請求項7】
前記第1取付座および前記第2取付座にはそれぞれ径方向のスルーホールが設けられ、前記セット検知センサーの一部または全部は前記スルーホール内に取り付けられており、前記セット検知センサーは前記スルーホールによって前記霧化キャビティ内に前記霧化基質が挿着されているか否かを検出する、
請求項4に記載の電子霧化装置。
【請求項8】
前記セット検知センサーは光電センサまたは接触式センサである、
請求項4に記載の電子霧化装置。
【請求項9】
前記霧化コンポーネントは外筒体をさらに含み、前記外筒体は、前記加熱管の周方向の外側に間隔をおいて設置され、前記外筒体の一端が前記第1取付座に接続され、前記外筒体の他端が前記第2取付座に接続され、前記外筒体と前記加熱管との間には断熱キャビティが形成されている、
請求項4に記載の電子霧化装置。
【請求項10】
霧化筐体と電池とをさらに含み、前記霧化コンポーネント、前記セット検知センサー、前記回路板および前記電池は前記霧化筐体内に位置し、前記電池は前記回路板に電気的に接続されている、
請求項1~9のいずれか一項に記載の電子霧化装置。
発明の詳細な説明
【技術分野】
【0001】
本願は、2024年05月06日に中国専利局に出願された出願番号が202420963212.9である中国出願の優先権を主張し、その出願に記載されたすべての記載内容を援用するものである。
続きを表示(約 1,600 文字)
【0002】
本願は、霧化技術分野に関し、具体的に電子霧化装置に関する。
【背景技術】
【0003】
従来の加熱非燃焼型の電子霧化装置は、挿着されたシガレットを吸うことに用いられ、電子霧化装置内には挿入されたシガレットの煙草部を加熱する加熱部品が設けられており、煙草部はベーキングされた後に煙が発生する。
【0004】
従来の電子霧化装置には通常、物理ボタンが設置されており、利用者が物理ボタンを押すことで加熱部品のシガレットに対する加熱制御を実現する。しかし、物理ボタンを用いると誤始動が起こりやすく、物理ボタンを押しさえすれば加熱を開始させるため、シガレットが挿着されていない場合、空焚きが発生し、電子霧化装置が損傷される恐れがある。
【発明の概要】
【発明が解決しようとする課題】
【0005】
本発明は、誤始動での加熱により空焚きが発生するという課題を解決するための、電子霧化装置を提供する。
【課題を解決するための手段】
【0006】
一実施例では、電子霧化装置を提供し、この電子霧化装置は、
霧化基質の挿着およびベーキングに用いられる霧化キャビティを有する霧化コンポーネントと、
前記霧化キャビティの外側または内側に設置されており、前記霧化キャビティ内に前記霧化基質が挿着されているか否かを検出するセット検知センサーと、
前記霧化コンポーネントおよび前記セット検知センサーにそれぞれ電気的に接続されている回路板と、を含み、
ここで、前記セット検知センサーが前記霧化キャビティに挿入された前記霧化基質を検出した場合、前記霧化コンポーネントがトリガーされて加熱を開始させ、
前記セット検知センサーが前記霧化キャビティに挿入された前記霧化基質を検出していない場合、前記霧化コンポーネントがトリガーされて加熱を停止させる。
【0007】
一実施例では、前記セット検知センサーは少なくとも2つであり、少なくとも2つの前記セット検知センサーは前記霧化キャビティの軸方向における異なる位置に分布している。少なくとも2つの前記セット検知センサーが挿入された前記霧化基質を同時に検出した場合、前記霧化コンポーネントがトリガーされて加熱を開始させる。少なくとも2つの前記セット検知センサーのうちの1つが挿入された前記霧化基質を検出していない場合、前記霧化コンポーネントがトリガーされて加熱を停止させる。
【0008】
一実施例では、前記霧化キャビティは対向する第1端と第2端を有し、前記第1端は開口を有し、前記開口は前記霧化基質の挿着に用いられ、前記第2端は吸気孔を有し、前記吸気孔は空気の導入に用いられる。前記霧化キャビティの前記第1端には1つの前記セット検知センサーが対応して設置され、前記霧化キャビティの前記第2端には他の1つの前記セット検知センサーが対応して設置されている。
【0009】
一実施例では、前記霧化コンポーネントは第1取付座と、加熱管と、第2取付座とを含み、前記加熱管の一端が前記第1取付座に接続され、前記加熱管の他端が前記第2取付座に接続されおり、前記第1取付座、前記加熱管および前記第2取付座で囲んで前記霧化キャビティを形成する。前記第1取付座は1つの前記セット検知センサーに接続され、前記第2取付座は他の1つの前記セット検知センサーに接続されている。
【0010】
一実施例では、前記第1取付座および前記第2取付座にはそれぞれ径方向のスルーホールが設けられており、前記セット検知センサーは前記スルーホールの外側に位置し、前記セット検知センサーは前記スルーホールによって前記霧化キャビティ内に前記霧化基質が挿着されているか否かを検出する。
(【0011】以降は省略されています)
この特許をJ-PlatPat(特許庁公式サイト)で参照する
関連特許
個人
ヒートスティック除去具
4か月前
日本たばこ産業株式会社
香味吸引物品
1か月前
個人
電子タバコの加熱素子
4か月前
日本たばこ産業株式会社
喫煙システム
2か月前
日本たばこ産業株式会社
香味発生物品
1か月前
個人
フレーバ用ブースター器具およびシーシャ装置
3か月前
日本たばこ産業株式会社
口腔用組成物
2か月前
東莞市佳かい精密金属制品有限公司
充電可能な電子タバコケース
3か月前
日本たばこ産業株式会社
香味吸引システム
2か月前
日本たばこ産業株式会社
香味吸引システム
2か月前
Future Technology株式会社
エアロゾル吸引カートリッジ
1か月前
日本たばこ産業株式会社
低香味原料を含むたばこセグメント
1か月前
Future Technology株式会社
たばこ用組成物、E-リキッド、たばこ製品
7日前
日本たばこ産業株式会社
粒状再生セルロースを含有する口腔用組成物
2か月前
日本たばこ産業株式会社
香味発生物品および香味吸引システム
2か月前
日本たばこ産業株式会社
電子装置
3か月前
Future Technology株式会社
喫煙器具
1か月前
Future Technology株式会社
芳香基材
3か月前
日本たばこ産業株式会社
吸引器
3か月前
日本たばこ産業株式会社
たばこ材料、その製造方法、および非燃焼加熱型喫煙物品
1か月前
Future Technology株式会社
芳香カートリッジ
4か月前
Future Technology株式会社
芳香カートリッジ
4か月前
Future Technology株式会社
芳香カートリッジ
22日前
Future Technology株式会社
タバコ充填物集積体
2か月前
Future Technology株式会社
喫煙具用カートリッジ
4か月前
Future Technology株式会社
喫煙具用カートリッジ
3か月前
Future Technology株式会社
喫煙具用カートリッジ
3か月前
Future Technology株式会社
喫煙具用カートリッジ
4か月前
Future Technology株式会社
喫煙具用カートリッジ
1か月前
Future Technology株式会社
喫煙具用カートリッジ
3か月前
Future Technology株式会社
喫煙具用カートリッジ
2か月前
Future Technology株式会社
喫煙具用カートリッジ
2か月前
Future Technology株式会社
喫煙具用カートリッジ
3か月前
Future Technology株式会社
電子タバコカートリッジ
2か月前
Future Technology株式会社
電子タバコカートリッジ
2か月前
Future Technology株式会社
電子タバコカートリッジ
13日前
続きを見る
他の特許を見る