TOP
|
特許
|
意匠
|
商標
特許ウォッチ
Twitter
他の特許を見る
公開番号
2025170021
公報種別
公開特許公報(A)
公開日
2025-11-14
出願番号
2025141612,2023556037
出願日
2025-08-27,2021-10-29
発明の名称
吸引装置、基材、及び制御方法
出願人
日本たばこ産業株式会社
代理人
個人
,
個人
,
個人
主分類
A24F
40/50 20200101AFI20251107BHJP(たばこ;葉巻たばこ;紙巻たばこ;喫煙具)
要約
【課題】電圧の調整に伴う不都合の発生を抑制することが可能な仕組みを提供する。
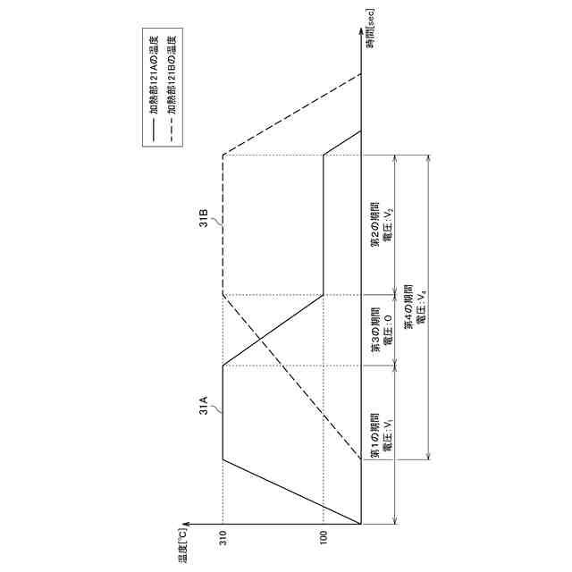
【解決手段】エアロゾル源を含有した基材を加熱してエアロゾルを生成する加熱部と、前記加熱部の温度の目標値である目標温度の時系列推移を規定する温度設定に基づいて、前記加熱部の動作を制御する制御部と、を備え、前記制御部は、前記温度設定に含まれる複数の期間のうち、第1の期間において第1の電圧が前記加熱部に印可され、前記第1の期間とは異なる第2の期間において前記第1の電圧とは異なる第2の電圧が前記加熱部に印可され、前記第1の期間と前記第2の期間との間に含まれる第3の期間において電圧が前記加熱部に印可されず、前記第2の期間の後に続く第5の期間において電圧が前記加熱部に印可されないよう制御する、吸引装置。
【選択図】図1
特許請求の範囲
【請求項1】
エアロゾル源を含有した基材を加熱してエアロゾルを生成する加熱部と、
前記加熱部の温度の目標値である目標温度の時系列推移を規定する温度設定に基づいて、前記加熱部の動作を制御する制御部と、
を備え、
前記制御部は、前記温度設定に含まれる複数の期間のうち、第1の期間において第1の電圧が前記加熱部に印可され、前記第1の期間とは異なる第2の期間において前記第1の電圧とは異なる第2の電圧が前記加熱部に印可され、前記第1の期間と前記第2の期間との間に含まれる第3の期間において電圧が前記加熱部に印可されず、前記第2の期間の後に続く第5の期間において電圧が前記加熱部に印可されないよう制御する、
吸引装置。
続きを表示(約 830 文字)
【請求項2】
前記第3の期間は、前記加熱部の温度が低下する期間である、
請求項1に記載の吸引装置。
【請求項3】
前記第1の期間は、前記加熱部の温度が加熱開始時の温度から所定の温度まで上昇する期間である、
請求項1又は2に記載の吸引装置。
【請求項4】
前記第2の期間は、前記加熱部の温度が低下した後に、前記加熱部の温度が維持される又は上昇する期間である、
請求項1~3のいずれか一項に記載の吸引装置。
【請求項5】
前記第1の電圧は、前記第2の電圧よりも高い、
請求項1~4のいずれか一項に記載の吸引装置。
【請求項6】
前記制御部は、環境温度に基づいて、前記第1の電圧又は前記第2の電圧の少なくともいずれか1つを制御する、
請求項1~5のいずれか一項に記載の吸引装置。
【請求項7】
前記制御部は、前記環境温度が第1の基準値未満である場合に、前記第1の電圧又は前記第2の電圧の少なくともいずれか1つをより高い値に設定する、
請求項6に記載の吸引装置。
【請求項8】
前記制御部は、前記環境温度が第2の基準値以上である場合に、前記第1の電圧又は前記第2の電圧の少なくともいずれか1つをより低い値に設定する、
請求項6又は7に記載の吸引装置。
【請求項9】
前記制御部は、前記温度設定に基づいて前記加熱部の動作を制御する前に、前記環境温度に基づいて前記第1の電圧又は前記第2の電圧の少なくともいずれか1つを決定する、
請求項6~8のいずれか一項に記載の吸引装置。
【請求項10】
前記制御部は、前記第1の期間における前記加熱部の温度に基づいて、前記第2の電圧を制御する、
請求項1~9のいずれか一項に記載の吸引装置。
(【請求項11】以降は省略されています)
発明の詳細な説明
【技術分野】
【0001】
本発明は、吸引装置、基材、及び制御方法に関する。
続きを表示(約 1,300 文字)
【背景技術】
【0002】
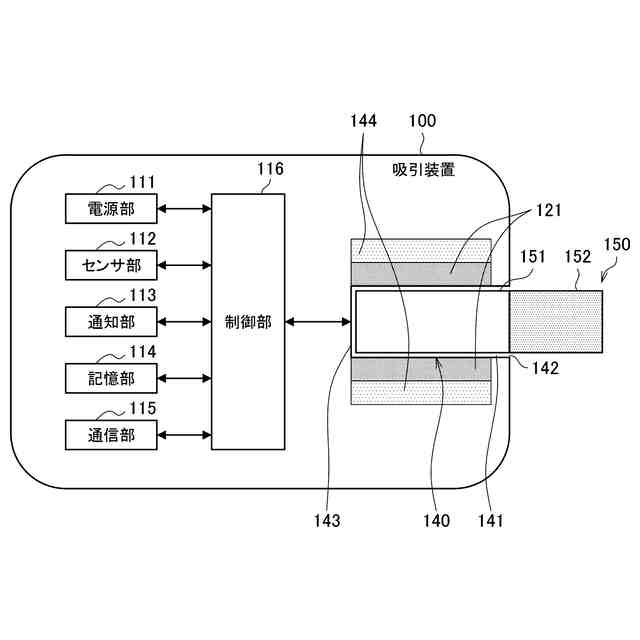
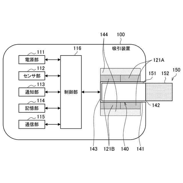
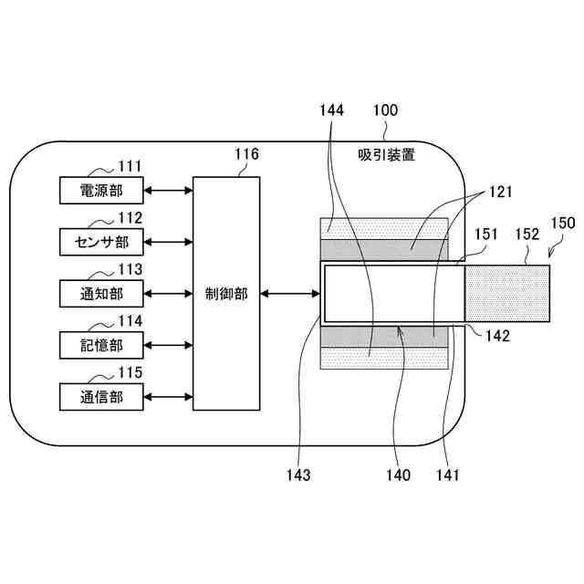
電子タバコ及びネブライザ等の、ユーザに吸引される物質を生成する吸引装置が広く普及している。例えば、吸引装置は、エアロゾルを生成するためのエアロゾル源、及び生成されたエアロゾルに香味成分を付与するための香味源等を含む基材を用いて、香味成分が付与されたエアロゾルを生成する。ユーザは、吸引装置により生成された、香味成分が付与されたエアロゾルを吸引することで、香味を味わうことができる。ユーザがエアロゾルを吸引する動作を、以下ではパフ又はパフ動作とも称する。
【0003】
典型的には、吸引装置は、基材を加熱することでエアロゾルを生成する。ユーザ体験の質は、基材を加熱する温度から大きく影響を受けるため、適切な温度制御を実現するための技術開発が行われている。例えば、下記特許文献1には、基材を加熱する発熱素子の温度に基づいて、加熱素子への出力電圧を調整する技術が開示されている。
【先行技術文献】
【特許文献】
【0004】
特許第6667690号公報
【発明の概要】
【発明が解決しようとする課題】
【0005】
典型的には、基材を加熱する期間において、ユーザにより行われるパフ等の影響で発熱素子の温度は不規則に変化するので、上記特許文献1に記載の技術では、出力電圧が頻繁に調整されることになり得る。このような不規則且つ頻繁な電圧の調整は、種々の不都合を引き起こし得る。
【0006】
そこで、本発明は、上記問題に鑑みてなされたものであり、本発明の目的とするところは、電圧の調整に伴う不都合の発生を抑制することが可能な仕組みを提供することにある。
【課題を解決するための手段】
【0007】
上記課題を解決するために、本発明のある観点によれば、エアロゾル源を含有した基材を加熱してエアロゾルを生成する加熱部と、前記加熱部の温度の目標値である目標温度の時系列推移を規定する温度設定に基づいて、前記加熱部の動作を制御する制御部と、を備え、前記制御部は、前記温度設定に含まれる複数の期間のうち、第1の期間において第1の電圧が前記加熱部に印可され、前記第1の期間とは異なる第2の期間において前記第1の電圧とは異なる第2の電圧が前記加熱部に印可され、前記第1の期間と前記第2の期間との間に含まれる第3の期間において電圧が前記加熱部に印可されず、前記第2の期間の後に続く第5の期間において電圧が前記加熱部に印可されないよう制御する、吸引装置が提供される。
【0008】
前記第3の期間は、前記加熱部の温度が低下する期間であってもよい。
【0009】
前記第1の期間は、前記加熱部の温度が加熱開始時の温度から所定の温度まで上昇する期間であってもよい。
【0010】
前記第2の期間は、前記加熱部の温度が低下した後に、前記加熱部の温度が維持される又は上昇する期間であってもよい。
(【0011】以降は省略されています)
この特許をJ-PlatPat(特許庁公式サイト)で参照する
関連特許
日本たばこ産業株式会社
香味吸引物品
2か月前
日本たばこ産業株式会社
喫煙システム
3か月前
日本たばこ産業株式会社
口腔用組成物
3か月前
日本たばこ産業株式会社
香味発生物品
2か月前
東莞市佳かい精密金属制品有限公司
充電可能な電子タバコケース
3か月前
日本たばこ産業株式会社
香味吸引システム
3か月前
Future Technology株式会社
エアロゾル吸引カートリッジ
2か月前
日本たばこ産業株式会社
香味吸引システム
3か月前
日本たばこ産業株式会社
低香味原料を含むたばこセグメント
2か月前
Future Technology株式会社
たばこ用組成物、E-リキッド、たばこ製品
18日前
日本たばこ産業株式会社
香味発生物品および香味吸引システム
3か月前
日本たばこ産業株式会社
粒状再生セルロースを含有する口腔用組成物
3か月前
日本たばこ産業株式会社
電子装置
3か月前
日本たばこ産業株式会社
吸引器
3か月前
Future Technology株式会社
喫煙器具
2か月前
Future Technology株式会社
芳香基材
4か月前
日本たばこ産業株式会社
たばこ材料、その製造方法、および非燃焼加熱型喫煙物品
2か月前
Future Technology株式会社
芳香カートリッジ
1か月前
Future Technology株式会社
タバコ充填物集積体
2か月前
Future Technology株式会社
被加熱芳香発生基材
3日前
Future Technology株式会社
喫煙具用カートリッジ
2か月前
Future Technology株式会社
喫煙具用カートリッジ
2か月前
Future Technology株式会社
喫煙具用カートリッジ
3か月前
Future Technology株式会社
喫煙具用カートリッジ
3か月前
Future Technology株式会社
喫煙具用カートリッジ
3か月前
Future Technology株式会社
喫煙具用カートリッジ
4か月前
Future Technology株式会社
喫煙具用カートリッジ
1か月前
Future Technology株式会社
電子タバコカートリッジ
2か月前
Future Technology株式会社
電子タバコカートリッジ
2か月前
Future Technology株式会社
電子タバコカートリッジ
2か月前
Future Technology株式会社
電子タバコカートリッジ
24日前
Future Technology株式会社
被加熱芳香カートリッジ
2か月前
Future Technology株式会社
電子タバコカートリッジ
3か月前
シェンチェン ギークベイプ テクノロジー カンパニー リミテッド
電子霧化装置
3か月前
日本たばこ産業株式会社
非燃焼式吸引器
4か月前
Future Technology株式会社
加熱式タバコ用カートリッジ
2か月前
続きを見る
他の特許を見る