TOP
|
特許
|
意匠
|
商標
特許ウォッチ
Twitter
他の特許を見る
10個以上の画像は省略されています。
公開番号
2025143419
公報種別
公開特許公報(A)
公開日
2025-10-01
出願番号
2025113309,2023562614
出願日
2025-07-03,2022-04-14
発明の名称
低発火性エアロゾル発生物品
出願人
ケーティー アンド ジー コーポレイション
代理人
弁理士法人太陽国際特許事務所
主分類
A24D
1/02 20060101AFI20250924BHJP(たばこ;葉巻たばこ;紙巻たばこ;喫煙具)
要約
【課題】低発火性エアロゾル発生物品を提供する。
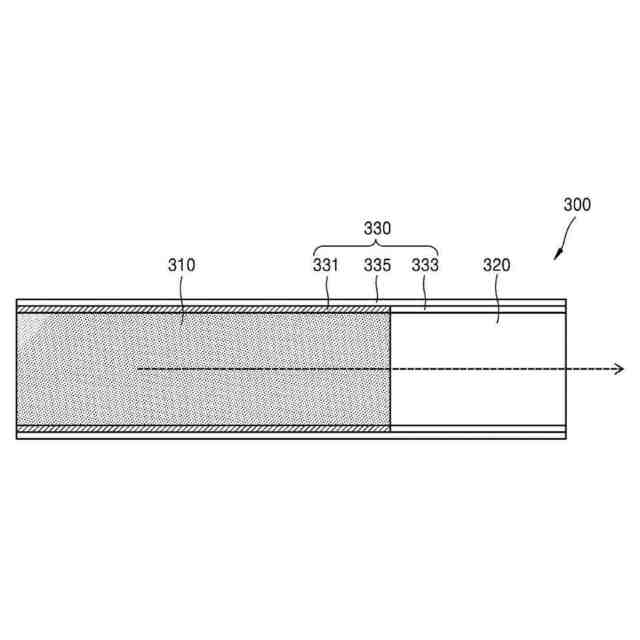
【解決手段】低発火性エアロゾル発生物品が提供され、本開示のいくつかの実施例によるエアロゾル発生物品300は、エアロゾル発生装置と共に使用されるものであり、エアロゾル形成基材部310、フィルタ部320、及び該エアロゾル形成基材部の少なくとも一部を覆い包んでいる難燃性紙素材のラッパ330を含むものでもあり、該難燃性紙素材は、喫煙中、異常高温によるラッパの発火可能性を低減させることにより、ユーザの喫煙安全性を向上させることができ、ユーザの点火行為によるエアロゾル発生物品の発火可能性を低減させることにより、ユーザが意図しない喫煙体験をしてしまうことも事前に防止することができる。
【選択図】図1
特許請求の範囲
【請求項1】
エアロゾル発生装置と共に使用されるエアロゾル発生物品であり、
エアロゾル形成基材部と、
フィルタ部と、
前記エアロゾル形成基材部の少なくとも一部を覆い包んでいる難燃性紙素材のラッパをと、含む、エアロゾル発生物品。
発明の詳細な説明
【技術分野】
【0001】
本発明は、低発火性エアロゾル発生物品に係り、さらに詳細には、エアロゾル発生装置と共に使用される加熱式エアロゾル発生物品であり、低い発火性を有するように考案されたエアロゾル発生物品に関する。
続きを表示(約 1,500 文字)
【背景技術】
【0002】
伝統シガレットの形態は、燃焼式であったが、最近、燃焼式シガレットの短所を克服する代替物品を求める需要が増大している。例えば、電気的な加熱を介してエアロゾルを発生させる装置と、それと共に使用される加熱式シガレットとを求めるに需要が増大しており、それにより、加熱式シガレットに係わる研究が活発に進められている。
【0003】
なお、燃焼式シガレットと類似して、加熱式シガレットも、紙素材のラッパ(wrapper
)によって覆い包まれている。ところで、一般的な紙素材のラッパは、電気的に加熱される間にも、異常高温によって発火され、喫煙安全性問題が提起されている。それだけではなく、2つのシガレットの外観類似性により、ユーザが、点火行為を介し、加熱式シガレットに対する喫煙を試みることもできる。その場合、加熱式シガレットの末端において発火が起こるならば、ユーザは、意図しない喫煙体験を行うことができることにもなる。
【発明の概要】
【発明が解決しようとする課題】
【0004】
本開示のいくつかの実施例を介して解決しようとする技術的課題は、ユーザの喫煙安全性を向上させるために、低い発火性を有する加熱式エアロゾル発生物品を提供することである。
【0005】
本開示のいくつかの実施例を介して解決しようとする他の技術的課題は、ユーザの点火行為による発火可能性を低減させるために、低い発火性を有する加熱式エアロゾル発生物品を提供することである。
【0006】
本開示の技術的課題は、以上で言及された技術的課題に制限されるものではなく、言及されていない他の技術的課題は、以下の記載から、本開示の技術分野における通常の技術者に明確に理解されうるであろう。
【課題を解決するための手段】
【0007】
前記技術的課題を解決するための、本開示のいくつかの実施例によるエアロゾル発生物品は、エアロゾル発生装置と共に使用されるエアロゾル発生物品であり、エアロゾル形成基材部、フィルタ部、及び前記エアロゾル形成基材部の少なくとも一部を覆い包んでいる難燃性紙素材のラッパを含むものでもある。
【発明の効果】
【0008】
本開示のいくつかの実施例によれば、難燃性紙素材のラッパ(wrapper)を含む加熱式
エアロゾル発生物品が提供されうる。該難燃性紙素材は、喫煙中、異常高温によるラッパの発火可能性を低減させることにより、ユーザの喫煙安全性を向上させることができ、ユーザの点火行為によるエアロゾル発生物品の発火可能性を低減させることにより、ユーザが意図しない喫煙体験をしてしまうことも事前に防止することができる。
【0009】
また、適切な物性値を有する難燃性紙素材をラッパとして利用することにより、物品製造工程の作業性が保証され、エアロゾル発生物品の発火性は、さらに低減されうる。例え
ば、約38g/m2ないし48g/m2の坪量と、約50μmないし60μmの厚みを有する難燃性紙素材をラッパとして利用することにより、物品製造工程の作業性が保証され、エアロゾル発生物品の発火性はさらに低減されうる。
【0010】
本開示の技術的思想による効果は、以上で言及した効果に制限されるものではなく、言及されていない他の効果は、以下の記載から、通常の技術者に明確に理解されうるであろう。
【図面の簡単な説明】
(【0011】以降は省略されています)
この特許をJ-PlatPat(特許庁公式サイト)で参照する
関連特許
日本たばこ産業株式会社
香味吸引物品
1か月前
日本たばこ産業株式会社
口腔用組成物
2か月前
日本たばこ産業株式会社
香味発生物品
1か月前
日本たばこ産業株式会社
喫煙システム
2か月前
東莞市佳かい精密金属制品有限公司
充電可能な電子タバコケース
3か月前
日本たばこ産業株式会社
香味吸引システム
2か月前
Future Technology株式会社
エアロゾル吸引カートリッジ
1か月前
日本たばこ産業株式会社
香味吸引システム
2か月前
日本たばこ産業株式会社
低香味原料を含むたばこセグメント
1か月前
Future Technology株式会社
たばこ用組成物、E-リキッド、たばこ製品
10日前
日本たばこ産業株式会社
粒状再生セルロースを含有する口腔用組成物
2か月前
日本たばこ産業株式会社
香味発生物品および香味吸引システム
2か月前
日本たばこ産業株式会社
電子装置
3か月前
日本たばこ産業株式会社
吸引器
3か月前
Future Technology株式会社
喫煙器具
1か月前
日本たばこ産業株式会社
たばこ材料、その製造方法、および非燃焼加熱型喫煙物品
2か月前
Future Technology株式会社
芳香カートリッジ
25日前
Future Technology株式会社
タバコ充填物集積体
2か月前
Future Technology株式会社
喫煙具用カートリッジ
2か月前
Future Technology株式会社
喫煙具用カートリッジ
2か月前
Future Technology株式会社
喫煙具用カートリッジ
1か月前
Future Technology株式会社
喫煙具用カートリッジ
3か月前
Future Technology株式会社
喫煙具用カートリッジ
3か月前
Future Technology株式会社
喫煙具用カートリッジ
3か月前
Future Technology株式会社
電子タバコカートリッジ
2か月前
Future Technology株式会社
被加熱芳香カートリッジ
2か月前
Future Technology株式会社
電子タバコカートリッジ
2か月前
Future Technology株式会社
電子タバコカートリッジ
2か月前
Future Technology株式会社
電子タバコカートリッジ
3か月前
Future Technology株式会社
電子タバコカートリッジ
16日前
シェンチェン ギークベイプ テクノロジー カンパニー リミテッド
電子霧化装置
3か月前
Future Technology株式会社
加熱式タバコ用カートリッジ
2か月前
Future Technology株式会社
加熱式タバコ用カートリッジ
1か月前
Future Technology株式会社
喫煙具用の柱状のカートリッジ
3か月前
日本たばこ産業株式会社
非燃焼加熱型スティック、吸引システム
1か月前
ケーティー アンド ジー コーポレイション
エアロゾル生成システム
25日前
続きを見る
他の特許を見る