TOP
|
特許
|
意匠
|
商標
特許ウォッチ
Twitter
他の特許を見る
10個以上の画像は省略されています。
公開番号
2025114747
公報種別
公開特許公報(A)
公開日
2025-08-05
出願番号
2025078536,2025018664
出願日
2025-05-09,2020-08-28
発明の名称
喫煙具用の柱状のカートリッジ
出願人
Future Technology株式会社
代理人
主分類
A24D
1/02 20060101AFI20250729BHJP(たばこ;葉巻たばこ;紙巻たばこ;喫煙具)
要約
【課題】強度が向上した喫煙具用のカートリッジを提供する。
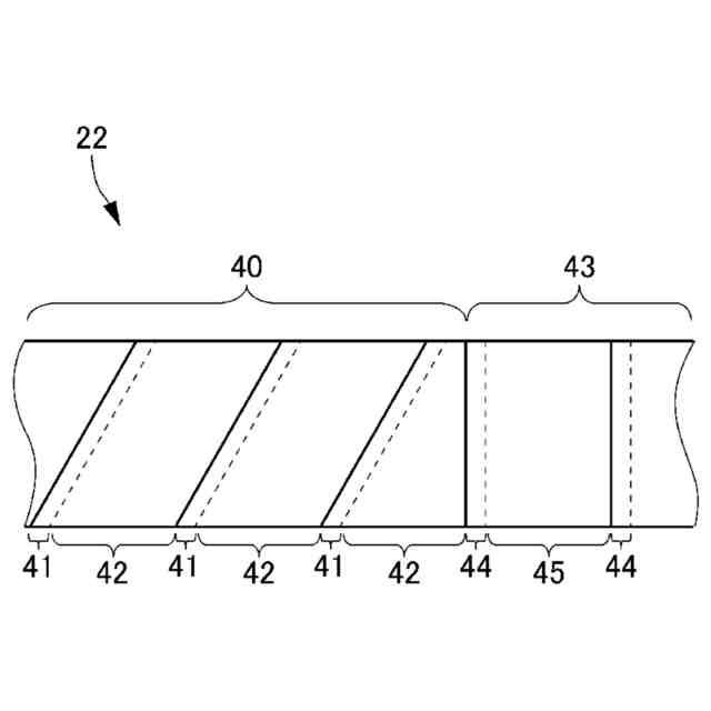
【解決手段】カートリッジは、フィルタ部材と、充填物を含む基材と、フィルタ部材と基材との間に移送部と、支持体と、基材と支持体と移送部とフィルタ部材とをカートリッジの長手方向に配列するように巻装する外装シート22と、を含み、支持体の長さはカートリッジの全長の15%以上30%以下であり、フィルタの長さはカートリッジの全長の15%以上45%以下であり、外装シートは、長手方向に沿った第1範囲40と、長手方向における第1範囲よりもフィルタ部材側の第2範囲43および前記外装シート同士のオーバーラップ部分と、非オーバーラップ部分とを有し、第1(2)範囲におけるオーバーラップ部分を第1(2)オーバーラップ部分としたとき、第2オーバーラップ部分は、長手方向に交差する方向に延在し、第1オーバーラップ部分と、第2オーバーラップ部分は、同じ方向に巻かれている。
【選択図】図9
特許請求の範囲
【請求項1】
喫煙具用の柱状のカートリッジであって、
フィルタ部材と、
充填物を含む基材と、
前記フィルタ部材と前記基材との間に移送部と、支持体と、
前記基材と前記支持体と、前記移送部と、前記フィルタ部材とを前記カートリッジの長手方向に配列するように巻装する外装シートと、
を含み、
前記支持体の長さは前記カートリッジの全長の15%以上30%以下であり、
前記フィルタの長さは、前記カートリッジの全長の15%以上45%以下であり、
前記外装シートは、前記長手方向に沿った第1範囲と、前記長手方向における前記第1範囲よりも前記フィルタ部材側の第2範囲および前記外装シート同士のオーバーラップ部分と、非オーバーラップ部分とを有し、
前記第1範囲における前記オーバーラップ部分を第1オーバーラップ部分、前記第2範囲における前記オーバーラップ部分を第2オーバーラップ部分としたとき、
前記第2オーバーラップ部分は、前記長手方向に交差する方向に延在し、
前記第1オーバーラップ部分と、前記第2オーバーラップ部分は、同じ方向に巻かれている、
ことを特徴とするカートリッジ。
発明の詳細な説明
【技術分野】
【0001】
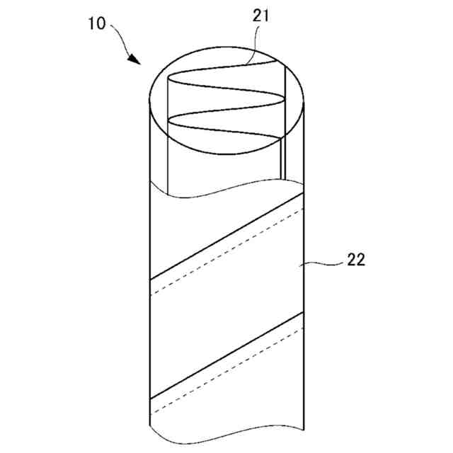
本発明は、喫煙具用の柱状のカートリッジ及び喫煙具用の柱状のカートリッジの製造方法に関する。
続きを表示(約 3,200 文字)
【背景技術】
【0002】
近年、タバコの禁煙の傾向に合わせるために、火炎を用いることなく、タバコの成分を含む喫煙具用の柱状のカートリッジを加熱して、気化したタバコ成分を吸引することで、タバコを楽しむための電子タバコ製品が普及し始めている。このようなカートリッジの構造としては、例えば、フィルタ部材と、タバコの成分を含む充填物を備えた基材と、フィルタ部材と基材との間に設けられ、基材を支持する支持部材と、各部材を一本の柱状に平巻きに包装し、長手方向の末端部分をのり等で接着・固定させる外装シートと、を含んでいる(特許文献1参照)。
【0003】
そして、ユーザがカートリッジを使用する際は、基材を電子タバコ本体の差し込み部に挿入し、差し込み部内の底の中央部にある加熱要素により基材を加熱することで、充填物からエアロゾルが発生する。ユーザがフィルタ部材側からそのエアロゾルを吸い込むことで、タバコの成分がユーザの口内へ届くことになる(特許文献1、図4参照)。
【先行技術文献】
【特許文献】
【0004】
特開2019-000094号公報
【発明の概要】
【発明が解決しようとする課題】
【0005】
しかしながら、ユーザがカートリッジを電子タバコ本体に挿入する際、カートリッジに対して押し曲げる力や、捩る力が働くので、オーバーラップしたのり付け部分が長手方向の直線上にある平巻きのカートリッジでは、屈曲に弱く、剥がれたり、破れたりしてしまうことがあった。
【0006】
また、カートリッジを外装シートで包装する際に、各部材や基材の剛性、硬度及び強度等の属性や外径直径の違いから、隙間なく平巻きをすることが難しく、各部材や基材が長手方向にズレてしまい、隙間が生じてしまうことがあった。隙間はタバコ本体の品質を低下させるだけでなく、生産性や強度低下にも影響を与えるため、各部材や基材ごとに外装シートを巻いていくといった、複数の工程を必要としていた。
【0007】
本発明は、このような事情に鑑みてなされたものであり、その目的は、カートリッジ全体の強度が向上し、また、製造工程において各部材のズレが生じにくく、タバコ本体の品質を維持しつつ、工程数を低減することが可能な喫煙具用の柱状のカートリッジ及びその製造方法を提供することを目的とする。
【課題を解決するための手段】
【0008】
本発明の発明者らは、上記課題に鑑み、鋭意研究を行った。その結果、以下の態様のカートリッジによれば、上記課題を解決できることを見出し、本発明を完成するに至った。
具体的には、本発明は以下のものを提供する。
【0009】
(1)本発明の第1の態様は、喫煙具用の柱状のカートリッジであって、フィルタ部材と、充填物を含む基材と、上記フィルタ部材と上記基材との間に設けられる移送部と、上記基材と上記移送部と上記フィルタ部材とを当該カートリッジの上記長手方向に隣接して配列するように巻装する外装シートと、を含み、上記外装シートは、上記長手方向に対して傾斜する方向に螺旋状に巻装する、カートリッジである。
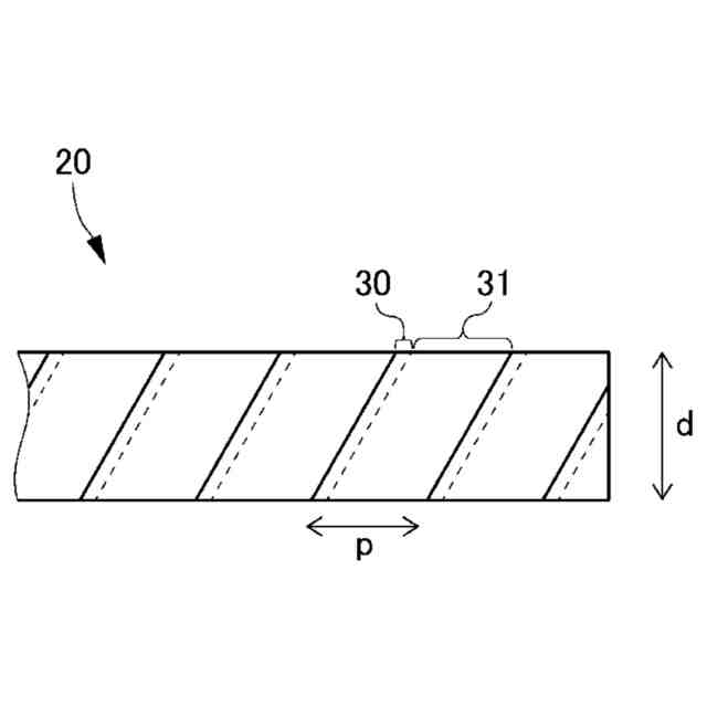
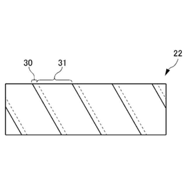
(2)本発明の第2の態様は、(1)に記載のカートリッジであって、上記外装シートは、オーバーラップ部分と、非オーバーラップ部分とを有し、上記オーバーラップ部分は、上記長手方向に対して傾斜する方向に延在するものである。
(3)本発明の第3の態様は、(2)に記載のカートリッジであって、上記オーバーラップ部分の範囲は、上記非オーバーラップ部分の範囲よりも小さいものである。
(4)本発明の第4の態様は、(2)又は(3)に記載のカートリッジであって、上記螺旋状のオーバーラップ部分は、長手方向の全長の5%以上97%以下のピッチを有するものである。
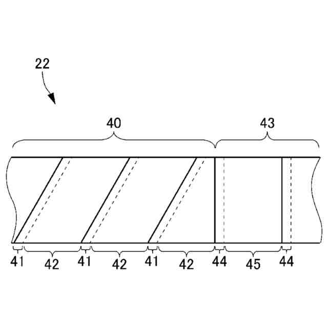
(5)本発明の第5の態様は、喫煙具用の柱状のカートリッジであって、フィルタ部材と、充填物を含む基材と、上記フィルタ部材と上記基材との間に設けられる移送部と、上記充填物を支持する支持体と、上記基材と上記移送部と上記支持部と上記フィルタ部材とを当該カートリッジの長手方向に隣接して配列するように巻装する外装シートと、を含み、上記外装シートは、上記長手方向に沿った第1範囲と、上記長手方向における上記第1範囲よりも上記フィルタ部材側の第2範囲とを有し、上記第1範囲の外装シートは、上記長手方向に対して傾斜する方向に螺旋状に巻装し、上記第2範囲の外装シートは、上記長手方向に対して交差する方向に螺旋状に巻装するものである。
(6)本発明の第6の態様は、(5)に記載のカートリッジであって、上記外装シートは、上記第1範囲において、上記外装シート同士の第1オーバーラップ部分と、第1非オーバーラップ部分とを有し、かつ、上記第2範囲において、上記外装シート同士の第2オーバーラップ部分と、第2非オーバーラップ部分とを有するものである。
(7)本発明の第7の態様は、(5)又は(6)に記載のカートリッジであって、上記第2範囲は、上記フィルタ部材が配置される側の端部の範囲を含むものである。
(8)本発明の第8の態様は、(6)又は(7)に記載のカートリッジであって、上記第1オーバーラップ部分は、長手方向の全長の5%以上97%以下のピッチを有するものである。
(9)本発明の第9の態様は、(1)から(8)のいずれか1項に記載のカートリッジであって、上記充填物は、上記長手方向に平行な短冊状の形態、シート状の形態、チップ状の形態、顆粒の形態、ペースト状の形態、木屑状の形態又は粒状の形態を有するものである。
(10)本発明の第10の態様は、(1)から(9)のいずれか1項に記載のカートリッジであって、さらに、上記外装シートの外周を覆う被覆部を含むものである。
(11)本発明の第11の態様は、フィルタ部材と、充填物を含む基材と、上記フィルタ部材と上記基材との間に設けられる移送部と、外装シートと、を含む、喫煙具用の柱状のカートリッジの製造方法であって、平面状の外装シート上に、上記充填物の材料と、上記移送部と、上記フィルタ部材と、をこの順に配置し、上記充填物の材料と、上記移送部と、上記フィルタ部材とを上記外装シートにより上記カートリッジの上記長手方向に対して傾斜する方向に螺旋状に包み込む、ものである。
(12)本発明の第12の態様は、フィルタ部材と、充填物を含む基材と、上記フィルタ部材と上記基材との間に設けられる移送部と、支持体と、外装シートと、を含む、喫煙具用の柱状のカートリッジの製造方法であって、平面状の外装シート上に、上記充填物の材料と、上記移送部と、上記支持体と、上記フィルタ部材と、をこの順に配置し、上記充填物の材料と、上記移送部と、上記支持体と、上記フィルタ部材と、を上記長手方向に沿った第1範囲と、上記長手方向における上記第1範囲よりも上記フィルタ部材側の第2範囲とを有する外装シートにより包み込みを行い、上記第1範囲において、上記外装シートは、上記長手方向に対して傾斜する方向に螺旋状に包み込み、上記第2範囲において、上記外装シートは、上記長手方向に対して交差する方向に螺旋状に包み込むものである。
【発明の効果】
【0010】
本発明によれば、カートリッジ全体の強度が向上し、また、製造工程において各部材をそれぞれに締め固定することにより、ズレが生じにくく、品質を維持しながら工程数を低減することが可能な喫煙具用の柱状のカートリッジ及びその製造方法を提供することができる。
【図面の簡単な説明】
(【0011】以降は省略されています)
この特許をJ-PlatPat(特許庁公式サイト)で参照する
関連特許
個人
ヒートスティック除去具
3か月前
日本たばこ産業株式会社
香味吸引物品
23日前
個人
電子タバコの加熱素子
3か月前
日本たばこ産業株式会社
喫煙システム
1か月前
日本たばこ産業株式会社
香味発生物品
23日前
日本たばこ産業株式会社
口腔用組成物
1か月前
個人
フレーバ用ブースター器具およびシーシャ装置
3か月前
東莞市佳かい精密金属制品有限公司
充電可能な電子タバコケース
2か月前
日本たばこ産業株式会社
香味吸引システム
1か月前
日本たばこ産業株式会社
香味吸引システム
1か月前
Future Technology株式会社
エアロゾル吸引カートリッジ
1か月前
エム・クリエイト株式会社
灰皿装置及び灰皿管理システム
3か月前
日本たばこ産業株式会社
低香味原料を含むたばこセグメント
23日前
日本たばこ産業株式会社
非燃焼加熱型香味吸引物品用フィルタ
4か月前
日本たばこ産業株式会社
香味発生物品および香味吸引システム
1か月前
日本たばこ産業株式会社
粒状再生セルロースを含有する口腔用組成物
1か月前
日本たばこ産業株式会社
電子装置
2か月前
Future Technology株式会社
芳香基材
2か月前
Future Technology株式会社
喫煙器具
1か月前
日本たばこ産業株式会社
吸引器
2か月前
日本たばこ産業株式会社
たばこ材料、その製造方法、および非燃焼加熱型喫煙物品
1か月前
Future Technology株式会社
芳香カートリッジ
4か月前
Future Technology株式会社
芳香カートリッジ
3か月前
Future Technology株式会社
芳香カートリッジ
3か月前
Future Technology株式会社
タバコ充填物集積体
1か月前
Future Technology株式会社
喫煙具用カートリッジ
1か月前
Future Technology株式会社
喫煙具用カートリッジ
2か月前
Future Technology株式会社
喫煙具用カートリッジ
3か月前
Future Technology株式会社
喫煙具用カートリッジ
1か月前
Future Technology株式会社
喫煙具用カートリッジ
2か月前
Future Technology株式会社
喫煙具用カートリッジ
2か月前
日本たばこ産業株式会社
たばこ用の組成物
4か月前
Future Technology株式会社
喫煙具用カートリッジ
3か月前
Future Technology株式会社
喫煙具用カートリッジ
10日前
Future Technology株式会社
喫煙具用カートリッジ
2か月前
Future Technology株式会社
被加熱芳香カートリッジ
1か月前
続きを見る
他の特許を見る