TOP
|
特許
|
意匠
|
商標
特許ウォッチ
Twitter
他の特許を見る
10個以上の画像は省略されています。
公開番号
2025138828
公報種別
公開特許公報(A)
公開日
2025-09-25
出願番号
2025112783,2025017583
出願日
2025-07-03,2021-12-10
発明の名称
エアロゾル生成装置の電源ユニット
出願人
日本たばこ産業株式会社
代理人
弁理士法人航栄事務所
主分類
A24F
40/50 20200101AFI20250917BHJP(たばこ;葉巻たばこ;紙巻たばこ;喫煙具)
要約
【課題】省電力化と安定した動作を実現可能なエアロゾル生成装置を提供すること。
【解決手段】香味が付加されたエアロゾルを発生させるエアロゾル生成装置の電源ユニットであって、香味源を加熱する加熱部と、前記加熱部へ電力を供給可能な電源と、前記加熱部と接する又は近接する、又は前記加熱部そのものを用いた温度センサと、電源端子が前記電源と接続し、非反転入力端子又は反転入力端子が前記温度センサと接続するオペアンプと、前記電源と前記電源端子の間の電気的な接続を開閉可能なスイッチと、ユーザが操作可能な操作部と、前記操作部に対する操作に基づき、前記スイッチの開閉を制御可能に構成されるコントローラと、を備える、エアロゾル生成装置の電源ユニット。
【選択図】図12
特許請求の範囲
【請求項1】
香味が付加されたエアロゾルを発生させるエアロゾル生成装置の電源ユニットであって、
香味源を加熱する加熱部と、
前記加熱部へ電力を供給可能な電源と、
前記加熱部と接する又は近接する、又は前記加熱部そのものを用いた温度センサと、
電源端子が前記電源と接続し、非反転入力端子又は反転入力端子が前記温度センサと接続するオペアンプと、
前記電源と前記電源端子の間の電気的な接続を開閉可能なスイッチと、
ユーザが操作可能な操作部と、
前記操作部に対する操作に基づき、前記スイッチの開閉を制御可能に構成されるコントローラと、を備える、
エアロゾル生成装置の電源ユニット。
発明の詳細な説明
【技術分野】
【0001】
本発明は、エアロゾル生成装置の電源ユニットに関する。
続きを表示(約 1,700 文字)
【背景技術】
【0002】
特許文献1には、給電装置と発熱素子とコントローラとを備える電子タバコ温度制御システムが記載されている。
【0003】
特許文献2には、加熱器に結合され、加熱器をある温度まで加熱するように構成される、コントローラと、加熱された空気および気化された物質を送達するように構成されるマウスピースと、を備える気化器が記載されている。
【0004】
特許文献3には、噴霧器と、マイクロコントローラと、マイクロコントローラおよび噴霧器に電気的に接続された電源と、マイクロコントローラに電気的に接続された質量空気流量センサと、を備える電子タバコが記載されている。
【先行技術文献】
【特許文献】
【0005】
日本国特許第6667690号
日本国特表2019-523037号公報
日本国特開2019-71897号公報
【発明の概要】
【発明が解決しようとする課題】
【0006】
本発明の目的は、省電力化と安定した動作を実現可能なエアロゾル生成装置を提供することにある。
【課題を解決するための手段】
【0007】
本発明の一態様のエアロゾル生成装置の電源ユニットは、香味が付加されたエアロゾルを発生させるエアロゾル生成装置の電源ユニットであって、香味源を加熱する加熱部と、前記加熱部へ電力を供給可能な電源と、前記加熱部と接する又は近接する、又は前記加熱部そのものを用いた温度センサと、電源端子が前記電源と接続し、非反転入力端子又は反転入力端子が前記温度センサと接続するオペアンプと、前記電源と前記電源端子の間の電気的な接続を開閉可能なスイッチと、ユーザが操作可能な操作部と、前記操作部に対する操作に基づき、前記スイッチの開閉を制御可能に構成されるコントローラと、を備える、ものである。
【発明の効果】
【0008】
本発明によれば、省電力化と安定した動作を実現可能となる。
【図面の簡単な説明】
【0009】
エアロゾル生成装置200の斜視図である。
エアロゾル生成装置200の他の斜視図である。
エアロゾル生成装置200の分解斜視図である。
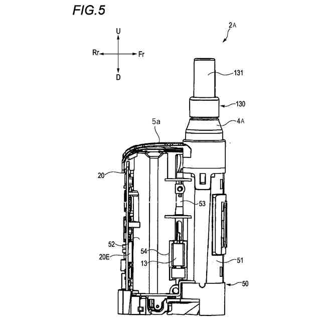
内部ユニット2Aの左側面図である。
内部ユニット2Aの右側面図である。
内部ユニット2Aの加熱部60及び回路部70の構成を示す斜視図である。
メイン基板20の表面201を示す図である。
メイン基板20の裏面202を示す図である。
パフセンサ基板21の素子搭載面に垂直な方向(換言すると、パフセンサ基板21の厚み方向)に見た平面図である。
図9に示すパフセンサ基板21とセンサ保持部55と吸引センサ15の分解斜視図である。
センサ保持部55を除いたシャーシ50の斜視図である。
メイン基板20に設けられた回路の概略構成を示す図である。
加熱モードの動作にかかわる電子部品を図12に示す回路から抽出して示した回路図である。
シートヒータHTR及びリキッドヒータの加熱制御と、振動モータ13の駆動制御と、LED21Dの駆動制御とに関わる電子部品を図12に示す回路から抽出して示した回路図である。
FF9を省略した場合の図13に対応する回路図である。
FF9とANDゲート10を省略した場合の図13に対応する回路図である。
図6に示した加熱部60及び流路形成体19の分解斜視図である。
図17に示すヒータFPC24の展開図である。
MCU6の再起動にかかわる電子部品を図12に示す回路から抽出して示した回路図である。
図19に示す再起動回路RBTの変形例を示す図である。
【発明を実施するための形態】
【0010】
以下、本発明の一実施形態であるエアロゾル生成装置の電源ユニットについて説明する。先ず、本実施形態の電源ユニットを備えるエアロゾル生成装置について、図1~図8を参照しながら説明する。
(【0011】以降は省略されています)
この特許をJ-PlatPat(特許庁公式サイト)で参照する
関連特許
他の特許を見る