TOP
|
特許
|
意匠
|
商標
特許ウォッチ
Twitter
他の特許を見る
公開番号
2025143401
公報種別
公開特許公報(A)
公開日
2025-10-01
出願番号
2025112748,2023211866
出願日
2025-07-03,2018-10-26
発明の名称
加熱アセンブリ及びこれを備えた香味吸引器
出願人
日本たばこ産業株式会社
代理人
個人
,
個人
,
個人
,
個人
主分類
A24F
40/46 20200101AFI20250924BHJP(たばこ;葉巻たばこ;紙巻たばこ;喫煙具)
要約
【課題】新たな構造を有する吸引器用カートリッジ及び吸引器を提供する。
【解決手段】香味発生物品を挿入可能な第1開口42aを一端に有しかつ空気入口を形成する第2開口42bを他端に有する第1の筒部材42と、加熱部材43と、断熱材とを備えた加熱アセンブリが提供される。この加熱アセンブリは、第1の筒部材を取り囲んで配置された第2の筒部材45をさらに備え、第1の筒部材と第2の筒部材との間に密閉領域54が設けられ、加熱部材及び断熱材料が密閉領域に収容される。
【選択図】図7
特許請求の範囲
【請求項1】
香味発生物品を挿入可能な第1開口を一端に有しかつ空気入口を形成する第2開口を他端に有する第1の筒部材と、加熱部材と、断熱材とを備えた加熱アセンブリであって、
前記第1の筒部材を取り囲んで配置された第2の筒部材をさらに備え、
前記第1の筒部材と前記第2の筒部材との間に密閉領域が設けられ、前記加熱部材及び前記断熱材が前記密閉領域に収容される、加熱アセンブリ。
続きを表示(約 1,200 文字)
【請求項2】
請求項1に記載された加熱アセンブリにおいて、
前記加熱部材は、前記第1の筒部材に当接し、
前記第1の筒部材は、金属材料で形成される、加熱アセンブリ。
【請求項3】
請求項1又は2に記載された加熱アセンブリにおいて、
前記加熱部材は、前記第1の筒部材の外周側に設けられ、
前記加熱部材と前記断熱材との間に第1の樹脂材料が設けられ、
前記第1の樹脂材料は、前記加熱部材を前記第1の筒部材に押し付けるように前記加熱部材に応力を与える、加熱アセンブリ。
【請求項4】
請求項3に記載された加熱アセンブリにおいて、
前記第1の樹脂材料は、熱収縮することにより、前記加熱部材を前記第1の筒部材に押し付けるように前記加熱部材に応力を与える、加熱アセンブリ。
【請求項5】
請求項3又は4に記載された加熱アセンブリにおいて、
前記第1の樹脂材料の前記第2開口に近い上流端は、前記第2の筒部材の外側に突出する、加熱アセンブリ。
【請求項6】
請求項5に記載された加熱アセンブリにおいて、
前記香味発生物品を挿入可能であり、前記第1の筒部材の前記第1開口と連通する内部空間を有する第3の筒部材を有し、
前記第3の筒部材は、前記第1の筒部材の前記第1開口側の下流端と接続され、
前記第1の樹脂材料の前記第1開口に近い下流端は、前記第3の筒部材の前記第1開口と接続される上流端の外周を取り囲む、加熱アセンブリ。
【請求項7】
請求項6に記載された加熱アセンブリにおいて、
前記第3の筒部材の前記上流端は、前記第1の筒部材の前記下流端の外周を取り囲む、加熱アセンブリ。
【請求項8】
請求項3から7のいずれか一項に記載された加熱アセンブリにおいて、
前記第1の樹脂材料の軸方向における長さは、前記第1の筒部材の軸方向における長さと略同一である、加熱アセンブリ。
【請求項9】
請求項3から8のいずれか一項に記載された加熱アセンブリにおいて、
前記第1の樹脂材料は、軸方向において、前記加熱部材よりも長く、
前記加熱部材は、前記第1の樹脂材料の前記第2開口に近い上流端と前記第1開口に近い下流端との間に位置する、加熱アセンブリ。
【請求項10】
請求項3から9のいずれか一項に記載された加熱アセンブリにおいて、
前記第1の筒部材の前記第2開口側の上流端と接続され、前記第1の筒部材の前記第2開口に向けて空気を導入する内部流路を形成する第4の筒部材を有し、
前記第1の樹脂材料の前記第2開口に近い上流端は、前記第4の筒部材の外周を取り囲
む、加熱アセンブリ。
(【請求項11】以降は省略されています)
発明の詳細な説明
【技術分野】
【0001】
本発明は、加熱アセンブリ及びこれを備えた香味吸引器に関する。
続きを表示(約 1,400 文字)
【背景技術】
【0002】
従来、材料の燃焼をすることなく香味等を吸引するための香味吸引器が知られている。このような香味吸引器として、例えば、揮発成分を含むたばこから成る喫煙材を加熱することでエアロゾルを形成する、喫煙材加熱装置が知られている(特許文献1参照)。特許文献1に記載された喫煙材加熱装置は、中空円筒状のヒータを有する。
【先行技術文献】
【特許文献】
【0003】
特表2018-522551号公報
【発明の概要】
【発明が解決しようとする課題】
【0004】
本発明の目的は、新たな構造を有する加熱アセンブリ及び香味吸引器を提供することである。
【課題を解決するための手段】
【0005】
本発明の一形態によれば、香味発生物品を挿入可能な第1開口を一端に有しかつ空気入口を形成する第2開口を他端に有する第1の筒部材と、加熱部材と、断熱材とを備えた加熱アセンブリが提供される。この加熱アセンブリは、前記第1の筒部材を取り囲んで配置された第2の筒部材をさらに備え、前記第1の筒部材と前記第2の筒部材との間に密閉領域が設けられ、前記加熱部材及び前記断熱材料が前記密閉領域に収容される。
【0006】
本発明の他の一形態によれば、上記加熱アセンブリを備えた香味吸引器が提供される。
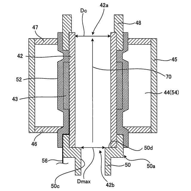
【図面の簡単な説明】
【0007】
本実施形態に係る香味吸引器の全体斜視図である。
喫煙物品を保持した状態の本実施形態に係る香味吸引器の全体斜視図である。
喫煙物品の断面図である。
図1Aに示した矢視3-3における断面図である。
加熱アセンブリの断面図を示す。
加熱アセンブリの側面図を示す。
加熱アセンブリとアウターフィンとの接続部分の拡大断面図である。
加熱アセンブリの拡大概略断面図である。
本実施形態の香味吸引器における、喫煙物品の基材部と、香味吸引器の加熱部材及び内側管との間の、軸線方向の位置関係を簡略的に示す図である。
【発明を実施するための形態】
【0008】
以下、本発明の実施形態について図面を参照して説明する。以下で説明する図面において、同一の又は相当する構成要素には、同一の符号を付して重複した説明を省略する。
【0009】
図1Aは、本実施形態に係る香味吸引器の全体斜視図である。図1Bは、喫煙物品を保持した状態の本実施形態に係る香味吸引器の全体斜視図である。本実施形態に係る香味吸引器10は、例えば、エアロゾル源を含んだ香味源(香味発生基材の一例に相当する)を
有する喫煙物品110(香味発生物品の一例に相当する)を加熱することで、香味を含むエアロゾルを生成するように構成される。
【0010】
図1A及び図1Bに示すように、香味吸引器10は、トップハウジング11Aと、ボトムハウジング11Bと、カバー12と、スイッチ13と、蓋部14と、を有する。トップハウジング11Aとボトムハウジング11Bは、互いに接続されることで、香味吸引器10の最外のハウジング11を構成する。ハウジング11は、使用者の手に収まるようなサイズである。使用者が香味吸引器10を使用する際は、香味吸引器10を手で保持して、香味を吸引することができる。
(【0011】以降は省略されています)
この特許をJ-PlatPat(特許庁公式サイト)で参照する
関連特許
日本たばこ産業株式会社
香味吸引器及び喫煙システム
1日前
日本たばこ産業株式会社
エアロゾルをデリバリーする加熱式物品、加熱式製品
2日前
日本たばこ産業株式会社
過多月経患者及び/又は過多月経を伴う婦人科疾患を有する患者における鉄欠乏性貧血の予防及び/又は治療におけるクエン酸第二鉄の使用
1日前
日本たばこ産業株式会社
香味吸引物品
20日前
日本たばこ産業株式会社
喫煙システム
1か月前
日本たばこ産業株式会社
口腔用組成物
1か月前
日本たばこ産業株式会社
香味発生物品
20日前
Future Technology株式会社
エアロゾル吸引カートリッジ
27日前
日本たばこ産業株式会社
香味吸引システム
1か月前
日本たばこ産業株式会社
香味吸引システム
1か月前
日本たばこ産業株式会社
低香味原料を含むたばこセグメント
20日前
日本たばこ産業株式会社
香味発生物品および香味吸引システム
1か月前
日本たばこ産業株式会社
粒状再生セルロースを含有する口腔用組成物
1か月前
Future Technology株式会社
喫煙器具
27日前
日本たばこ産業株式会社
吸引器
2か月前
日本たばこ産業株式会社
たばこ材料、その製造方法、および非燃焼加熱型喫煙物品
1か月前
Future Technology株式会社
タバコ充填物集積体
1か月前
Future Technology株式会社
喫煙具用カートリッジ
1か月前
Future Technology株式会社
喫煙具用カートリッジ
2か月前
Future Technology株式会社
喫煙具用カートリッジ
2か月前
Future Technology株式会社
喫煙具用カートリッジ
7日前
Future Technology株式会社
喫煙具用カートリッジ
2か月前
Future Technology株式会社
喫煙具用カートリッジ
1か月前
Future Technology株式会社
電子タバコカートリッジ
1か月前
Future Technology株式会社
電子タバコカートリッジ
1か月前
Future Technology株式会社
電子タバコカートリッジ
1か月前
Future Technology株式会社
電子タバコカートリッジ
2か月前
Future Technology株式会社
被加熱芳香カートリッジ
29日前
シェンチェン ギークベイプ テクノロジー カンパニー リミテッド
電子霧化装置
2か月前
Future Technology株式会社
加熱式タバコ用カートリッジ
7日前
Future Technology株式会社
加熱式タバコ用カートリッジ
1か月前
Future Technology株式会社
喫煙具用の柱状のカートリッジ
2か月前
日本たばこ産業株式会社
非燃焼加熱型スティック、吸引システム
19日前
日本たばこ産業株式会社
香味吸引器及び喫煙システム
1日前
日本たばこ産業株式会社
ヒータアッセンブリ及び容器
2か月前
日本たばこ産業株式会社
香味吸引器及び喫煙システム
13日前
続きを見る
他の特許を見る