TOP
|
特許
|
意匠
|
商標
特許ウォッチ
Twitter
他の特許を見る
10個以上の画像は省略されています。
公開番号
2025145868
公報種別
公開特許公報(A)
公開日
2025-10-03
出願番号
2024046340
出願日
2024-03-22
発明の名称
磁気ディスク装置
出願人
株式会社東芝
,
東芝デバイス&ストレージ株式会社
代理人
弁理士法人スズエ国際特許事務所
主分類
G06F
3/06 20060101AFI20250926BHJP(計算;計数)
要約
【課題】Serial NANDを採用したフラッシュメモリへのデータバックアップを実行するPLP機能を備えた磁気ディスク装置を提供する
【解決手段】本実施形態に係る磁気ディスク装置は、複数のBlockを備えるSerial NANDを採用したフラッシュメモリを備え、前記Serial NANDのBlock単位での書込み時間に基づいて、前記複数のBlockのうちバックアップ時の書込みに使用する1以上の第1Blockを決定し、スピンドルモータの逆起電力を用いて不揮発性メモリ上のデータを前記Serial NANDにバックアップする。
【選択図】図4
特許請求の範囲
【請求項1】
複数のBlockを備えるSerial NANDを採用したフラッシュメモリを備え、スピンドルモータの逆起電力を用いて不揮発性メモリ上のデータを前記Serial NANDにバックアップする磁気ディスク装置において、
前記Serial NANDのBlock単位での書込み時間に基づいて、前記複数のBlockのうちバックアップ時の書込みに使用する1以上の第1Blockを決定する磁気ディスク装置。
続きを表示(約 720 文字)
【請求項2】
前記書込み時間に基づいて、前記1以上の第1Blockに対するバックアップ時の書込み順番を決定する請求項1に記載の磁気ディスク装置。
【請求項3】
前記書込み時間を実測する請求項2に記載の磁気ディスク装置。
【請求項4】
前記書込み順番でBlockのアドレスを予めソートし、ソートしたアドレスを前記Serial NANDに格納する請求項2または請求項3のいずれか1項に記載の磁気ディスク装置。
【請求項5】
使用不可である第2Blockを特定して、前記第1Blockから取り除く請求項4に記載の磁気ディスク装置。
【請求項6】
書込み不具合のある場合または前記書込み時間に設けた閾値を超えた場合に前記使用不可とする請求項5に記載の磁気ディスク装置。
【請求項7】
書込み頻度の少ない前記第1Blockから先に書込みをする書込み順番とする請求項5に記載の磁気ディスク装置。
【請求項8】
前記第1Blockへの前記書込み頻度をカウントする請求項7に記載の磁気ディスク装置。
【請求項9】
バックアップ実施回数、前記Serial NANDのBlock書込み時間実測結果、書込み時間が短いBlock順にアドレスソートした結果、Block使用可否結果、書込み頻度(使用Block回数)を含むPLP情報テーブルを備える請求項1に記載の磁気ディスク装置。
【請求項10】
前記バックアップ実施回数に基づいて、前記PLP情報テーブルを更新するか否かを決定する請求項9に記載の磁気ディスク装置。
発明の詳細な説明
【技術分野】
【0001】
本発明の実施形態は、磁気ディスク装置のバックアップデータ処理に関するものである。
続きを表示(約 1,800 文字)
【背景技術】
【0002】
磁気ディスク装置(HDD)は、電断時に、揮発性メモリにあるキャッシュデータを不揮発性メモリにバックアップする技術として、Power Loss Protection(PLP)機能を備えている。従来、PLP機能に使用する不揮発性メモリは、フラッシュメモリとしてSerial NORを採用している。
【先行技術文献】
【特許文献】
【0003】
米国特許出願公開第2023/0092423号明細書
米国特許出願公開第2015/0363285号明細書
米国特許出願公開第2023/0305758号明細書
【発明の概要】
【発明が解決しようとする課題】
【0004】
しかしながら、Serial NORはデータ書込み時間が長いため、十分な量のデータをバックアップできないすなわちバックアップデータサイズを確保できないことがある。そこでより大容量/高速アクセスとなるSerial NANDを採用することで、バックアップデータサイズの増加などHDDパフォーマンスの向上が期待できる。しかしながら、Serial NANDの製品は、書込み不具合となるBlock(Bad Block)が発生するなどの可能性があり、PLP実行時のバックアップデータサイズが縮小することがある。
【0005】
本実施形態においては、Serial NANDを採用したフラッシュメモリへのデータバックアップを実行するPLP機能を備えた磁気ディスク装置を提供する。
【課題を解決するための手段】
【0006】
本実施形態に係る磁気ディスク装置は、複数のBlockを備えるSerial NANDを採用したフラッシュメモリを備え、前記Serial NANDのBlock単位での書込み時間に基づいて、前記複数のBlockのうちバックアップ時の書込みに使用する1以上の第1Blockを決定し、スピンドルモータの逆起電力を用いて不揮発性メモリ上のデータを前記Serial NANDにバックアップする。
【図面の簡単な説明】
【0007】
図1は、実施形態に係る磁気ディスク装置の構成図である。
図2は、実施形態に係る磁気ディスク装置のPLP機能の動作を示すタイムチャート図である。
図3は、実施形態に係る磁気ディスク装置の不揮発性メモリ(Serial NAND)のデータ構成を示す模式図である。
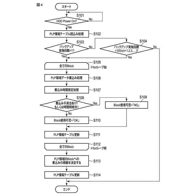
図4は、実施形態に係る磁気ディスク装置の処理動作を示すフローチャートである。
図5Aは、実施形態に係る磁気ディスク装置が備えるSerial NANDのPLP情報テーブル例であり、バックアップ実施回数が0の場合の例である。
図5Bは、実施形態に係る磁気ディスク装置におけるSerial NANDのPLP情報テーブル例であり、過去にバックアップが実施された場合の例である。
図6は、実施形態に係る磁気ディスク装置が書込み時間が短いBlock順にソートをしたアドレスのイメージ図である。
図7は、実施形態に係る磁気ディスク装置におけるSerial NANDのBlockに書込みNGが発生した場合のSerial NANDの模式図である。
図8は、実施形態に係る磁気ディスク装置のPLP起動時の処理動作を示すフローチャートである。
【発明を実施するための形態】
【0008】
(第1の実施形態)
本実施形態においては、Serial NANDを用いたPLP機能を備える磁気ディスク装置の例を示す。PLP機能は、磁気ディスク装置が電断した時に、DRAMなどの揮発性メモリにある未書き込みデータを不揮発性メモリにバックアップする機能である。
【0009】
本実施形態は、Serial NAND上で使用できないBlockであるBad Blockが発生するリスクを予測して、PLPの実行時にリスクの高いBlockへのアクセスを回避する磁気ディスク装置の例であり、Serial NANDの書込み時間が長いBlockほどBad Blockになりやすい特性などを利用する。
【0010】
図1は、実施形態に係る磁気ディスク装置の構成図である。
(【0011】以降は省略されています)
この特許をJ-PlatPat(特許庁公式サイト)で参照する
関連特許
株式会社東芝
センサ
1か月前
株式会社東芝
モータ
10日前
株式会社東芝
センサ
15日前
株式会社東芝
センサ
15日前
株式会社東芝
電子装置
9日前
株式会社東芝
金型構造
15日前
株式会社東芝
吸音装置
10日前
株式会社東芝
半導体装置
22日前
株式会社東芝
半導体装置
12日前
株式会社東芝
ラック装置
1か月前
株式会社東芝
半導体装置
12日前
株式会社東芝
半導体装置
12日前
株式会社東芝
半導体装置
12日前
株式会社東芝
半導体装置
12日前
株式会社東芝
半導体装置
12日前
株式会社東芝
粒子加速器
9日前
株式会社東芝
電動送風機
1か月前
株式会社東芝
半導体装置
24日前
株式会社東芝
半導体装置
12日前
株式会社東芝
電子デバイス
10日前
株式会社東芝
電子デバイス
10日前
株式会社東芝
台車搬送装置
8日前
株式会社東芝
走行システム
1か月前
株式会社東芝
音響制御装置
8日前
株式会社東芝
ディスク装置
12日前
株式会社東芝
熱電変換装置
10日前
株式会社東芝
重量測定装置
8日前
株式会社東芝
電子デバイス
10日前
株式会社東芝
海水用構造体
22日前
株式会社東芝
ディスク装置
12日前
株式会社東芝
ディスク装置
1か月前
株式会社東芝
ディスク装置
1か月前
株式会社東芝
アイソレータ
1か月前
株式会社東芝
ディスク装置
1か月前
株式会社東芝
アーク溶接方法
8日前
株式会社東芝
開口部明示部材
23日前
続きを見る
他の特許を見る