TOP
|
特許
|
意匠
|
商標
特許ウォッチ
Twitter
他の特許を見る
10個以上の画像は省略されています。
公開番号
2025145384
公報種別
公開特許公報(A)
公開日
2025-10-03
出願番号
2024045533
出願日
2024-03-21
発明の名称
ガス化システムにおける配管、ガス化システム及びこれを用いた合成ガスの製造方法、並びに燃料製造システム及びこれを用いた液体燃料の製造方法
出願人
本田技研工業株式会社
代理人
個人
,
個人
,
個人
主分類
C10J
3/02 20060101AFI20250926BHJP(石油,ガスまたはコークス工業;一酸化炭素を含有する工業ガス;燃料;潤滑剤;でい炭)
要約
【課題】取り扱い性に優れ且つ安全であり、エネルギー効率を向上し、且つ低コストで配管の閉塞を抑制できるガス化システムにおける配管、ガス化システム及びこれを用いた合成ガスの製造方法、並びに燃料製造システム及びこれを用いた液体燃料の製造方法を提供すること。
【解決手段】バイオマス原料をガス化装置に供給するためのバイオマス原料供給装置と、前記バイオマス原料をガス化して合成ガスを製造するガス化炉を含む合成ガス製造装置とを連通する配管であって、前記合成ガス製造装置が前記ガス化炉の上端部の温度を測定するためのガス化炉温度測定手段を備え、前記配管が配管内側の温度を測定するための配管温度測定手段と、前記配管の少なくとも一部を冷却する配管冷却手段とを備える、配管。
【選択図】図1
特許請求の範囲
【請求項1】
バイオマス原料をガス化装置に供給するためのバイオマス原料供給装置と、前記バイオマス原料をガス化して合成ガスを製造するガス化炉を含む合成ガス製造装置とを連通する配管であって、
前記合成ガス製造装置が前記ガス化炉の上端部の温度を測定するためのガス化炉温度測定手段を備え、
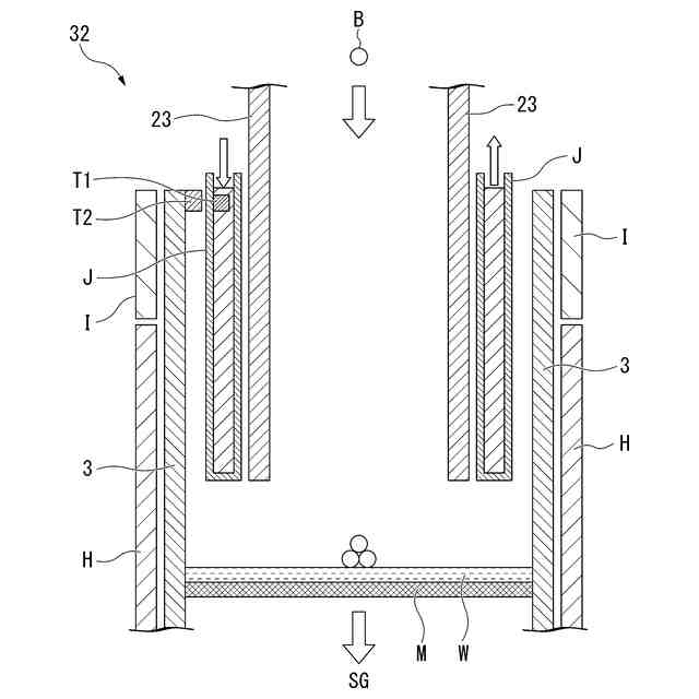
前記配管が配管内側の温度を測定するための配管温度測定手段と、前記配管の少なくとも一部を冷却する配管冷却手段とを備える、配管。
続きを表示(約 1,000 文字)
【請求項2】
前記配管が、300℃超且つ600℃未満の領域を有しない、請求項1に記載の配管。
【請求項3】
前記配管冷却手段が、前記配管内側の温度が所定値を超えた場合に、前記配管の少なくとも一部の冷却を開始又は強化する、請求項1に記載の配管。
【請求項4】
前記所定値が300℃である、請求項3に記載の配管。
【請求項5】
前記配管冷却手段が、前記配管外側の少なくとも一部に冷却ガスを吹き付けて前記配管外側を冷却することにより前記配管内側を冷却するための冷却ガス供給手段と、前記配管内側の温度が300℃以下、且つ前記ガス化炉の上端部の温度が600℃以上となるよう冷却ガスを制御するための冷却ガス制御手段とを備える、請求項1に記載の配管。
【請求項6】
前記配管冷却手段が、配管外側の少なくとも一部を囲むジャケットであって、前記ジャケット内に冷却液を流入させて前記配管外側を冷却することにより前記配管内側を冷却するためのジャケットと、前記配管内側の温度が300℃以下、且つガス化炉の上端部の温度が600℃以上となるよう前記ジャケット内の冷却液を制御するための冷媒制御手段とを備える、請求項1に記載の配管。
【請求項7】
バイオマス原料から合成ガスを製造するためのガス化システムにおいて、
前記ガス化システムが、バイオマス原料をガス化装置に供給するためのバイオマス原料供給装置と、
前記バイオマス原料をガス化して合成ガスを製造するガス化炉を含む合成ガス製造装置と、
前記バイオマス原料供給装置と合成ガス製造装置とを連通する配管と、を備え、
前記合成ガス製造装置が前記ガス化炉の上端部の温度を測定するためのガス化炉温度測定手段を備え、
前記配管が、配管内側の温度を測定するための配管温度測定手段と、前記配管の少なくとも一部を冷却する配管冷却手段とを備える、を備える、ガス化システム。
【請求項8】
前記配管が、300℃超且つ600℃未満の領域を有しない、請求項7に記載のガス化システム。
【請求項9】
前記配管冷却手段が、前記配管内側の温度が所定値を超えた場合に、前記配管の少なくとも一部の冷却を開始又は強化する、請求項7に記載のガス化システム。
【請求項10】
前記所定値が300℃である、請求項9に記載のガス化システム。
(【請求項11】以降は省略されています)
発明の詳細な説明
【技術分野】
【0001】
本発明は、ガス化システムにおける配管、ガス化システム及びこれを用いた合成ガスの製造方法、並びに燃料製造システム及びこれを用いた液体燃料の製造方法に関する。
続きを表示(約 1,600 文字)
【背景技術】
【0002】
従来より気候変動の緩和または影響軽減を目的とした取り組みが継続され、この実現に向けて二酸化炭素の排出量低減に関する研究開発が行われている。
近年、化石燃料の代替として、再生可能エネルギーによって発電した電力によって生成した水素とバイオマスや工場から排出される二酸化炭素等の炭素源とを原材料とした合成燃料が注目されている。
【0003】
バイオマスを原料としてメタノールやガソリン等の液体燃料を製造する一般的な手順は以下の通りである。すなわち、所定の前処理を経たバイオマス原料をガス化炉内で水や酸素とともにガス化させ、水素及び一酸化炭素を含む合成ガスを生成するガス化工程と、生成された合成ガスを洗浄しタールを取り除く洗浄工程と、洗浄工程を経た合成ガスのH
2
/CO比を製造しようとする液体燃料に応じた目標比に調整するH
2
/CO比調整工程と、H
2
/CO比調整工程を経た合成ガスから硫黄成分を取り除く脱硫工程と、脱硫工程を経た合成ガスから液体燃料を製造する燃料製造工程と、を経てバイオマス原料から液体燃料が製造される。
【0004】
固体状のバイオマス原料をガス化する際には、一部の炭素、水素が燃焼される。しかし、この部分燃焼の程度が低すぎると、タールや煤、ダストなどのガス状でない可燃物の生成量が増える。これらの生成量が増えると配管が閉塞し、バイオマス原料を供給できなくなる。したがって、タールや煤、ダストなどのガス状でない可燃物の生成量を減らす方法が望まれる。
【0005】
特許文献1には、バイオマスを酸化性ガスと反応させてガス化する工程で、酸化性ガスとして、アルファー線発生物と接触させて活性化した空気を用いることにより、炭化水素の分解を促進することでタール生成を抑制する発明が示されている。
【先行技術文献】
【特許文献】
【0006】
特開2017-193676号公報
【発明の概要】
【発明が解決しようとする課題】
【0007】
特許文献1に示されたタール生成抑制方法では、アルファー線の照射、例えばトリウムを含む成形体と接触させることが必要であるため、放射性物質の取り扱いが容易でなく安全性に問題がある。また、アルファー線の照射のための装置も必要となるため、エネルギー消費量が増えると共に、設備投資のためのコスト面で問題がある。
【0008】
本願は上記課題の解決のため、取り扱い性に優れ且つ安全であり、エネルギー効率を向上し、且つ低コストで配管の閉塞を抑制できるガス化システムにおける配管、ガス化システム及びこれを用いた合成ガスの製造方法、並びに燃料製造システム及びこれを用いた液体燃料の製造方法を提供する。そして、延いては気候変動の緩和または影響軽減に寄与するものである。
【課題を解決するための手段】
【0009】
[1] バイオマス原料をガス化装置に供給するためのバイオマス原料供給装置と、前記バイオマス原料をガス化して合成ガスを製造するガス化炉を含む合成ガス製造装置とを連通する配管であって、
前記合成ガス製造装置が前記ガス化炉の上端部の温度を測定するためのガス化炉温度測定手段を備え、
前記配管が配管内側の温度を測定するための配管温度測定手段と、前記配管の少なくとも一部を冷却する配管冷却手段とを備える、配管。
【0010】
本発明の配管は、取り扱い性に優れ且つ安全な配管冷却手段により、閉塞を抑制することができる。
また、特別な試薬や装置を必要としないため、エネルギー効率を向上し、且つ低コストで配管の閉塞を抑制することができる。
(【0011】以降は省略されています)
この特許をJ-PlatPat(特許庁公式サイト)で参照する
関連特許
本田技研工業株式会社
車両
2日前
本田技研工業株式会社
車両
3日前
本田技研工業株式会社
車両
2日前
本田技研工業株式会社
車両
3日前
本田技研工業株式会社
移動体
4日前
本田技研工業株式会社
飛行体
3日前
本田技研工業株式会社
電気部品
3日前
本田技研工業株式会社
会話装置
9日前
本田技研工業株式会社
制御装置
2日前
本田技研工業株式会社
電気機器
4日前
本田技研工業株式会社
収容装置
3日前
本田技研工業株式会社
電気機器
3日前
本田技研工業株式会社
切断装置
9日前
本田技研工業株式会社
排気装置
2日前
本田技研工業株式会社
清掃装置
3日前
本田技研工業株式会社
内燃機関
3日前
本田技研工業株式会社
発電セル
2日前
本田技研工業株式会社
エンジン
3日前
本田技研工業株式会社
固体電池
4日前
本田技研工業株式会社
固体電池
2日前
本田技研工業株式会社
ステータ
9日前
本田技研工業株式会社
排気装置
2日前
本田技研工業株式会社
除草装置
2日前
本田技研工業株式会社
保持装置
10日前
本田技研工業株式会社
電気機器
4日前
本田技研工業株式会社
排気装置
2日前
本田技研工業株式会社
電気機器
3日前
本田技研工業株式会社
内燃機関
2日前
本田技研工業株式会社
リアクトル
2日前
本田技研工業株式会社
鞍乗型車両
2日前
本田技研工業株式会社
全固体電池
4日前
本田技研工業株式会社
リンク機構
9日前
本田技研工業株式会社
樹脂成型品
3日前
本田技研工業株式会社
鞍乗型車両
2日前
本田技研工業株式会社
全固体電池
4日前
本田技研工業株式会社
鞍乗型車両
2日前
続きを見る
他の特許を見る