TOP
|
特許
|
意匠
|
商標
特許ウォッチ
Twitter
他の特許を見る
公開番号
2025145201
公報種別
公開特許公報(A)
公開日
2025-10-03
出願番号
2024045265
出願日
2024-03-21
発明の名称
乗用芝刈機
出願人
井関農機株式会社
代理人
弁理士法人新大阪国際特許事務所
主分類
A01D
34/78 20060101AFI20250926BHJP(農業;林業;畜産;狩猟;捕獲;漁業)
要約
【課題】電動モータをバッテリーで駆動する芝刈機において、作業負荷を安定させ、作業効率を上げる乗用芝刈り機を提供する。
【解決手段】走行車体に駆動輪を備え、車体の下方には刈刃を有するモーア5を設け、走行用モータによって駆動輪を駆動し、作業用モータによってモーア5を駆動する乗用芝刈機において、作業用モータの負荷電流値に基づいて演算される作業負荷レベルを表示する表示部58を設けた。また、ハンドルポストの上面に表示パネル55を配置しこの表示パネル55の外周前位に表示部58を配置し、ステアリングハンドル8の把持部の高位側と表示部58を結ぶ線L1がモーア5のモアデッキ20前端部とモアデッキ20前方に設けたゲージホイール26の間に位置すべく構成してなる。
【選択図】図8
特許請求の範囲
【請求項1】
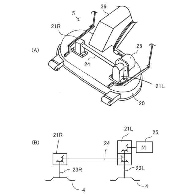
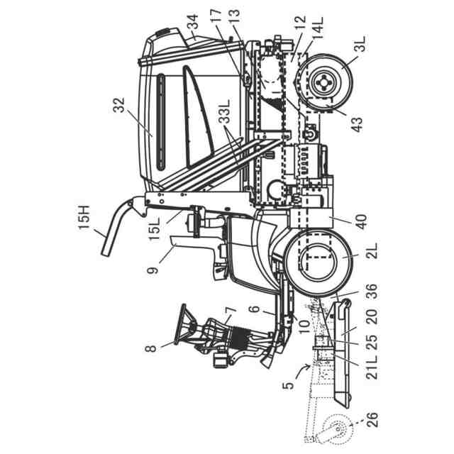
走行車体(1)に駆動輪(2,3)を備え、車体(1)の下方には刈刃(4)を有するモーア(5)を設け、走行用モータ(40,43)によって駆動輪(2,3)を駆動し、作業用モータ(25)によってモーア(5)を駆動する乗用芝刈機において、作業用モータ(25)の負荷電流値に基づいて演算される作業負荷レベルを表示する表示部(58)を設けたことを特徴とする乗用芝刈機。
続きを表示(約 380 文字)
【請求項2】
ハンドルポスト(7)の上面に表示部(56)を配置しこの表示部(56)の外周前位に表示部(58)を配置し、ステアリングハンドル(8)の把持部の高位側と表示部(58)を結ぶ線(L1)がモーア(5)のモアデッキ(20)前端部とモアデッキ(20)前方に設けたゲージホイール(26)の間に位置すべく構成してなる請求項1に記載の乗用芝刈機。
【請求項3】
ステアリングハンドル(8)の把持部の低位側と表示部(58)を結ぶ線(L2)がモアデッキ(20)よりも前方となるよう設定する構成とする請求項1に記載の乗用芝刈機。
【請求項4】
前記表示部(58)は、対称的に左右一対の表示部(58L,58R)をもって構成され、作業負荷レベルの上昇に連れて左右両端側から順次中央側が点灯するように構成してなる請求項1に記載の乗用芝刈機。
発明の詳細な説明
【技術分野】
【0001】
本発明は、動力源として搭載したバッテリーで走行モータ及び作業用モータを駆動する乗用型芝刈機に関する。
続きを表示(約 1,100 文字)
【背景技術】
【0002】
従来、モーアを作業用モータで駆動する構成とし、作業用モータの負荷電流値を検出し刈刃の回転を制御する乗用芝刈機が公知である(特許文献1)。
【0003】
走行車体を走行させる左右駆動輪を駆動する電動モータとモアデッキのブレードを駆動する電動モータをそれぞれ設け、走行車体に搭載したバッテリーで電動モータを駆動する。
【先行技術文献】
【特許文献】
【0004】
特開2023―124355号公報
【発明の概要】
【発明が解決しようとする課題】
【0005】
上記従来の芝刈機では、作業用モータの回転を定格回転数に制御して芝刈作業を行うが、作業負荷が小さく電流検出センサが検出する負荷電流値が標準範囲よりも低い場合には電力をあまり必要としない低基準回転数に変更することで電力消費を抑制でき、負荷電流値が標準範囲よりも高い場合には高基準回転数に変更することで刈刃の回転を上昇して切断力を高めて効率の良い芝刈作業を行うことができる。
【0006】
ところが、走行車体を走行させる左右駆動輪を駆動する走行用モータと上記作業用モータを設けて、走行車体に搭載したバッテリーで駆動する構成の場合に、芝刈作業中に作業者の思惑で車速を変更する場合には、走行モータの負荷が増大し、作業用モータによる芝刈作業に影響する。
【0007】
本発明では電動モータをバッテリーで駆動する芝刈機において、作業負荷を安定させ、作業効率を上げる乗用芝刈り機を提供することを目的とする。
【課題を解決するための手段】
【0008】
この発明は、上記課題を解決すべく次のような技術的手段を講じた。
【0009】
請求項1に記載の発明は、走行車体1に駆動輪2,3を備え、車体1の下方には刈刃4を有するモーア5を設け、走行用モータ40,43によって駆動輪2,3を駆動し、作業用モータ25によってモーア5を駆動する乗用芝刈機において、作業用モータ25の負荷電流値に基づいて演算されるい作業負荷レベルを表示する表示部58を設けた。
【0010】
請求項2に記載の発明は、請求項1に記載の発明において、ハンドルポスト7の上面に表示パネル55を配置しこの表示パネル55の外周前位に表示部58を配置し、ステアリングハンドル8の把持部の高位側と表示部58を結ぶ線L1がモーア5のモアデッキ20前端部とモアデッキ20前方に設けたゲージホイール26の間に位置する構成とする。
(【0011】以降は省略されています)
この特許をJ-PlatPat(特許庁公式サイト)で参照する
関連特許
井関農機株式会社
田植機
1か月前
井関農機株式会社
作業車両
1か月前
井関農機株式会社
作業車両
26日前
井関農機株式会社
作業車両
1か月前
井関農機株式会社
作業車両
1か月前
井関農機株式会社
農作業機
1か月前
井関農機株式会社
作業車両
1か月前
井関農機株式会社
作業車両
1か月前
井関農機株式会社
作業車両
1か月前
井関農機株式会社
作業車両
1か月前
井関農機株式会社
作業車両
1か月前
井関農機株式会社
作業車両
1か月前
井関農機株式会社
作業車両
4日前
井関農機株式会社
作業車両
1か月前
井関農機株式会社
作業車両
26日前
井関農機株式会社
作業車両
26日前
井関農機株式会社
作業車両
1か月前
井関農機株式会社
作業車両
25日前
井関農機株式会社
作業車両
25日前
井関農機株式会社
作業車両
25日前
井関農機株式会社
作業車両
4日前
井関農機株式会社
作業車両
24日前
井関農機株式会社
作業車両
17日前
井関農機株式会社
作業車両
17日前
井関農機株式会社
コンバイン
1か月前
井関農機株式会社
乗用芝刈機
1か月前
井関農機株式会社
圃場作業機
9日前
井関農機株式会社
屋外作業車
2日前
井関農機株式会社
水田作業機
19日前
井関農機株式会社
コンバイン
1か月前
井関農機株式会社
歩行型耕運機
1か月前
井関農機株式会社
根菜類収穫機
20日前
井関農機株式会社
乗用型苗植機
18日前
井関農機株式会社
乗用型苗植機
9日前
井関農機株式会社
乗用型苗移植機
1か月前
井関農機株式会社
汎用コンバイン
1か月前
続きを見る
他の特許を見る