TOP
|
特許
|
意匠
|
商標
特許ウォッチ
Twitter
他の特許を見る
10個以上の画像は省略されています。
公開番号
2025144660
公報種別
公開特許公報(A)
公開日
2025-10-03
出願番号
2024044423
出願日
2024-03-21
発明の名称
紫外光照射装置
出願人
ウシオ電機株式会社
代理人
弁理士法人ユニアス国際特許事務所
主分類
H01J
61/54 20060101AFI20250926BHJP(基本的電気素子)
要約
【課題】高い始動性を維持する紫外光照射装置を提供する。
【解決手段】紫外光照射装置は、エキシマ光を発生させる放電用ガスが封入されたランプ容器と、前記放電用ガスに露出しないように配置され、前記ランプ容器に電圧を印加する一対のランプ電極と、前記一対のランプ電極のうちいずれか一方の電極と同電位であり、他方の電極と同電位である部位に対して対向配置されることで、放電してトリガー光を発生させる始動電極と、前記始動電極の先端を囲み、前記トリガー光を透過する、始動放電容器と、少なくとも前記始動放電容器内の空間を含む空間を気密に封止する封止部と、を備え、前記封止部は前記始動放電容器と異なる材質である。
【選択図】図4
特許請求の範囲
【請求項1】
エキシマ光を発生させる放電用ガスが封入されたランプ容器と、
前記放電用ガスに露出しないように配置され、前記ランプ容器に電圧を印加するための一対のランプ電極と、
前記一対のランプ電極のうちいずれか一方の電極と同電位であり、他方の電極と同電位である部位に対して対向配置されることで、放電してトリガー光を発生させる始動電極と、
前記始動電極の先端を囲み、前記トリガー光を透過する、始動放電容器と、
少なくとも前記始動放電容器内の空間を含む空間を気密に封止する封止部と、
を備え、
前記封止部は前記始動放電容器と異なる材質であることを特徴とする紫外光照射装置。
続きを表示(約 430 文字)
【請求項2】
前記封止部は、前記始動放電容器内の空間のみを気密に封止することを特徴とする請求項1に記載の紫外光照射装置。
【請求項3】
前記始動放電容器の一部は、前記始動電極と前記他方の電極と同電位である部位との間に位置することを特徴とする、請求項1に記載の紫外光照射装置。
【請求項4】
前記封止部は、吸湿作用のある材料で構成されていることを特徴とする、請求項1に記載の紫外光照射装置。
【請求項5】
前記封止部は、エポキシ系又はシリコーン系の接着剤で構成されている、請求項1に記載の紫外光照射装置。
【請求項6】
前記始動放電容器の内部に、大気成分が存在することを特徴とする、請求項1~5のいずれか一項に記載の紫外光照射装置。
【請求項7】
前記放電用ガスがKr及びCl
2
を含むことを特徴とする、請求項1~5のいずれか一項に記載の紫外光照射装置。
発明の詳細な説明
【技術分野】
【0001】
本発明は、紫外光照射装置に関する。
続きを表示(約 2,100 文字)
【背景技術】
【0002】
ランプ容器の外表面に一対の外部電極を配置したエキシマランプにおいて、点灯の始動性(以下、単に「始動性」と記載する。)を改善するため、始動電極を設けることが知られている。
【0003】
例えば、特許文献1には、ランプ容器に電圧を印加する第一電極及び第二電極のうちいずれか一方の電極に電気的に接続され、かつ、他方の電極又は前記他方の電極に電気的に接続される導体との間で局所的に放電してトリガー光を発生するように、誘電体を介して対向配置された、始動電極を設けることが記載されている。さらに同文献には、始動電極の先端と局所的な放電領域を囲むように放電容器を配置することが記載されている。
【先行技術文献】
【特許文献】
【0004】
特開2022-164223号公報
【発明の概要】
【発明が解決しようとする課題】
【0005】
市場より紫外光照射装置の長寿命化が求められている。長寿命化のためには、長期に亘って高い始動性を維持する必要がある。そこで、高い始動性を維持する紫外光照射装置を提供することを目的とする。
【課題を解決するための手段】
【0006】
本発明に係る紫外光照射装置は、
エキシマ光を発生させる放電用ガスが封入されたランプ容器と、
前記放電用ガスに露出しないように配置され、前記ランプ容器に電圧を印加するための一対のランプ電極と、
前記一対のランプ電極のうちいずれか一方の電極と同電位であり、他方の電極と同電位である部位に対して対向配置されることで、放電してトリガー光を発生させる始動電極と、
前記始動電極の先端を囲み、前記トリガー光を透過する、始動放電容器と、
少なくとも前記始動放電容器内の空間を含む空間を気密に封止する封止部と、
を備え、
前記封止部は前記始動放電容器と異なる材質である。
【0007】
前記紫外光照射装置において、前記始動電極が前記一対のランプ電極のうちいずれか一方の電極と同電位であるということは、前記始動電極が前記一方の電極と電気的に接続されることを表す。また、他方の電極と同電位である部位は、当該他方の電極の表面にあってもよく、又は、当該他方の電極に電気的に接続される部材の表面にあってもよい。
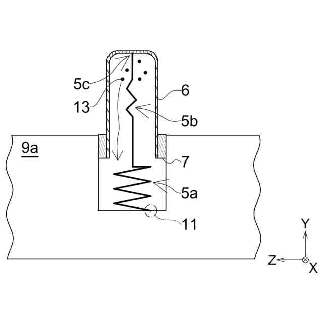
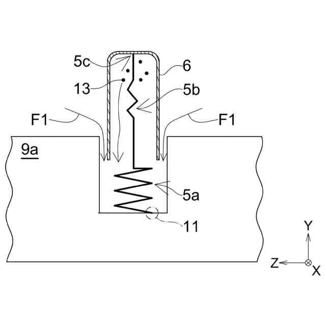
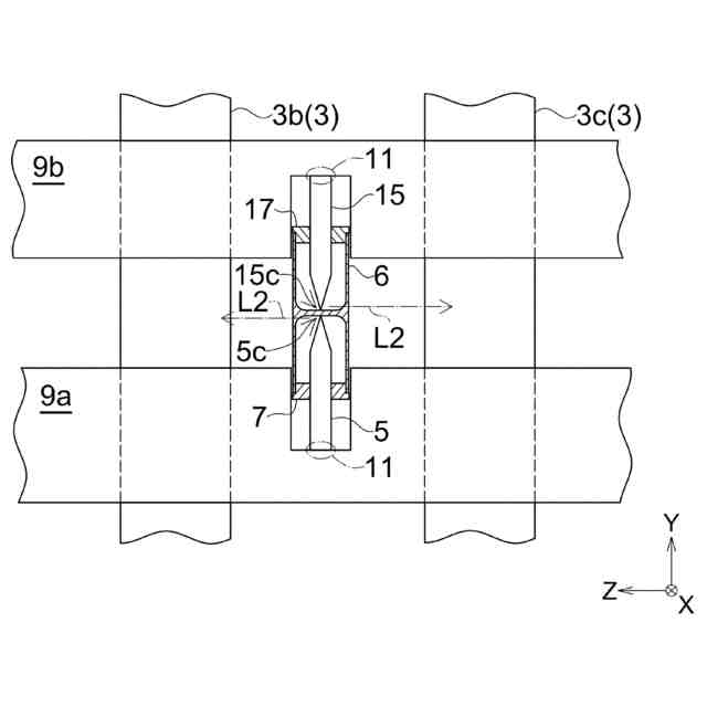
【0008】
詳細は「発明を実施するための形態」で説明するが、ここで、本発明をするに至った経緯と効果を簡潔に説明する。図14は、従来の紫外光照射装置のランプ電極の周辺を示す図である。特許文献1にも、図14と同様の図が示されている。ランプ電極を構成する第一電極9a及び第二電極9bは、それぞれに設けられたねじ孔9hにより、紫外光照射装置の筐体(不図示)の内面にそれぞれ固定される。第一電極9aの凹部には始動電極5が配置され、始動電極5の先端は、始動電極5の先端を囲み、内部に放電空間を形成する放電容器(以下、始動電極5の先端を囲み、内部に放電空間を形成する放電容器のことを、「始動放電容器」という。)6に覆われている。第一電極9aの凹部と始動放電容器6との間には、第一電極9aの外部と連通する隙間がある。そのため、第一電極9aの外部に存在する大気が、F1と付された矢印で示される流れに沿って、始動放電容器6の内部へ浸入する。
【0009】
本発明者の鋭意研究の結果、図14に示される構造のランプ電極(9a,9b)、始動電極5及び始動放電容器6を有する紫外光照射装置を長時間使用すると、始動電極5と、始動電極5に接続される部材との接続部が腐食して、当該部材から始動電極5までの導通が悪化する場合があることがわかった。この接続部の腐食の原因を調査したところ、始動電極の先端で発生する放電によって生じる酸化性物質であった。酸化性物質は、F1と付された矢印で示される流れに沿って侵入した大気に含まれる窒素及び水蒸気によって生成されることが判明した。
【0010】
そこで、本発明では始動放電容器内の空間を含む空間を気密に封止する。例えば、始動放電容器の内部空間を少なくとも含む、第一電極に囲まれた空間を気密に封止する。ここで前記空間を気密に封止するために使用する部材を封止部という。封止部を用いることで始動放電容器内の空間を含む空間が気密に封止され、前記空間内に酸化性物質を生成する原料となる大気が流入することを防ぐ。これにより気密された空間内での酸化性物質の生成を抑えることができる。その結果、始動電極と始動電極に接続する導体との接続部の腐食を抑え、導体から始動電極5までの導通を維持する。斯くして、紫外光照射装置を長時間使用しても、トリガー光を安定的に発せられるようにする。また、始動放電容器の内部で酸化性物質が生成されたとしても、当該酸化性物質を始動放電容器の外に漏洩しないようにできる。
(【0011】以降は省略されています)
この特許をJ-PlatPat(特許庁公式サイト)で参照する
関連特許
ウシオ電機株式会社
光源装置
12日前
ウシオ電機株式会社
光源装置
20日前
ウシオ電機株式会社
紫外光照射装置
12日前
ウシオ電機株式会社
赤外LED素子
13日前
ウシオ電機株式会社
半導体レーザ素子
7日前
ウシオ電機株式会社
光源装置及び回転体
12日前
ウシオ電機株式会社
マイクロ流体デバイス
8日前
ウシオ電機株式会社
半導体レーザ素子および発光装置
12日前
ウシオ電機株式会社
半導体レーザ素子および発光装置
16日前
国立大学法人 東京大学
ガス処理方法
12日前
ウシオ電機株式会社
分布帰還型半導体レーザおよびその製造方法
16日前
ウシオ電機株式会社
細胞培養デバイス、細胞培養デバイスの使用方法
5日前
日本発條株式会社
積層体
16日前
個人
フレキシブル電気化学素子
5日前
株式会社ユーシン
操作装置
5日前
ローム株式会社
半導体装置
7日前
ローム株式会社
半導体装置
12日前
個人
防雪防塵カバー
16日前
ローム株式会社
半導体装置
14日前
ローム株式会社
半導体装置
14日前
日新イオン機器株式会社
イオン源
1日前
ローム株式会社
半導体装置
14日前
個人
半導体パッケージ用ガラス基板
15日前
太陽誘電株式会社
コイル部品
5日前
株式会社GSユアサ
蓄電設備
5日前
株式会社GSユアサ
蓄電設備
5日前
太陽誘電株式会社
全固体電池
12日前
株式会社GSユアサ
蓄電装置
12日前
オムロン株式会社
電磁継電器
6日前
株式会社GSユアサ
蓄電装置
16日前
株式会社ホロン
冷陰極電子源
12日前
日本特殊陶業株式会社
保持装置
16日前
日本特殊陶業株式会社
保持装置
12日前
トヨタ自動車株式会社
蓄電装置
5日前
トヨタ自動車株式会社
二次電池
16日前
日東電工株式会社
積層体
6日前
続きを見る
他の特許を見る