TOP
|
特許
|
意匠
|
商標
特許ウォッチ
Twitter
他の特許を見る
10個以上の画像は省略されています。
公開番号
2025144596
公報種別
公開特許公報(A)
公開日
2025-10-03
出願番号
2024044315
出願日
2024-03-20
発明の名称
ロボットハンド、ロボットシステム
出願人
株式会社デンソーウェーブ
代理人
個人
主分類
B25J
15/08 20060101AFI20250926BHJP(手工具;可搬型動力工具;手工具用の柄;作業場設備;マニプレータ)
要約
【課題】ロボットシステムの省スペース化を図り、ロボットが従事できる作業を増やすこと。
【解決手段】アーム21のフランジ部28に装着されているハンド300は、一対の挟持部材306と、それら挟持部材306を開閉させる開閉機構102とを備えている。挟持部材306は、フランジ部28の回動中心軸線である第6軸AX6の軸線方向に延びるベース部311を有してなる。ベース部311の上端部312には、ベース部311と交差する方向に延びる延出部341が形成されており、延出部341にはビーカを挟持するためのビーカ用挟持部342が設けられている。ベース部311にて延出部341よりも下側となる部分には、ベース部311の内面317を凹ませて、シリンジ挟持部322が形成されている。シリンジ挟持部322はベース部311と直交する方向に延びており、ビーカ用挟持部342と平行となるようにして注射器を挟持可能となっている。
【選択図】 図24
特許請求の範囲
【請求項1】
複数の関節部を有してなるロボットアームに適用され、一対の挟持部材と、それら挟持部材の相対距離を変更するための距離可変機構とを備えているロボットハンドであって、
各前記挟持部材は、前記ロボットアームの先端部と同じ方向に延びるベース部を有し、
前記ベース部には、
前記ベース部の側部から延出し、第1の対象物を前記ベース部から離れた位置で挟持するための第1挟持部と、
前記第1挟持部が位置している仮想平面と平行又は略平行となるようにして筒状又は棒状をなす第2の対象物を挟持するための第2挟持部と
が設けられているロボットハンド。
続きを表示(約 520 文字)
【請求項2】
前記第2挟持部は、前記第2の対象物を挟持している状態にて、当該第2の対象物と前記第1挟持部との距離の変化を規制する規制部を有している請求項1に記載のロボットハンド。
【請求項3】
前記第2挟持部は、前記ベース部にて相対向する部分に設けられ、前記仮想平面と平行又は略平行となるようにして延びる溝状の凹部であり、前記溝状の凹部は少なくとも前記第1挟持部が延出している側と同じ側に開放されている請求項1に記載のロボットハンド。
【請求項4】
前記第1挟持部は、前記ベース部から離れた位置で前記第1の対象物を挟持し、前記第2挟持部は、前記ベース部の間で前記第2の対象物を挟持する構成となっており、
前記第1挟持部及び前記第2挟持部は、前記第1挟持部の方が前記第2挟持部よりも前記ベース部の基端部分寄りとなるようにして配設されている請求項1に記載のロボットハンド。
【請求項5】
請求項1乃至請求項4のいずれか1つに記載のロボットハンドが装着されたロボットアームと、前記ロボットハンド及び前記ロボットアームの駆動制御を行う駆動制御部とを備えているロボットシステム。
発明の詳細な説明
【技術分野】
【0001】
本発明は、ロボットハンド、ロボットシステムに関する。
続きを表示(約 3,100 文字)
【背景技術】
【0002】
ロボットシステムを構成している人協働ロボット等のロボットには、複数の関節部が形成されたアーム(ロボットアーム)と、ロボットアームの先端部に装着されたハンド(ロボットハンド)とを備えているものがある。ロボットハンドには、例えば一対の可動爪によってワークを挟んだ状態で保持(挟持)可能となるように構成されているものがある(例えば特許文献1参照)。
【先行技術文献】
【特許文献】
【0003】
特開2018-1281号公報
【発明の概要】
【発明が解決しようとする課題】
【0004】
ここで、作業等に応じて挟持の対象が異なる場合には、対象毎にロボットハンドを設け、必要に応じてロボットハンドを自動で換装する構成とすれば、ロボットが従事できる作業を増やすことができる。また、挟持対象の形状や大きさ等に応じ可動爪の形状を定めることにより、挟持対象の脱落等を好適に抑制できる。但し、換装用の治具や各種ロボットハンドをロボットの近傍に設置するにはある程度のスペースが必要になる。例えば研究所や実験室にて卓上にロボットを設置する場合、すなわちロボットシステムの設置領域に限りがある場合には、換装用のロボットハンドの設置によって作業領域が圧迫され得る。これは、ロボットが従事可能な作業を増やす上で妨げになり得る。このような設置領域に係る懸念を解消する上では、ロボットハンドに対をなす可動爪を複数組設け、それら可動爪を作業に応じて使い分ける構成とすれば、交換用のロボットハンドを準備しなくても従事できる作業の数を増やすことができる。しかしながら、このような対応では各組を動作させるための駆動機構が必要になり、ロボットハンドが大きくなると想定される。ロボットハンドが大きくなれば、治具等の周辺構成との衝突を回避する上でロボットの動きに係る制約が強くなる。これは、ロボットが従事する作業を増やす上で好ましくない。このように、限られたスペースでロボットを複数の作業に従事させる上で、ロボットハンドに係る構成には未だ改善の余地がある。
【0005】
本発明は、上記例示した課題等に鑑みてなされたものであり、その主たる目的は、ロボットシステムの省スペース化を図り、ロボットが従事できる作業を増やすことにある。
【課題を解決するための手段】
【0006】
第1の手段.複数の関節部を有してなるロボットアームに適用され、一対の挟持部材と、それら挟持部材の相対距離を変更するための距離可変機構とを備えているロボットハンドであって、
各前記挟持部材は、前記ロボットアームの先端部と同じ方向に延びるベース部を有し、
前記ベース部には、
前記ベース部の側部から延出し、第1の対象物を前記ベース部から離れた位置で挟持するための第1挟持部と、
前記第1挟持部が位置している仮想平面と平行又は略平行となるようにして筒状又は棒状をなす第2の対象物を挟持するための第2挟持部と
が設けられている。
【0007】
本手段に示すように、第1の対象物用の第1挟持部と第2の対象物用の第2挟持部とを挟持部材に併設すれば、対象物に応じてハンドを換装することなく各対象物に係る作業を円滑に進めることができる。これは、限られたスペースにてロボットが従事可能な作業を増やす上で好ましい。また、対象物に合わせて挟持部を形成できるため、挟持機能を安定して発揮させることが可能となる。例えば、1の挟持部を用いて異なる2つの対象物を挟持する構成と比較して作業ミスを減らす上で有利である。そして、挟持部材の駆動に係る構成(距離可変機構等)を挟持部間で共用とすることができるため、駆動に係る構成が複雑になることを好適に抑制できる。
【0008】
本手段に示す構成においては特に、第1の対象物を挟持する第1挟持部がベース部の側部から延出するようにして形成されており、ベース部から離れた位置(ずらした位置)にて第1の対象物を挟持可能となっている。これは、第1の対象物の側部を挟持するといった挟持態様を実現する上で好ましい。そして、第1挟持部が位置している仮想平面と平行又は略平行となるようにして筒状又は棒状をなす第2の対象物を保持する第2挟持部が併設されている。これにより、ベース部に対して特定の方向に位置する領域(第1挟持部が延びている側の領域)を第1挟持部、第1の対象物、第2の対象物とで共用とすることができ、ロボットが従事可能な作業を増やしつつ、システムの省スペース化に寄与できる。
【図面の簡単な説明】
【0009】
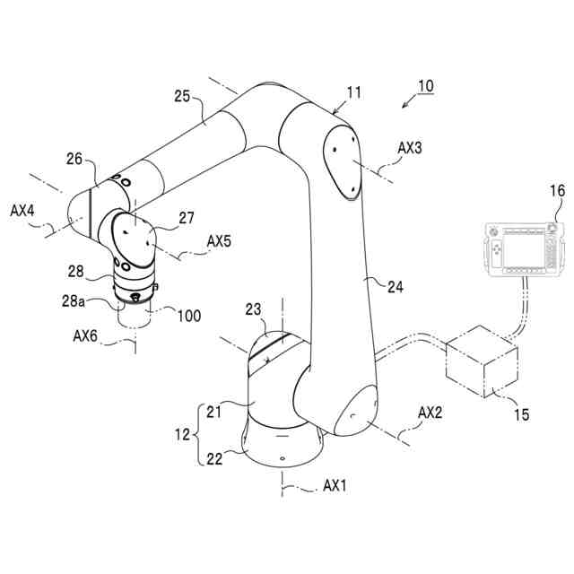
第1の実施形態におけるロボットシステムを示す斜視図。
ロボットシステムの電気的構成を示すブロック図。
ロボットが設置されたテーブルを示す概略図。
ロボットが従事している作業の流れを示す概略図。
ハンドの正面図。
ハンドを斜め下方から見た斜視図。
(a)右側の挟持部材の左側面図、(b)左側の挟持部材の右側面図。
ビーカを保持した状態を示す概略図。
ピペット及びピペットスタンドを示す概略図。
ピペットの保持の流れを示す概略図。
チップの取り外しの流れを示す概略図。
綿棒の保持の流れを示す概略図。
変形例を示す概略図。
第2の実施形態におけるロボット及びテーブルを示す概略図。
ロボットが従事している作業の流れを示す概略図。
ハンドの背面図。
ハンドを斜め後方から見た斜視図。
ビーカを保持した状態を示す概略図。
ダイヤルを挟んだ状態を示す概略図。
ダイヤル操作の流れを示す概略図。
変形例を示す概略図。
第3の実施形態におけるロボット及びテーブルを示す概略図。
ロボットが従事している作業の流れを示す概略図。
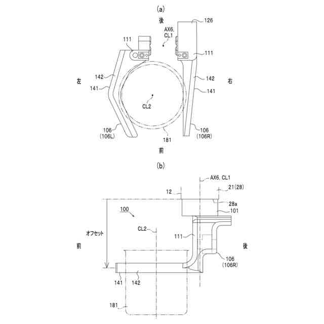
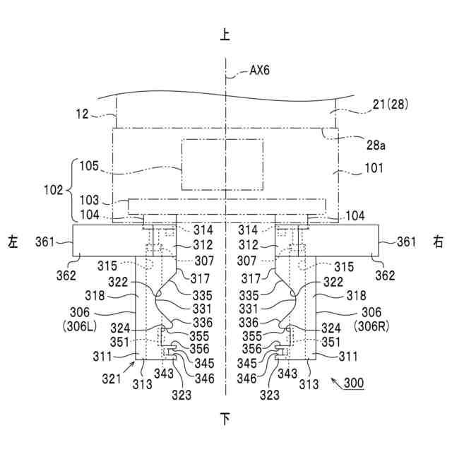
ハンドの正面図。
右側の挟持部材の左側面図。
ハンドを下側から見た斜視図。
ビーカを保持した状態を示す概略図。
注射器のプランジャを保持した状態を示す概略図。
図28のA-A線部分断面図。
注射器のシリンジを保持した状態を示す概略図。
注射器のシリンジを保持した状態を示す概略図。
注射器のフィルタを保持した状態を示す概略図。
図32のB-B線部分断面図。
フィルタの取り付けの流れを示す概略図。
フィルタの取り付けの流れを示す概略図。
第4の実施形態における実験室を示す概略図。
搬送ロボットの側面図。
搬送システムの電気的構成を示すブロック図。
ハンド及びトレーを示す斜視図。
トレーの正面図。
トレーの側面図。
ハンドの側面図。
ハンドの平面図。
トレーの搬送の流れを示す概略図。
変形例を示す概略図。
変形例を示す概略図。
【発明を実施するための形態】
【0010】
<第1の実施形態>
以下、実験室などで用いられるロボットシステムに具現化した第1の実施形態について図面を参照しつつ説明する。
(【0011】以降は省略されています)
この特許をJ-PlatPat(特許庁公式サイト)で参照する
関連特許
個人
固定補助具
1か月前
個人
折りたたみ工具
26日前
株式会社三協システム
製函機
24日前
川崎重工業株式会社
ロボット
3日前
株式会社不二越
ロボット
2日前
株式会社竹中工務店
補助セット
2日前
株式会社三協システム
移載装置
23日前
CKD株式会社
把持装置
25日前
株式会社不二越
ロボット操作装置
1か月前
株式会社不二越
ロボットシステム
1か月前
SMC株式会社
着脱装置
24日前
太陽パーツ株式会社
アシストスーツ
26日前
日本精工株式会社
締結用工具
1か月前
株式会社ミクロブ
把持装置
25日前
ARMA株式会社
ジョイントフレーム
1か月前
株式会社不二越
移動ロボットシステム
5日前
トヨタ自動車株式会社
カプラ接続治具
1か月前
株式会社不二越
エッジ仕上げ装置
15日前
株式会社不二越
ロボットシステム
23日前
本田技研工業株式会社
装置
8日前
株式会社不二越
ロボットシステム
26日前
積水ハウス株式会社
フィルム除去具
1か月前
株式会社不二越
垂直多関節ロボット
16日前
トヨタ自動車株式会社
歩行ロボット
29日前
大和ハウス工業株式会社
ねじ回転工具
24日前
アネックスツール株式会社
ドライバービット
1日前
ライオン株式会社
移載システム
17日前
ダイハツ工業株式会社
移載治具
1か月前
シンフォニアテクノロジー株式会社
搬送装置
5日前
ワールド技研株式会社
ロボットセル装置
2日前
株式会社不二越
ロボットシステム
1か月前
NTN株式会社
ハンド
3日前
倉敷紡績株式会社
ハンドおよびコネクタ接続方法
15日前
セイコーエプソン株式会社
ロボット
24日前
トヨタ自動車株式会社
ロボットの制御装置
1日前
シヤチハタ株式会社
マーキング装置
29日前
続きを見る
他の特許を見る