TOP
|
特許
|
意匠
|
商標
特許ウォッチ
Twitter
他の特許を見る
10個以上の画像は省略されています。
公開番号
2025144593
公報種別
公開特許公報(A)
公開日
2025-10-03
出願番号
2024044312
出願日
2024-03-20
発明の名称
ロボットハンド、ロボットシステム
出願人
株式会社デンソーウェーブ
代理人
個人
主分類
B25J
15/08 20060101AFI20250926BHJP(手工具;可搬型動力工具;手工具用の柄;作業場設備;マニプレータ)
要約
【課題】ツールを適正に保持可能とし、作業効率の向上に寄与すること。
【解決手段】アーム21のフランジ部28に装着されているハンド100は、一対の挟持部材106と、それら挟持部材106を開閉させる開閉機構102とを備えている。挟持部材106は、フランジ部28の回動中心軸線である第6軸AX6の軸線方向に延びるベース部111を有してなり、ベース部111の内面121には、ピペットに付属のブラケットを挟持するためのピペット用挟持部122と、ピペットの挟持に際して、ブラケットに形成された凹状のブラケット側係合部に係合するハンド側係合部123とが設けられている。ブラケット側係合部とハンド側係合部123とが係合することにより、内面121に沿ったピペットの変位及び向きの変化が規制される。
【選択図】 図5
特許請求の範囲
【請求項1】
複数の関節部を有してなるロボットアームに適用され、一対の開閉部材と、それら開閉部材の相対距離を変更するための距離可変機構とを備えているロボットハンドであって、
前記一対の開閉部材には、保持対象を挟む壁面部が各々設けられており、
前記一対の開閉部材の少なくとも一方には、それら開閉部材の相対距離を変更して前記壁面部により前記保持対象を挟んで保持する場合に当該変更に伴って前記保持対象に形成された保持対象側係合部と係合し、当該保持対象側係合部と係合することで前記壁面部に沿った前記保持対象の変位及び向きの変化を規制するハンド側係合部が設けられているロボットハンド。
続きを表示(約 350 文字)
【請求項2】
前記ハンド側係合部には、前記保持対象側係合部に形成された角部に係合する角部が形成されている請求項1に記載のロボットハンド。
【請求項3】
前記ハンド側係合部は、前記保持対象を挟んで保持している場合に、前記開閉部材の並び方向にて前記保持対象側係合部との間に隙間が生じるように形成されている請求項1に記載のロボットハンド。
【請求項4】
前記ハンド側係合部は、両前記開閉部材の前記壁面部に形成されている請求項1に記載のロボットハンド。
【請求項5】
請求項1乃至請求項4のいずれか1つに記載のロボットハンドが装着されたロボットアームと、前記ロボットハンド及び前記ロボットアームの駆動制御を行う駆動制御部とを備えているロボットシステム。
発明の詳細な説明
【技術分野】
【0001】
本発明は、ロボットハンド、ロボットシステムに関する。
続きを表示(約 2,800 文字)
【背景技術】
【0002】
ロボットシステムを構成している人協働ロボット等のロボットには、複数の関節部が形成されたアーム(ロボットアーム)と、ロボットアームの先端部に装着されたハンド(ロボットハンド)とを備えているものがある。ロボットハンドには、例えば一対の可動爪によってワークを挟んだ状態で保持可能となるように構成されているものがある(例えば特許文献1参照)。
【先行技術文献】
【特許文献】
【0003】
特開2018-1281号公報
【発明の概要】
【発明が解決しようとする課題】
【0004】
近年では、ロボットアームの先端部に上述したハンド以外のツール(器具)を固定して、ロボットを当該ツールを用いた作業に従事させるといった提案がなされている。このような構成では、ロボットは1の作業に専任することとなり、複数の作業に従事させることは実質的に困難になる。ここで、例えば上述したロボットハンドによりツールを保持可能とすれば、例えばワーク等の搬送等の作業を許容しつつ、ツールを用いた作業にも従事可能となる。但し、単にツールを挟んで保持する場合には、上述の如くツールを固定する構成と比較して、ツールが不安定になり、精密な作業等は困難になると懸念される。特に、作業効率の向上を図るべくロボットアームの姿勢を素早く変化させる場合には、ツールの重さによってツールの位置がずれるといった不都合が生じやすくなると想定される。つまり、ロボットハンドを用いてツールを保持することは従事できる作業の種類を増やす上では好ましいものの、作業効率の向上を図る上で懸念が残る。このように、ロボットハンドによりツールを保持する上では、当該ロボットハンドに係る構成に未だ改善の余地がある。
【0005】
本発明は、上記例示した課題等に鑑みてなされたものであり、その主たる目的は、ツールを適正に保持可能とし、作業効率の向上に寄与することにある。
【課題を解決するための手段】
【0006】
第1の手段.複数の関節部を有してなるロボットアームに適用され、一対の開閉部材と、それら開閉部材の相対距離を変更するための距離可変機構とを備えているロボットハンドであって、
前記一対の開閉部材には、保持対象を挟む壁面部が各々設けられており、
前記一対の開閉部材の少なくとも一方には、それら開閉部材の相対距離を変更して前記壁面部により前記保持対象を挟んで保持する場合に当該変更に伴って前記保持対象に形成された保持対象側係合部と係合し、当該保持対象側係合部と係合することで前記壁面部に沿った前記保持対象の変位及び向きの変化を規制するハンド側係合部が設けられている。
【0007】
ロボットハンドにより保持対象を単に挟んで保持している場合には、ロボットアームの姿勢が変化した際に当該保持対象の重さによって保持対象に位置ずれが生じ得る。そして、このような位置ずれはロボットアームの動作速度を速くすることで顕著となり、作業効率の向上を図る上で妨げになると想定される。この点、本手段に示す構成によれば、ロボットハンド(開閉部材)を閉じて壁面部により保持対象を挟んで保持する場合にハンド側係合部と保持対象側係合部とが係合し、両係合部の係合により壁面部に沿った保持対象の変位及び向きの変化が規制されることとなる。つまり、保持対象の位置ずれを抑制し、作業効率の向上に寄与できる。
【0008】
また、ハンド側係合部及び保持対象側係合部については、開閉部材の閉動作に伴って係合する構成となっており、上記規制機能を発揮させるために別途アクチュエータ等を設ける必要がない。つまり、上記懸念を解消する上で、ハンドに係る構成の肥大化を抑制できる。故に、本手段に示す構成によれば、ハンドの省スペース化を図りつつ作業効率の向上に貢献できる。
【図面の簡単な説明】
【0009】
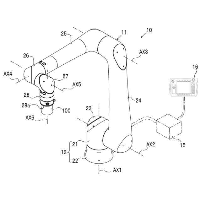
第1の実施形態におけるロボットシステムを示す斜視図。
ロボットシステムの電気的構成を示すブロック図。
ロボットが設置されたテーブルを示す概略図。
ロボットが従事している作業の流れを示す概略図。
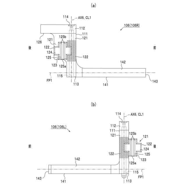
ハンドの正面図。
ハンドを斜め下方から見た斜視図。
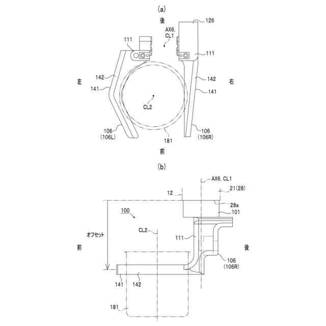
(a)右側の挟持部材の左側面図、(b)左側の挟持部材の右側面図。
ビーカを保持した状態を示す概略図。
ピペット及びピペットスタンドを示す概略図。
ピペットの保持の流れを示す概略図。
チップの取り外しの流れを示す概略図。
綿棒の保持の流れを示す概略図。
変形例を示す概略図。
第2の実施形態におけるロボット及びテーブルを示す概略図。
ロボットが従事している作業の流れを示す概略図。
ハンドの背面図。
ハンドを斜め後方から見た斜視図。
ビーカを保持した状態を示す概略図。
ダイヤルを挟んだ状態を示す概略図。
ダイヤル操作の流れを示す概略図。
変形例を示す概略図。
第3の実施形態におけるロボット及びテーブルを示す概略図。
ロボットが従事している作業の流れを示す概略図。
ハンドの正面図。
右側の挟持部材の左側面図。
ハンドを下側から見た斜視図。
ビーカを保持した状態を示す概略図。
注射器のプランジャを保持した状態を示す概略図。
図28のA-A線部分断面図。
注射器のシリンジを保持した状態を示す概略図。
注射器のシリンジを保持した状態を示す概略図。
注射器のフィルタを保持した状態を示す概略図。
図32のB-B線部分断面図。
フィルタの取り付けの流れを示す概略図。
フィルタの取り付けの流れを示す概略図。
第4の実施形態における実験室を示す概略図。
搬送ロボットの側面図。
搬送システムの電気的構成を示すブロック図。
ハンド及びトレーを示す斜視図。
トレーの正面図。
トレーの側面図。
ハンドの側面図。
ハンドの平面図。
トレーの搬送の流れを示す概略図。
変形例を示す概略図。
変形例を示す概略図。
【発明を実施するための形態】
【0010】
<第1の実施形態>
以下、実験室などで用いられるロボットシステムに具現化した第1の実施形態について図面を参照しつつ説明する。
(【0011】以降は省略されています)
この特許をJ-PlatPat(特許庁公式サイト)で参照する
関連特許
個人
固定補助具
1か月前
個人
折りたたみ工具
1か月前
川崎重工業株式会社
ロボット
12日前
株式会社三協システム
製函機
1か月前
株式会社三協システム
移載装置
1か月前
株式会社不二越
ロボット
11日前
株式会社竹中工務店
補助セット
11日前
CKD株式会社
把持装置
1か月前
株式会社不二越
ロボットシステム
1か月前
株式会社不二越
ロボット操作装置
1か月前
川崎重工業株式会社
ハンド
3日前
太陽パーツ株式会社
アシストスーツ
1か月前
日本精工株式会社
締結用工具
1か月前
SMC株式会社
着脱装置
1か月前
株式会社ミクロブ
把持装置
1か月前
株式会社不二越
移動ロボットシステム
14日前
ARMA株式会社
ジョイントフレーム
1か月前
トヨタ自動車株式会社
ロボット
6日前
トヨタ自動車株式会社
カプラ接続治具
1か月前
工機ホールディングス株式会社
作業機
3日前
株式会社不二越
エッジ仕上げ装置
24日前
本田技研工業株式会社
装置
17日前
株式会社不二越
ロボットシステム
1か月前
株式会社不二越
ロボットシステム
1か月前
川崎重工業株式会社
塗装システム
3日前
株式会社不二越
垂直多関節ロボット
25日前
トヨタ自動車株式会社
歩行ロボット
1か月前
トヨタ自動車株式会社
軌道生成装置
6日前
シンフォニアテクノロジー株式会社
搬送装置
14日前
アネックスツール株式会社
ドライバービット
10日前
大和ハウス工業株式会社
ねじ回転工具
1か月前
ライオン株式会社
移載システム
26日前
工機ホールディングス株式会社
作業機
3日前
ダイハツ工業株式会社
移載治具
1か月前
川崎重工業株式会社
ワーク搬送ロボット
3日前
株式会社マキタ
回転打撃工具
6日前
続きを見る
他の特許を見る