TOP
|
特許
|
意匠
|
商標
特許ウォッチ
Twitter
他の特許を見る
10個以上の画像は省略されています。
公開番号
2025144592
公報種別
公開特許公報(A)
公開日
2025-10-03
出願番号
2024044311
出願日
2024-03-20
発明の名称
ロボットハンド、ロボットシステム
出願人
株式会社デンソーウェーブ
代理人
個人
主分類
B25J
15/08 20060101AFI20250926BHJP(手工具;可搬型動力工具;手工具用の柄;作業場設備;マニプレータ)
要約
【課題】ロボットシステムの省スペース化を図り、ロボットが従事できる作業を増やすこと。
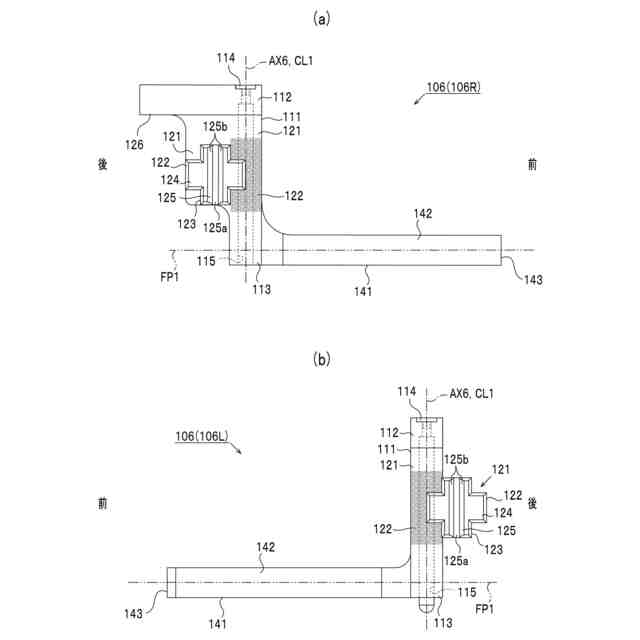
【解決手段】アーム21のフランジ部28に装着されているハンド100は、一対の挟持部材106と、それら挟持部材106を開閉させる開閉機構102とを備えている。挟持部材106は、フランジ部28の回動中心軸線である第6軸AX6の軸線方向に延びるベース部111を有してなり、ベース部111の内面121には、ピペットに付属のブラケットを挟持するためのピペット用挟持部122と、ピペットの挟持に際して、ブラケットに形成された凹状のブラケット側係合部に係合するハンド側係合部123とが設けられている。ハンド側係合部123は、内面121から膨出しており、ハンド側係合部123の頂部124には、綿棒を挟持するための挟持部として溝部125が形成されている。
【選択図】 図5
特許請求の範囲
【請求項1】
複数の関節部を有してなるロボットアームに適用され、一対の挟持部材と、それら挟持部材の相対距離を変更するための距離可変機構とを備えているロボットハンドであって、
前記挟持部材は、
第1の対象物を挟持するための第1挟持部と、
前記第1挟持部を前記アームの先端部からオフセットさせるオフセット部と、
前記オフセット部に設けられ、棒状をなす第2の対象物を挟持するための第2挟持部と
を含み、
前記第2挟持部は、前記オフセット部の長手方向に延びる溝状をなしており、前記第2の対象物の挟持に際して当該第2の対象物に係合可能となっているロボットハンド。
続きを表示(約 630 文字)
【請求項2】
溝状をなす前記第2挟持部の全長は、前記オフセット部の全長よりも短くなっている請求項1に記載のロボットハンド。
【請求項3】
前記オフセット部には当該オフセット部の内面から膨出する膨出部が設けられており、
前記第2挟持部は、前記膨出部の頂部に形成され、前記オフセット部の長手方向における前記頂部の両縁部に跨るようにして延びている請求項1に記載のロボットハンド。
【請求項4】
前記オフセット部には当該オフセット部の内面から膨出する膨出部が設けられており、
前記膨出部は、前記挟持部材の相対距離を変更して第3の対象物を挟持する場合に当該変更に伴って前記第3の対象物に形成された保持対象側係合部と係合し、保持対象側係合部と係合することで前記第3の対象物の変位及び向きの変化を規制するハンド側係合部であり、
前記第2挟持部は、前記膨出部の頂部に形成されている請求項1に記載のロボットハンド。
【請求項5】
前記第2挟持部は、前記オフセット部の長手方向における中間位置又は当該オフセット部の先端側となる位置に配設されている請求項1に記載のロボットハンド。
【請求項6】
請求項1乃至請求項5のいずれか1つに記載のロボットハンドが装着されたロボットアームと、前記ロボットハンド及び前記ロボットアームの駆動制御を行う駆動制御部とを備えているロボットシステム。
発明の詳細な説明
【技術分野】
【0001】
本発明は、ロボットハンド、ロボットシステムに関する。
続きを表示(約 3,100 文字)
【背景技術】
【0002】
ロボットシステムを構成している人協働ロボット等のロボットには、複数の関節部が形成されたアーム(ロボットアーム)と、ロボットアームの先端部に装着されたハンド(ロボットハンド)とを備えているものがある。ロボットハンドには、例えば一対の可動爪によってワークを挟んだ状態で保持(挟持)可能となるように構成されているものがある(例えば特許文献1参照)。
【先行技術文献】
【特許文献】
【0003】
特開2018-1281号公報
【発明の概要】
【発明が解決しようとする課題】
【0004】
ここで、作業等に応じて挟持の対象が異なる場合には、対象毎にロボットハンドを設け、必要に応じてロボットハンドを自動で換装する構成とすれば、ロボットが従事できる作業を増やすことができる。また、挟持対象の形状や大きさ等に応じ可動爪の形状を定めることにより、挟持対象の脱落等を好適に抑制できる。但し、換装用の治具や各種ロボットハンドをロボットの近傍に設置するにはある程度のスペースが必要になる。例えば研究所や実験室にて卓上にロボットを設置する場合、すなわちロボットシステムの設置領域に限りがある場合には、換装用のロボットハンドの設置によって作業領域が圧迫され得る。これは、ロボットが従事可能な作業を増やす上で妨げになり得る。
【0005】
このような設置領域に係る懸念を解消する上では、ロボットハンドに対をなす可動爪を複数組設け、それら可動爪を作業に応じて使い分ける構成とすれば、交換用のロボットハンドを準備しなくても従事できる作業の数を増やすことができる。しかしながら、このような対応では各組を動作させるための駆動機構が必要になり、ロボットハンドが大きくなると想定される。ロボットハンドが大きくなれば、治具等の周辺構成との衝突を回避する上でロボットの動きに係る制約が強くなる。これは、ロボットが従事する作業を増やす上で好ましくない。このように、限られたスペースでロボットを複数の作業に従事させる上で、ロボットハンドに係る構成には未だ改善の余地がある。
【0006】
本発明は、上記例示した課題等に鑑みてなされたものであり、その主たる目的は、ロボットシステムの省スペース化を図り、ロボットが従事できる作業を増やすことにある。
【課題を解決するための手段】
【0007】
第1の手段.複数の関節部を有してなるロボットアームに適用され、一対の挟持部材と、それら挟持部材の相対距離を変更するための距離可変機構とを備えているロボットハンドであって、
前記挟持部材は、
第1の対象物を挟持するための第1挟持部と、
前記第1挟持部を前記アームの先端部からオフセットさせるオフセット部と、
前記オフセット部に設けられ、棒状をなす第2の対象物を挟持するための第2挟持部と
を含み、
前記第2挟持部は、前記オフセット部の長手方向に延びる溝状をなしており、前記第2の対象物の挟持に際して当該第2の対象物に係合可能となっている。
【0008】
本手段に示すように、第1の対象物用の第1挟持部と第2の対象物用の第2挟持部とを挟持部材に併設すれば、対象物に応じてハンドを換装することなく各対象物に係る作業を円滑に進めることができる。これは、限られたスペースにてロボットが従事可能な作業を増やす上で好ましい。また、対象物に合わせて挟持部を形成できるため、挟持機能を安定して発揮させることが可能となる。例えば、1の挟持部を用いて異なる2つの対象物を挟持する構成と比較して作業ミスを減らす上で有利である。
【0009】
本手段に示す挟持部材においては特に、オフセット部を用いて第1挟持部をロボットアームの先端部からオフセットさせている。つまり、先端部から遠ざけた位置にて第1の対象物を挟持可能としている。このような構成とすれば、第1の対象物を挟持する際の挟持箇所や第1の対象の大きさ、形状等に係る制約を好適に緩和できる。ここで、オフセット部には棒状をなす第2の対象物を挟持するための第2挟持部が設けられている。第2挟持部についてはオフセット部の長手方向に延びる溝状をなしており、挟持に際して第2の対象物と係合する。このため、第2の対象物はオフセット部に沿った姿勢となるようにして挟持されることとなり、第2の対象物を挟持している状態におけるハンド及び第2の対象物の専有領域を小さくすることができる。また、例えばオフセット部とは別の箇所に第2の挟持部を設ける場合と比較して、ロボットハンドの肥大化を抑制する上で有利である。以上の理由から、本特徴に示すロボットハンドによれば、ロボットが従事可能な作業を増やしつつ、2種の挟持部を好適に共存させることができる。
【図面の簡単な説明】
【0010】
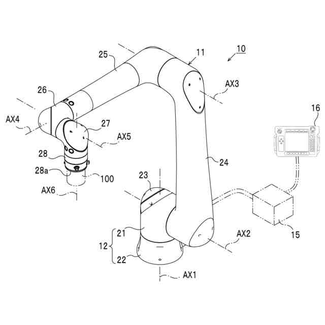
第1の実施形態におけるロボットシステムを示す斜視図。
ロボットシステムの電気的構成を示すブロック図。
ロボットが設置されたテーブルを示す概略図。
ロボットが従事している作業の流れを示す概略図。
ハンドの正面図。
ハンドを斜め下方から見た斜視図。
(a)右側の挟持部材の左側面図、(b)左側の挟持部材の右側面図。
ビーカを保持した状態を示す概略図。
ピペット及びピペットスタンドを示す概略図。
ピペットの保持の流れを示す概略図。
チップの取り外しの流れを示す概略図。
綿棒の保持の流れを示す概略図。
変形例を示す概略図。
第2の実施形態におけるロボット及びテーブルを示す概略図。
ロボットが従事している作業の流れを示す概略図。
ハンドの背面図。
ハンドを斜め後方から見た斜視図。
ビーカを保持した状態を示す概略図。
ダイヤルを挟んだ状態を示す概略図。
ダイヤル操作の流れを示す概略図。
変形例を示す概略図。
第3の実施形態におけるロボット及びテーブルを示す概略図。
ロボットが従事している作業の流れを示す概略図。
ハンドの正面図。
右側の挟持部材の左側面図。
ハンドを下側から見た斜視図。
ビーカを保持した状態を示す概略図。
注射器のプランジャを保持した状態を示す概略図。
図28のA-A線部分断面図。
注射器のシリンジを保持した状態を示す概略図。
注射器のシリンジを保持した状態を示す概略図。
注射器のフィルタを保持した状態を示す概略図。
図32のB-B線部分断面図。
フィルタの取り付けの流れを示す概略図。
フィルタの取り付けの流れを示す概略図。
第4の実施形態における実験室を示す概略図。
搬送ロボットの側面図。
搬送システムの電気的構成を示すブロック図。
ハンド及びトレーを示す斜視図。
トレーの正面図。
トレーの側面図。
ハンドの側面図。
ハンドの平面図。
トレーの搬送の流れを示す概略図。
変形例を示す概略図。
変形例を示す概略図。
【発明を実施するための形態】
(【0011】以降は省略されています)
この特許をJ-PlatPat(特許庁公式サイト)で参照する
関連特許
個人
固定補助具
1か月前
個人
折りたたみ工具
1か月前
川崎重工業株式会社
ロボット
10日前
株式会社三協システム
製函機
1か月前
株式会社三協システム
移載装置
1か月前
株式会社不二越
ロボット
9日前
株式会社竹中工務店
補助セット
9日前
CKD株式会社
把持装置
1か月前
株式会社不二越
ロボットシステム
1か月前
株式会社不二越
ロボット操作装置
1か月前
川崎重工業株式会社
ハンド
1日前
太陽パーツ株式会社
アシストスーツ
1か月前
日本精工株式会社
締結用工具
1か月前
SMC株式会社
着脱装置
1か月前
株式会社ミクロブ
把持装置
1か月前
株式会社不二越
移動ロボットシステム
12日前
ARMA株式会社
ジョイントフレーム
1か月前
トヨタ自動車株式会社
ロボット
4日前
トヨタ自動車株式会社
カプラ接続治具
1か月前
工機ホールディングス株式会社
作業機
1日前
株式会社不二越
エッジ仕上げ装置
22日前
本田技研工業株式会社
装置
15日前
株式会社不二越
ロボットシステム
1か月前
株式会社不二越
ロボットシステム
1か月前
川崎重工業株式会社
塗装システム
1日前
株式会社不二越
垂直多関節ロボット
23日前
トヨタ自動車株式会社
歩行ロボット
1か月前
トヨタ自動車株式会社
軌道生成装置
4日前
シンフォニアテクノロジー株式会社
搬送装置
12日前
アネックスツール株式会社
ドライバービット
8日前
大和ハウス工業株式会社
ねじ回転工具
1か月前
ライオン株式会社
移載システム
24日前
工機ホールディングス株式会社
作業機
1日前
ダイハツ工業株式会社
移載治具
1か月前
川崎重工業株式会社
ワーク搬送ロボット
1日前
株式会社マキタ
回転打撃工具
4日前
続きを見る
他の特許を見る