TOP
|
特許
|
意匠
|
商標
特許ウォッチ
Twitter
他の特許を見る
10個以上の画像は省略されています。
公開番号
2025144315
公報種別
公開特許公報(A)
公開日
2025-10-02
出願番号
2024044038
出願日
2024-03-19
発明の名称
熱賦形用多層フィルム、賦形多層フィルム及びその製造方法
出願人
日本ゼオン株式会社
代理人
弁理士法人酒井国際特許事務所
主分類
B32B
27/32 20060101AFI20250925BHJP(積層体)
要約
【課題】熱転写における厚み減少の抑制と、良好な転写率とを両立できる熱賦形用多層フィルム、並びに所望の厚みを有し且つ良好な凹凸形状を有する賦形多層フィルム及びその製造方法を提供する。
【解決手段】熱賦形用多層フィルムであって、被賦形層である第1層と、前記第1層に隣接する第2層とを含み、前記第1層は、脂環式構造含有重合体を含む熱可塑性樹脂(P1)を含み、前記第2層は、脂環式構造含有重合体を含む熱可塑性樹脂(P2)を含み、前記熱可塑性樹脂(P1)及び(P2)が、Tg2-Tg1>20℃を満たし、ここで、Tg1は、前記熱可塑性樹脂(P1)のガラス転移温度を表し、Tg2は、前記熱可塑性樹脂(P2)のガラス転移温度を表す、熱賦形用多層フィルム。賦形多層フィルム及びその製造方法。
【選択図】図1
特許請求の範囲
【請求項1】
熱賦形用多層フィルムであって、
被賦形層である第1層と、前記第1層に隣接する第2層とを含み、
前記第1層は、脂環式構造含有重合体を含む熱可塑性樹脂(P1)を含み、
前記第2層は、脂環式構造含有重合体を含む熱可塑性樹脂(P2)を含み、
前記熱可塑性樹脂(P1)及び(P2)が、下記式(1):
Tg2-Tg1>20℃ 式(1)
を満たし、
ここで、Tg1は、前記熱可塑性樹脂(P1)のガラス転移温度を表し、Tg2は、前記熱可塑性樹脂(P2)のガラス転移温度を表す、熱賦形用多層フィルム。
続きを表示(約 510 文字)
【請求項2】
前記Tg1が70℃以下である、請求項1に記載の熱賦形用多層フィルム。
【請求項3】
請求項1又は2に記載の熱賦形用多層フィルムを用意する工程(S1)、及び
前記熱賦形用多層フィルムの第1層側の表面に、熱転写により、凹凸構造を賦形する工程(S2)を含む、賦形多層フィルムの製造方法。
【請求項4】
賦形多層フィルムであって、
第1層と、前記第1層に隣接する第2層とを含み、
前記第1層は、脂環式構造含有重合体を含む熱可塑性樹脂(P1)を含み、
前記第2層は、脂環式構造含有重合体を含む熱可塑性樹脂(P2)を含み、
前記熱可塑性樹脂(P1)及び(P2)が、下記式(1):
Tg2-Tg1>20℃ 式(1)
を満たし、
ここで、Tg1は、前記熱可塑性樹脂(P1)のガラス転移温度を表し、Tg2は、前記熱可塑性樹脂(P2)のガラス転移温度を表し、
前記第1層側の表面に、凹凸構造を有する、賦形多層フィルム。
【請求項5】
前記Tg1が70℃以下である、請求項4に記載の賦形多層フィルム。
発明の詳細な説明
【技術分野】
【0001】
本発明は、熱賦形用多層フィルム、賦形多層フィルム及びその製造方法に関する。より具体的には、熱転写により微小な凹凸構造をその表面に賦形するのに適した熱賦形用多層フィルム、並びに賦形多層フィルム及びその製造方法に関する。
続きを表示(約 2,300 文字)
【背景技術】
【0002】
樹脂製のフィルムの表面に凹凸構造を賦形し、様々な性質を有する賦形多層フィルムとすることが行われている。例えば、光拡散シート、レリーフホログラム、回折格子、反射防止フィルム等の光学的機能を有するフィルムを得るために、平坦な樹脂フィルムの表面に、微小な凹凸構造を賦与することが行われている(例えば、特許文献1~2)。樹脂フィルムへの凹凸構造の賦与は、多くの場合、熱転写、即ち、樹脂フィルムを加熱した状態で、凹凸形状を有するスタンバーを重ねて加圧することにより行われている。
【先行技術文献】
【特許文献】
【0003】
特開2008-173914号公報
特開2010-253696号公報
【発明の概要】
【発明が解決しようとする課題】
【0004】
熱転写による樹脂フィルムへの凹凸構造の賦与を行う場合、樹脂フィルムが加熱された状態で、樹脂フィルムの厚み方向に圧力がかかるため、樹脂フィルムの厚みが減少しうる。特に、スタンパーにより加圧される領域より外側の領域に樹脂フィルムを構成する樹脂が逸脱することにより、樹脂フィルムの厚みが減少しうる。かかる厚みの減少は、賦形多層フィルムを光学的な用途に用いる際には、特に問題になり得る。
【0005】
厚みの減少を抑制するためには、加圧に際しての圧力を弱めることが考えられる。しかしながら、圧力を弱めた場合、微小な凹凸構造が十分に転写せず、転写率の不良が発生しうる。例えば、賦形する形状として、モスアイ構造等の細く高い突起を有する形状を賦形する場合には、転写率の不良が特に問題となり得る。
【0006】
したがって、本発明の目的は、熱転写における厚み減少の抑制と、良好な転写率とを両立できる熱賦形用多層フィルム、並びに所望の厚みを有し且つ良好な凹凸形状を有する賦形多層フィルム及びその製造方法を提供することにある。
【課題を解決するための手段】
【0007】
本発明者は上記課題を解決するため検討を行ったところ、熱賦形用多層フィルムとして、所定の材料からなる多層フィルムを採用することにより、上記課題を解決しうることを見出し、本発明を完成させた。
すなわち、本発明は、以下を提供する。
【0008】
<1> 熱賦形用多層フィルムであって、
被賦形層である第1層と、前記第1層に隣接する第2層とを含み、
前記第1層は、脂環式構造含有重合体を含む熱可塑性樹脂(P1)を含み、
前記第2層は、脂環式構造含有重合体を含む熱可塑性樹脂(P2)を含み、
前記熱可塑性樹脂(P1)及び(P2)が、下記式(1):
Tg2-Tg1>20℃ 式(1)
を満たし、
ここで、Tg1は、前記熱可塑性樹脂(P1)のガラス転移温度を表し、Tg2は、前記熱可塑性樹脂(P2)のガラス転移温度を表す、熱賦形用多層フィルム。
<2> 前記Tg1が70℃以下である、<1>に記載の熱賦形用多層フィルム。
<3> <1>又は<2>に記載の熱賦形用多層フィルムを用意する工程(S1)、及び
前記熱賦形用多層フィルムの第1層側の表面に、熱転写により、凹凸構造を賦形する工程(S2)を含む、賦形多層フィルムの製造方法。
<4> 賦形多層フィルムであって、
第1層と、前記第1層に隣接する第2層とを含み、
前記第1層は、脂環式構造含有重合体を含む熱可塑性樹脂(P1)を含み、
前記第2層は、脂環式構造含有重合体を含む熱可塑性樹脂(P2)を含み、
前記熱可塑性樹脂(P1)及び(P2)が、下記式(1):
Tg2-Tg1>20℃ 式(1)
を満たし、
ここで、Tg1は、前記熱可塑性樹脂(P1)のガラス転移温度を表し、Tg2は、前記熱可塑性樹脂(P2)のガラス転移温度を表し、
前記第1層側の表面に、凹凸構造を有する、賦形多層フィルム。
<5> 前記Tg1が70℃以下である、<4>に記載の賦形多層フィルム。
【発明の効果】
【0009】
本発明によれば、熱転写における厚み減少の抑制と、良好な転写率とを両立できる熱賦形用多層フィルム、並びに所望の厚みを有し且つ良好な凹凸形状を有する賦形多層フィルム及びその製造方法が提供される。
【図面の簡単な説明】
【0010】
図1は、本発明の熱賦形用多層フィルムの一例を概略的に示す側面図である。
図2は、本発明の熱賦形用多層フィルムの別の一例を概略的に示す側面図である。
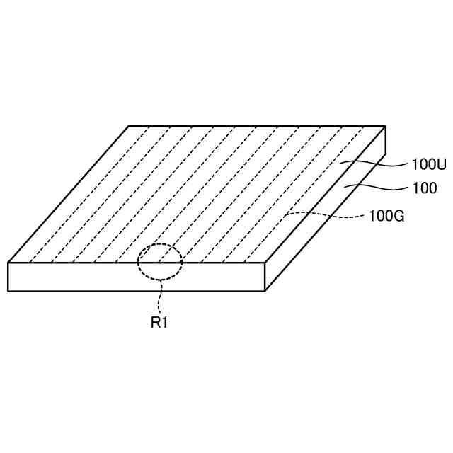
図3は、総厚み減少量測定のために用いる賦形用型であるスタンパーの一例を概略的に示す斜視図である。
図4は、図3のスタンパー100の、破線で示される領域R1を拡大して概略的に示す斜視図である。
図5は、離型を行った直後の、賦形多層フィルム(即ち、熱賦形用多層フィルムに対して熱転写が施されたもの)及びスタンパーの一例を概略的に示す側面図である。
図6は、図5の例で得られた賦形多層フィルムの賦形部分枠200Fの内部における、区切られた領域を示す上面図である。
図7は、図5の例で得られた賦形多層フィルム200を部分的に拡大した状態を概略的に示す側面図である。
【発明を実施するための形態】
(【0011】以降は省略されています)
この特許をJ-PlatPat(特許庁公式サイト)で参照する
関連特許
日本ゼオン株式会社
光学フィルムの製造方法
27日前
個人
圧力センサ
26日前
日本ゼオン株式会社
複層フィルムの製造方法
27日前
日本ゼオン株式会社
加工フィルムの製造方法
1か月前
日本ゼオン株式会社
表面処理方法および表面処理用マスク構造体
26日前
日本ゼオン株式会社
熱賦形用多層フィルム、賦形多層フィルム及びその製造方法
4日前
日本ゼオン株式会社
熱伝導シート
5日前
日本ゼオン株式会社
変性共役ジエン系重合体、ゴム組成物、ゴム架橋物およびタイヤの製造方法
3日前
日本ゼオン株式会社
カーボンナノチューブ集合体及びその製造方法
1か月前
日本ゼオン株式会社
精製方法、単量体組成物、重合体組成物、樹脂組成物、樹脂成形体、および樹脂成形体の製造方法
5日前
個人
導電膜、導電膜の製造方法、電極、電池、コンデンサおよび誘電エラストマトランスデューサ
1か月前
東レ株式会社
積層体
8か月前
東レ株式会社
積層体
4か月前
ユニチカ株式会社
積層体
1か月前
ユニチカ株式会社
積層体
7か月前
個人
箔転写シート
4か月前
東レ株式会社
積層構造体
8か月前
東レ株式会社
積層フィルム
1か月前
東レ株式会社
強化繊維基材
4か月前
東レ株式会社
積層フィルム
3か月前
東レ株式会社
強化繊維基材
4か月前
東レ株式会社
積層フィルム
6か月前
個人
鋼材の塗膜構造
2か月前
東レ株式会社
積層フィルム
7か月前
積水樹脂株式会社
磁性シート
6か月前
東ソー株式会社
多層フィルム
4か月前
東ソー株式会社
多層フィルム
6か月前
エスケー化研株式会社
積層体
7か月前
ユニチカ株式会社
透明シート
1か月前
東洋紡株式会社
積層包装材料
1か月前
東レ株式会社
加飾用フィルム
3日前
日本バイリーン株式会社
表皮材
3か月前
アイカ工業株式会社
光学積層体
5か月前
三菱製紙株式会社
不織布積層体
6か月前
東レ株式会社
多層積層フィルム
19日前
大倉工業株式会社
多層フィルム
7か月前
続きを見る
他の特許を見る