TOP
|
特許
|
意匠
|
商標
特許ウォッチ
Twitter
他の特許を見る
10個以上の画像は省略されています。
公開番号
2025143998
公報種別
公開特許公報(A)
公開日
2025-10-02
出願番号
2024043547
出願日
2024-03-19
発明の名称
動作装置の位置確認機構および装置
出願人
三機工業株式会社
代理人
弁理士法人山田特許事務所
主分類
G01C
15/00 20060101AFI20250925BHJP(測定;試験)
要約
【課題】動作装置の作動に伴い、物体や構造物に対する位置関係を簡便に把握し得る動作装置の位置確認機構および装置を提供する。
【解決手段】対象物に向かって直線的に動作する動作部22を備えた動作装置20に取り付けられ、該動作装置20の動作方向に沿ってレーザ光を照射する光照射装置71,72,73を備え、光照射装置71,72,73の照射光が対象物Cの表面に照射されているか否かを視認することにより、動作装置20の動作方向の前方における他の物体または構造物との干渉の有無を確認可能に構成する。
【選択図】図10
特許請求の範囲
【請求項1】
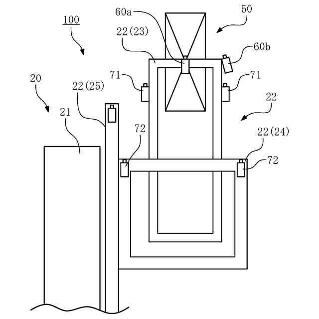
対象物に向かって直線的に動作する動作部を備えた動作装置に取り付けられ、該動作装置の動作方向に沿ってレーザ光を照射する光照射装置を備え、
前記光照射装置の照射光が前記対象物の表面に照射されているか否かを視認することにより、前記動作装置の動作方向の前方における他の物体または構造物との干渉の有無を確認可能に構成されていること
を特徴とする動作装置の位置確認機構。
続きを表示(約 530 文字)
【請求項2】
前記光照射装置は、動作方向の前方から見て前記動作装置における動作部の外郭にあたる位置に取り付けられていること
を特徴とする請求項1に記載の動作装置の位置確認機構。
【請求項3】
位置確認機構を構成する前記光照射装置を少なくとも含む複数の光照射装置が設けられており、
これらの複数の光照射装置から照射されるレーザ光のうち少なくとも一部は、形または色の少なくとも一方が互いに異なること
を特徴とする請求項1に記載の動作装置の位置確認機構。
【請求項4】
請求項1に記載の動作装置の位置確認機構を備えた装置。
【請求項5】
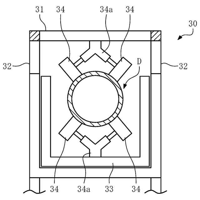
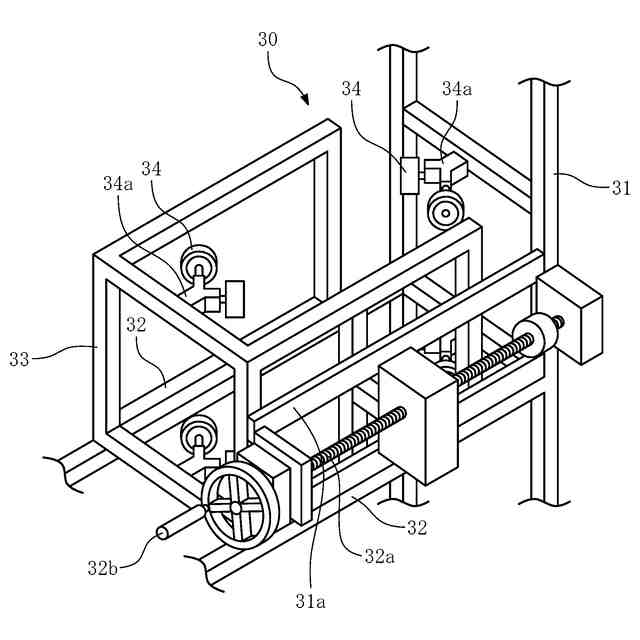
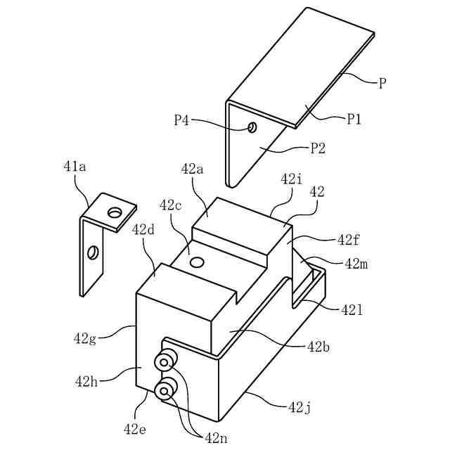
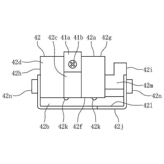
上下方向に昇降する前記動作部としての支持フレームを備えた前記動作装置としての昇降部と、
前記支持フレームに支持され、対象物に対し留具を射出する留具射出部と、
前記留具射出部の留具の射出位置を目標位置に合わせるための位置合わせ部とを備え、
前記位置確認機構としての光照射装置は、上方から見て前記支持フレームの外郭にあたる位置に取り付けられ、上方へレーザ光を照射するよう構成されていること
を特徴とする請求項4に記載の装置。
発明の詳細な説明
【技術分野】
【0001】
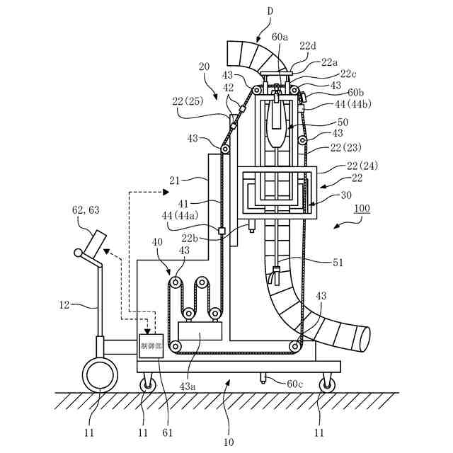
本発明は、例えば上下に昇降する昇降台を備えた装置など、直線的に動作する機構を備えた装置において、その動作にあたって周囲との位置関係を確認するための機構、およびこれを備えた装置に関する。
続きを表示(約 1,600 文字)
【背景技術】
【0002】
例えば建設現場や工事現場において、天井や壁に金具等を打設する際、あるいは掘削や切断といった作業を行う際などに、対象物にレーザ光を照射して目的の位置を示す装置(レーザ墨出し器やレーザ照準器等)を使用することが行われている。同様に、レーザ光を利用して物品の位置を確認したり、物品同士の位置合わせを行う技術は、様々な分野において広く利用されている(例えば、下記特許文献1、2参照)。
【先行技術文献】
【特許文献】
【0003】
特開2022-53094号公報
特開2018-530383号公報
【発明の概要】
【発明が解決しようとする課題】
【0004】
ところで、上述の技術では、光の直進性、特にレーザ光の指向性を利用して物品の位置関係を把握するのであるが、レーザ光をこのように利用する場合、例えば物品同士を正確な位置関係で配置するとか、射出物(鋲打機の鋲など)を目標の位置に対し正確に位置合わせするといった使われ方がほとんどである。しかしながら、物品同士を互いに配置したり、構造物に対し物品を配置する際には、そのようなピンポイントの位置合わせでは足りない場合もある。例えば、天井や壁に対し鋲打機で鋲を打ち込む際、射出口を目標の位置に合わせようとしても、目標位置の周囲に鋲打機と干渉するような物体や構造物があると作業に支障を生じるので、目標位置に対し鋲打機が正しい位置にあるかどうかに加え、鋲打機やそれに取り付けられた物品等が周囲の構造物等と干渉しないかどうかを確認する必要がある。ところが、例えば作業員が床にいながら高い天井に対し道具を持ち上げて何らかの作業を行うような場合には、目標位置周辺の状況を目視で正確に把握することが難しく、作業を行うための物品(鋲打機等)と、その周囲の物体や構造物との位置関係を把握しやすくするような技術が望まれていた。
【0005】
本発明は、斯かる実情に鑑み、動作装置の作動に伴い、物体や構造物に対する位置関係を簡便に把握し得る動作装置の位置確認機構および装置を提供しようとするものである。
【課題を解決するための手段】
【0006】
本発明は、対象物に向かって直線的に動作する動作部を備えた動作装置に取り付けられ、該動作装置の動作方向に沿ってレーザ光を照射する光照射装置を備え、前記光照射装置の照射光が前記対象物の表面に照射されているか否かを視認することにより、前記動作装置の動作方向の前方における他の物体または構造物との干渉の有無を確認可能に構成されていることを特徴とする動作装置の位置確認機構にかかるものである。
【0007】
本発明の動作装置の位置確認機構において、前記光照射装置は、動作方向の前方から見て前記動作装置における動作部の外郭にあたる位置に取り付けることができる。
【0008】
本発明の動作装置の位置確認機構には、位置確認機構を構成する前記光照射装置を少なくとも含む複数の光照射装置を設け、これらの複数の光照射装置から照射されるレーザ光のうち少なくとも一部は、形または色の少なくとも一方が互いに異なるようにすることができる。
【0009】
また、本発明は、上述の動作装置の位置確認機構を備えた装置にかかるものである。
【0010】
本発明の装置は、上下方向に昇降する前記動作部としての支持フレームを備えた前記動作装置としての昇降部と、前記支持フレームに支持され、対象物に対し留具を射出する留具射出部と、前記留具射出部の留具の射出位置を目標位置に合わせるための位置合わせ部とを備え、前記位置確認機構としての光照射装置は、上方から見て前記支持フレームの外郭にあたる位置に取り付けられ、上方へレーザ光を照射するよう構成することができる。
【発明の効果】
(【0011】以降は省略されています)
この特許をJ-PlatPat(特許庁公式サイト)で参照する
関連特許
三機工業株式会社
吊下作業方法
1か月前
三機工業株式会社
吊下作業方法
1か月前
三機工業株式会社
空調システム
1か月前
三機工業株式会社
空調システム
1か月前
三機工業株式会社
下水汚泥焼却灰の肥料化方法
4日前
三機工業株式会社
散水式の浄化装置及び浄化方法
2か月前
三機工業株式会社
動作装置の位置確認機構および装置
1か月前
三機工業株式会社
ダクトの吊下作業方法およびシステム
2か月前
三機工業株式会社
クレーン運転システム及びごみ処理方法
1か月前
三機工業株式会社
クレーン運転システム及びごみ処理方法
1か月前
三機アクアテック株式会社
汚泥かき寄せ装置
1か月前
三機工業株式会社
施工管理装置、施工管理方法、及び施工管理プログラム
1か月前
三機工業株式会社
壁吸い込みフィルタユニットのパンチングフェースおよび戸袋の構造
1か月前
三機工業株式会社
セメント構造体内へのスリーブ埋設施工方法及びセメント構造体の製造方法
21日前
三機工業株式会社
高天井倉庫への空調システムの設置方法
12日前
三機工業株式会社
ログデータ分析用のサーバ装置、プログラム、データ分析システム、及びデータ分析方法
1か月前
個人
メジャー文具
1か月前
個人
採尿及び採便具
12日前
日本精機株式会社
検出装置
6日前
個人
計量機能付き容器
1日前
個人
高精度同時多点測定装置
27日前
個人
アクセサリー型テスター
28日前
甲神電機株式会社
電流検出装置
6日前
株式会社ミツトヨ
測定器
18日前
ユニパルス株式会社
ロードセル
1か月前
アズビル株式会社
電磁流量計
21日前
株式会社ヨコオ
ソケット
1か月前
株式会社ヨコオ
ソケット
1か月前
トヨタ自動車株式会社
監視装置
1か月前
株式会社チノー
放射光測温装置
1か月前
ダイキン工業株式会社
監視装置
1か月前
大成建設株式会社
風洞実験装置
1日前
個人
非接触による電磁パルスの測定方法
4日前
個人
システム、装置及び実験方法
21日前
TDK株式会社
ガスセンサ
1か月前
大和製衡株式会社
組合せ計量装置
15日前
続きを見る
他の特許を見る