TOP特許意匠商標
特許ウォッチ Twitter
10個以上の画像は省略されています。
公開番号2025143693
公報種別公開特許公報(A)
公開日2025-10-02
出願番号2024043055
出願日2024-03-19
発明の名称赤外LED素子
出願人ウシオ電機株式会社
代理人弁理士法人ユニアス国際特許事務所
主分類H10H 20/824 20250101AFI20250925BHJP()
要約【課題】従来に比べてより低い駆動電圧により点灯させることができる赤外LED素子を提供する。
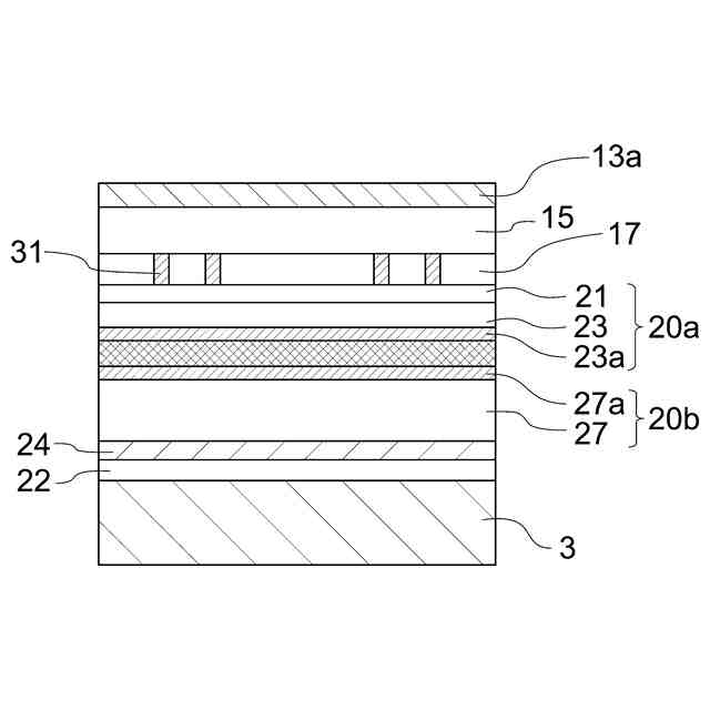
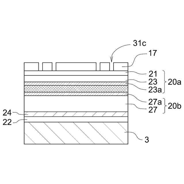
【解決手段】ピーク波長が1350nm~2000nmの赤外光を出射可能な赤外LED素子であって、第一導電型を示す第一半導体層と、厚みが15nm以上である中間層とを有する第一積層体と、第一積層体の中間層の上層に配置された活性層と、少なくとも前記第一導電型とは異なる第二導電型を示す第二半導体層を有する、活性層の上層に配置された第二積層体とを備え、活性層のバンドギャップエネルギーをEa、中間層のバンドギャップエネルギーをEm、第一半導体層のバンドギャップエネルギーをEpとしたときに、Ea<Em<Epである。
【選択図】 図1
特許請求の範囲【請求項1】
ピーク波長が1350nm~2000nmの赤外光を出射可能な赤外LED素子であって、
積層方向に、n型又はp型である第一導電型を示す第一半導体層と、厚みが15nm以上である中間層とを有する第一積層体と、
前記第一積層体の前記中間層の上層に配置された活性層と、
前記第一導電型とは異なる第二導電型を示す第二半導体層を有し、前記活性層の上層に配置された第二積層体とを備え、
前記活性層のバンドギャップエネルギーをE
a
、前記中間層のバンドギャップエネルギーをE
m
、前記第一半導体層のバンドギャップエネルギーをE
p
としたときに、E
a
<E
m
<E
p
であることを特徴とする赤外LED素子。
続きを表示(約 710 文字)【請求項2】
前記活性層は、井戸層、及び障壁層が積層されてなり、前記障壁層のバンドギャップエネルギーをE
b
としたときに、E
a
<E
b
<E
m
であることを特徴とする請求項1に記載の赤外LED素子。
【請求項3】
前記中間層は、ドーパント濃度が2×10
18
/cm
3
以下の半導体層であることを特徴とする請求項1又は2に記載の赤外LED素子。
【請求項4】
前記活性層は、厚みが30nm以上であることを特徴とする請求項1又は2に記載の赤外LED素子。
【請求項5】
前記第一半導体層がInPからなることを特徴とする請求項1又は2に記載の赤外LED素子。
【請求項6】
前記活性層がGaInAsPからなることを特徴とする請求項1又は2に記載の赤外LED素子。
【請求項7】
前記第一積層体は、前記第一半導体層の上層に配置されたAlInAsからなる電子ブロック層を有することを特徴とする請求項1又は2に記載の赤外LED素子。
【請求項8】
前記活性層のバンドギャップエネルギーをE
a
と、前記第一半導体層のバンドギャップエネルギーをE
p
との差を100%としたときに、前記活性層のバンドギャップエネルギーをE
a
と、前記中間層のバンドギャップエネルギーE
m
との差が30%~60%の範囲内であることを特徴とする請求項1又は2に記載の赤外LED素子。

発明の詳細な説明【技術分野】
【0001】
本発明は、赤外LED素子に関し、特に発光波長が1350nm以上の赤外LED素子に関する。
続きを表示(約 1,200 文字)【背景技術】
【0002】
近年、波長1000nm以上の赤外領域を発光波長とする半導体発光素子は、防犯・監視カメラ、ガス検知器、医療用のセンサや産業機器等の用途で幅広く用いられている。
【0003】
発光波長が1000nm以上の半導体発光素子は、一般的に以下の手順で製造される。成長基板としてのInP基板上に、第一導電型の半導体層、活性層(「発光層」と称されることもある。)、及び第二導電型の半導体層を順次エピタキシャル成長させた後、半導体ウェハ上に電流注入のための電極が形成される。その後、チップ状に切断される。
【0004】
例えば、下記特許文献1において開示されているような、活性層とInPからなるクラッド層とを備えた赤外LED素子が知られている。このような構造は、1000nm以上の発光を実現するために比較的簡単な構成である。
【先行技術文献】
【特許文献】
【0005】
特許第6617218号公報
【発明の概要】
【発明が解決しようとする課題】
【0006】
本発明者は、発光波長が1000nm以上であるLED素子の発光効率の向上について鋭意検討していたところ、以下のような課題が存在することに気が付いた。
【0007】
本発明者は、発光波長が1000nm以上であるLED素子について、LED素子を点灯させるために必要な駆動電圧(以下、「順方向電圧」という場合がある。)について確認した。そして、本発明者らは、LED素子を点灯させるために必要な駆動電圧は、発光波長が長波長になるほど、理論的な駆動電圧よりも高くなる傾向があることに気が付いた。ここで、理論的な順方向電圧とは、エネルギーEと、波長λの関係(E(eV)=hc/λ=1240/λ)に基づいて導出される駆動電圧である。詳細は、「発明を実施するための形態」の項目において後述される。
【0008】
駆動電圧の上昇は、LED素子における発熱の要因ともなり得る。そして、LED素子は、点灯時の温度に応じて発光効率が低下してしまうという特性がある。このため、駆動電圧の上昇を抑制することが極めて重要である。
【0009】
そこで、本発明者は、上記課題を見出した上で、LED素子を点灯させるために必要な駆動電圧が、理論的な駆動電圧とは異なる要因について鋭意検討した。さらに、本発明者は、当該要因を対策することで、従来に比べて理論的な駆動電圧に近い、すなわち、より低い駆動電圧で点灯するLED素子を実現することについて鋭意検討した。
【0010】
本発明は、上記課題に鑑み、従来に比べてより低い駆動電圧により点灯させることができる赤外LED素子を提供することを目的とする。
【課題を解決するための手段】
(【0011】以降は省略されています)

この特許をJ-PlatPat(特許庁公式サイト)で参照する

関連特許

ウシオ電機株式会社
光源装置
15日前
ウシオ電機株式会社
紫外光照射装置
15日前
ウシオ電機株式会社
赤外LED素子
16日前
ウシオ電機株式会社
半導体レーザ素子
10日前
ウシオ電機株式会社
光源装置及び回転体
15日前
ウシオ電機株式会社
マイクロ流体デバイス
11日前
ウシオ電機株式会社
半導体レーザ素子および発光装置
15日前
国立大学法人 東京大学
ガス処理方法
15日前
ウシオ電機株式会社
分布帰還型半導体レーザおよびその製造方法
19日前
ウシオ電機株式会社
細胞培養デバイス、細胞培養デバイスの使用方法
8日前
個人
半導体装置
10日前
東レ株式会社
太陽電池モジュール
10日前
エイブリック株式会社
縦型ホール素子
4日前
エイブリック株式会社
縦型ホール素子
4日前
富士通株式会社
半導体装置
9日前
ローム株式会社
半導体装置
11日前
株式会社半導体エネルギー研究所
表示装置
4日前
富士電機株式会社
半導体装置
1日前
三菱電機株式会社
半導体装置
9日前
TDK株式会社
圧電素子
9日前
日亜化学工業株式会社
発光素子
9日前
日亜化学工業株式会社
発光装置
8日前
ローム株式会社
窒化物半導体装置
4日前
富士電機株式会社
半導体装置の製造方法
3日前
沖電気工業株式会社
発光装置及び表示装置
10日前
キオクシア株式会社
記憶装置
15日前
株式会社カネカ
太陽電池モジュール
8日前
株式会社MARUWA
発光装置及び照明器具
8日前
日本電気株式会社
超伝導量子回路装置
9日前
サンケン電気株式会社
発光装置
8日前
ローム株式会社
光センサ
2日前
ローム株式会社
RAM
8日前
一般財団法人電力中央研究所
熱化学電池
10日前
住友化学株式会社
発光素子
4日前
TDK株式会社
圧電アクチュエータ
11日前
住友化学株式会社
発光素子
4日前
続きを見る