TOP
|
特許
|
意匠
|
商標
特許ウォッチ
Twitter
他の特許を見る
10個以上の画像は省略されています。
公開番号
2025147594
公報種別
公開特許公報(A)
公開日
2025-10-07
出願番号
2024047920
出願日
2024-03-25
発明の名称
マイクロ流体デバイス
出願人
ウシオ電機株式会社
代理人
弁理士法人ユニアス国際特許事務所
主分類
C12M
3/00 20060101AFI20250930BHJP(生化学;ビール;酒精;ぶどう酒;酢;微生物学;酵素学;突然変異または遺伝子工学)
要約
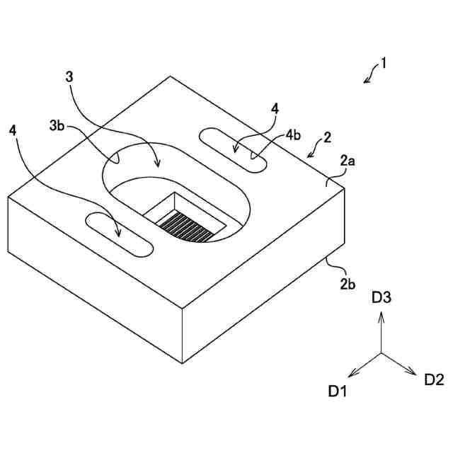
【課題】肝細胞を均一に且つ高密度で培養すると共に、排泄された胆汁を効率よく回収することができるマイクロ流体デバイスを提供する。
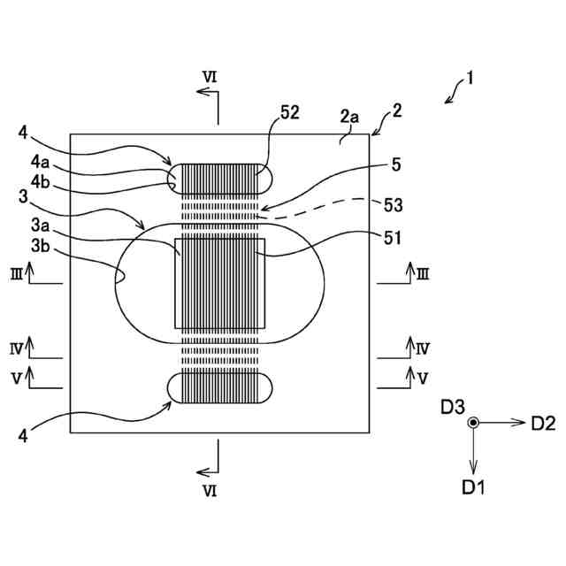
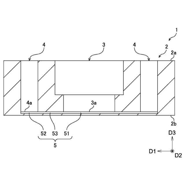
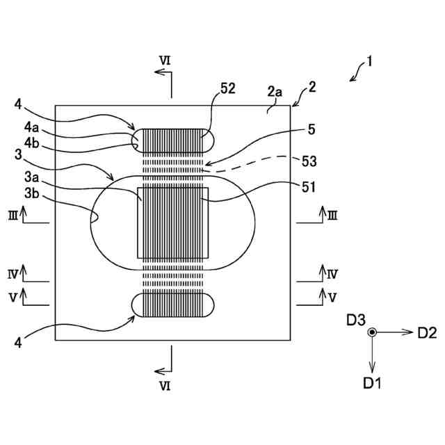
【解決手段】マイクロ流体デバイス1は、上面2a及び下面2bを有するデバイス本体2と、デバイス本体2の上面2aに平行な第1横方向D1に離間した位置においてデバイス本体2の上面2aにて開口する、細胞を培養するための第1凹部3及び流体を供給又は排出するための第2凹部4と、第1凹部3の底面3aと第2凹部4の底面4aとを連通するマイクロ流路5と、を備え、マイクロ流路5は、少なくとも第1凹部3の底面3aにおいて、第1横方向D1と直交する第2横方向D2に並べて形成された複数の第1溝51を備える。
【選択図】図2
特許請求の範囲
【請求項1】
上面及び下面を有するデバイス本体と、
前記デバイス本体の上面に平行な第1横方向に離間した位置において前記デバイス本体の上面にて開口する、細胞を培養するための第1凹部及び流体を供給又は排出するための第2凹部と、
前記第1凹部の底面と前記第2凹部の底面とを連通するマイクロ流路と、を備え、
前記マイクロ流路は、少なくとも前記第1凹部の底面において、第1横方向と直交する第2横方向に並べて形成された複数の第1溝を備える、マイクロ流体デバイス。
続きを表示(約 690 文字)
【請求項2】
前記マイクロ流路は、前記第1凹部と前記第2凹部の間に、第2横方向に並べて形成され、複数の前記第1溝の第1横方向の端部にそれぞれ接続される複数の孔を備える、請求項1に記載のマイクロ流体デバイス。
【請求項3】
前記マイクロ流路は、前記第2凹部の底面において、第2横方向に並べて形成された複数の第2溝を備え、
複数の前記第2溝は、複数の前記孔の第1横方向の端部にそれぞれ接続される、請求項2に記載のマイクロ流体デバイス。
【請求項4】
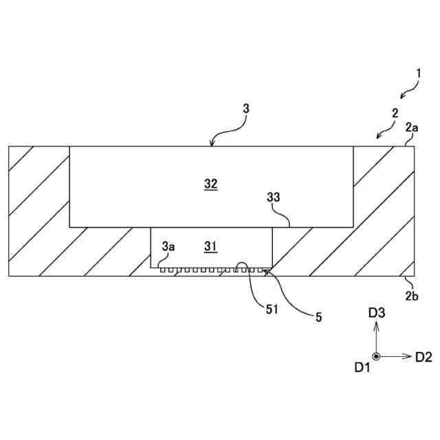
前記第1凹部は、底面から上方へ延びる下部空間と、前記下部空間の上端で前記下部空間よりも断面積を拡大する段差部と、前記下部空間の上側に隣接し、前記段差部によって断面積が拡大された上部空間と、を備える、請求項1又は2に記載のマイクロ流体デバイス。
【請求項5】
前記第1凹部及び前記第2凹部は、第2横方向に沿って複数設けられ、
隣り合う前記下部空間同士は独立し、隣り合う前記上部空間同士は連通する、請求項4に記載のマイクロ流体デバイス。
【請求項6】
前記第1凹部は、第1横方向に沿って互いに独立して複数設けられる、請求項1又は2に記載のマイクロ流体デバイス。
【請求項7】
前記第2凹部は、前記第1凹部を第1横方向に挟むように複数設けられる、請求項1又は2に記載のマイクロ流体デバイス。
【請求項8】
複数の前記第1溝は、前記第1凹部の底面の全体に形成されている、請求項1又は2に記載のマイクロ流体デバイス。
発明の詳細な説明
【技術分野】
【0001】
本発明は、マイクロ流体デバイスに関する。
続きを表示(約 1,500 文字)
【背景技術】
【0002】
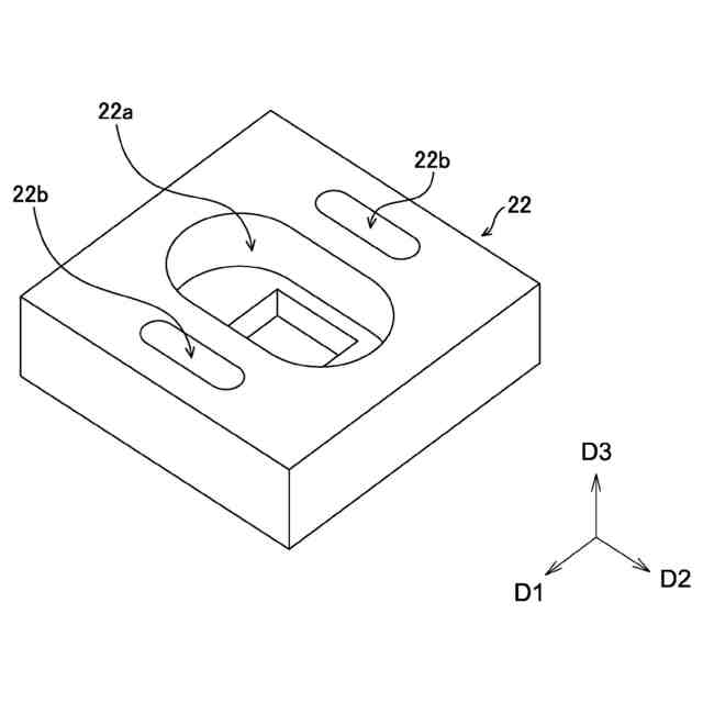
肝細胞を培養し、肝細胞から排泄される胆汁を回収して分析するために、マイクロ流路を配置したマイクロ流体デバイスを用いることが提案されている。例えば、下記特許文献1及び2では、管状のマイクロ流路の底面に櫛状の凹凸部分を有する肝細胞を培養する領域があり、マイクロ流路に培地の導入又は排出が可能なウェルが接続されて、前記凹凸部分が胆汁を回収する回収ポートまで延伸している胆汁回収チップが開示されている。
【先行技術文献】
【特許文献】
【0003】
特開2023-20221号公報
国際公開第2022/118885号
【発明の概要】
【発明が解決しようとする課題】
【0004】
しかしながら、肝細胞を管状のマイクロ流路内の凹凸部分上で均一に高密度で培養することは難しかった。これは、マイクロ流路を用いると、培地の量が制限されるため、細胞の密度が高い培養液を用いる必要があったが、細胞が高密度な液体をマイクロ流路に入れようとしても流体抵抗が高くなり注入が困難であったり、注入の過程で細胞の分散が不均一になり、播種後の細胞分布にバラツキが生じたりするためである。また、細胞を培養する箇所は凹凸部分に限りたいが、マイクロ流路全体に細胞が播種され、凹凸部分以外の細胞を除去する必要があった。さらに、除去した細胞は破棄することとなるため、高価な細胞が培養対象の場合にはコスト高となる。
【0005】
本発明は、上記の課題に鑑み、肝細胞を均一に且つ高密度で培養すると共に、排泄された胆汁を効率よく回収することができるマイクロ流体デバイスを提供することを目的とする。
【課題を解決するための手段】
【0006】
本発明に係るマイクロ流体デバイスは、上面及び下面を有するデバイス本体と、
前記デバイス本体の上面に平行な第1横方向に離間した位置において前記デバイス本体の上面にて開口する、細胞を培養するための第1凹部及び流体を供給又は排出するための第2凹部と、
前記第1凹部の底面と前記第2凹部の底面とを連通するマイクロ流路と、を備え、
前記マイクロ流路は、少なくとも前記第1凹部の底面において、第1横方向と直交する第2横方向に並べて形成された複数の第1溝を備えるものである。
【0007】
この構成によれば、細胞を培養するための第1凹部の底面に、マイクロ流路の一部である第1溝が形成されているため、肝細胞をマイクロ流路上に確実に播種することができ、肝細胞をマイクロ流路上で均一に且つ高密度で培養することができる。また、肝細胞から排泄された胆汁は、第1溝に流れ込むため、排泄された胆汁をマイクロ流路を介して第2凹部から排出して効率よく回収することができる。
【0008】
また、本発明に係るマイクロ流体デバイスにおいて、前記マイクロ流路は、前記第1凹部と前記第2凹部の間に、第2横方向に並べて形成され、複数の前記第1溝の第1横方向の端部にそれぞれ接続される複数の孔を備える、という構成でもよい。
【0009】
この構成によれば、第1溝に流れ込んだ胆汁を孔を介して第2凹部に適切に導くことができる。
【0010】
また、本発明に係るマイクロ流体デバイスにおいて、前記マイクロ流路は、前記第2凹部の底面において、第2横方向に並べて形成された複数の第2溝を備え、
複数の前記第2溝は、複数の前記孔の第1横方向の端部にそれぞれ接続される、という構成でもよい。
(【0011】以降は省略されています)
この特許をJ-PlatPat(特許庁公式サイト)で参照する
関連特許
ウシオ電機株式会社
半導体レーザ素子
今日
ウシオ電機株式会社
処理方法、処理装置及び処理システム
今日
ウシオ電機株式会社
空気清浄装置および空気清浄システム
21日前
ウシオ電機株式会社
二酸化炭素吸収材、及び二酸化炭素の回収方法
今日
ウシオ電機株式会社
紫外線治療装置および紫外線治療装置の動作方法
今日
ウシオ電機株式会社
ガス分解方法、ガス分解装置及びガス分解システム
9日前
個人
抗遺伝子劣化装置
3か月前
個人
細胞内探査とその利用
3か月前
雪国アグリ株式会社
単糖類の製造方法
1か月前
三洋化成工業株式会社
細胞培養用担体
今日
日油株式会社
蛋白質安定化剤
4か月前
株式会社タクマ
バイオマス処理装置
3か月前
株式会社タクマ
バイオマス処理装置
3か月前
株式会社東洋新薬
経口組成物
3か月前
テルモ株式会社
吐出デバイス
2か月前
宝酒造株式会社
アルコール飲料
2か月前
島根県
油吸着材とその製造方法
1か月前
テルモ株式会社
容器蓋デバイス
2か月前
東ソー株式会社
pH応答性マイクロキャリア
2か月前
大陽日酸株式会社
培養装置
3か月前
大陽日酸株式会社
培養装置
3か月前
トヨタ自動車株式会社
バイオ燃料製造方法
2か月前
株式会社ファンケル
SEC12タンパク発現促進剤
4か月前
月桂冠株式会社
低プリン体清酒
1か月前
株式会社豊田中央研究所
細胞励起装置
1か月前
個人
有機フッ素化合物を分解する廃液処理法
1か月前
テルモ株式会社
採取組織細切補助デバイス
2か月前
株式会社カクサスバイオ
新規免疫抑制方法
16日前
株式会社シャローム
スフィンゴミエリン製造方法
2か月前
横河電機株式会社
藻類培養装置
2か月前
株式会社村田製作所
濾過装置および濾過方法
1か月前
新東工業株式会社
培養システム
1か月前
株式会社今宮
瓶詰ビールの加熱殺菌方法および装置
2か月前
東ソー株式会社
免疫グロブリン結合性タンパク質の製造方法
21日前
住友金属鉱山株式会社
連続発酵方法及び連続発酵装置
2か月前
公立大学法人北九州市立大学
微生物の検知方法
3か月前
続きを見る
他の特許を見る