TOP
|
特許
|
意匠
|
商標
特許ウォッチ
Twitter
他の特許を見る
公開番号
2025147624
公報種別
公開特許公報(A)
公開日
2025-10-07
出願番号
2024047966
出願日
2024-03-25
発明の名称
圧電アクチュエータ
出願人
TDK株式会社
代理人
個人
,
個人
,
個人
主分類
H10N
30/20 20230101AFI20250930BHJP()
要約
【課題】低電圧で十分な変位量を確保できる圧電アクチュエータを提供する。
【解決手段】圧電アクチュエータ1は、板状の圧電素子2及び圧電素子2に接合された振動板3を含む圧電部4を備え、圧電部4は、圧電素子2への駆動電圧が非印加の状態において、圧電素子2側が凹となるように反っている。圧電部が予め凹状に反っていることで、駆動電圧を印加した場合に圧電部が更に凹状に反り易くなる。したがって、この圧電アクチュエータでは、低電圧で十分な変位量を確保できる。
【選択図】図3
特許請求の範囲
【請求項1】
板状の圧電素子及び前記圧電素子に接合された振動板を含んで構成される圧電部を備え、
前記圧電部は、前記圧電素子への駆動電圧が非印加の状態において、前記圧電素子側が凹となるように反っている、圧電アクチュエータ。
続きを表示(約 410 文字)
【請求項2】
前記圧電素子への駆動電圧が非印加の状態において、前記圧電部の反り量は、前記振動板の厚さよりも大きくなっている、請求項1記載の圧電アクチュエータ。
【請求項3】
前記圧電素子に駆動電圧が印加された場合の前記圧電部の反り量は、前記圧電素子への駆動電圧が非印加の状態における前記圧電部の反り量よりも大きくなる、請求項1記載の圧電アクチュエータ。
【請求項4】
前記圧電部は、長手方向の寸法が異なる複数の圧電素子を前記寸法が大きい順に前記振動板に積層することによって構成されている、請求項1記載の圧電アクチュエータ。
【請求項5】
前記圧電素子の両面には、金属メッキ膜による電極が設けられている、請求項1記載の圧電アクチュエータ。
【請求項6】
前記電極は、前記圧電素子の輪郭よりも内側の領域に配置されている、請求項5記載の圧電アクチュエータ。
発明の詳細な説明
【技術分野】
【0001】
本開示は、圧電アクチュエータに関する。
続きを表示(約 1,200 文字)
【背景技術】
【0002】
圧電素子は、逆電圧効果によって変形する特性を有し、電気信号を物理的な変形に変換する圧電アクチュエータとして利用されている(例えば特許文献1参照)。圧電アクチュエータの利用先としては、例えば圧電弁が挙げられる。圧電弁は、例えば工場などで用いられる圧縮空気の配管に取り付けられ、当該配管内の圧力を一定に保つ機能を有している。
【先行技術文献】
【特許文献】
【0003】
特開2018-133372号公報
【発明の概要】
【発明が解決しようとする課題】
【0004】
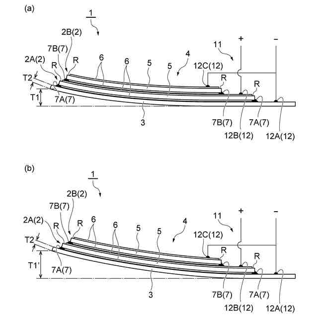
圧電弁などに利用される圧電アクチュエータは、ベンディング素子とも称され、板状の圧電素子に振動板を取り付けた状態で所定の駆動電圧を印加することで、圧電素子及び振動板が凸状或いは凹状に変形するようになっている。しかしながら、従来の圧電アクチュエータでは、凸状及び凹状の変形がバランス良く生じるように設計されており、特定の方向に大きく変形させる場合には、高い駆動電圧を印加する必要があった。
【0005】
本開示は、上記課題の解決のためになされたものであり、低電圧で十分な変位量を確保できる圧電アクチュエータを提供することを目的とする。
【課題を解決するための手段】
【0006】
本開示の要旨は、以下に示すとおりである。
【0007】
[1]板状の圧電素子及び前記圧電素子に接合された振動板を含んで構成される圧電部を備え、前記圧電部は、前記圧電素子への駆動電圧が非印加の状態において、前記圧電素子側が凹となるように反っている、圧電アクチュエータ。
【0008】
この圧電アクチュエータでは、圧電素子への駆動電圧が非印加の状態において、圧電素子側が凹となるように圧電部が反っている。圧電部が予め凹状に反っていることで、駆動電圧を印加した場合に圧電部が更に凹状に反り易くなる。したがって、この圧電アクチュエータでは、低電圧で十分な変位量を確保できる。
【0009】
[2]前記圧電素子への駆動電圧が非印加の状態において、前記圧電部の反り量は、前記振動板の厚さよりも大きくなっている、[1]記載の圧電アクチュエータ。圧電素子への駆動電圧が非印加の状態において、圧電部に十分な反り量を付加しておくことで、低電圧でより大きな変位量を確保できる。
【0010】
[3]前記圧電素子に駆動電圧が印加された場合の前記圧電部の反り量は、前記圧電素子への駆動電圧が非印加の状態における前記圧電部の反り量よりも大きくなる、[1]又は[2]記載の圧電アクチュエータ。圧電素子に駆動電圧が印加された場合の圧電部の反りの方向を、圧電素子への駆動電圧が非印加の状態での圧電部の反りの方向と一致させることで、低電圧でより大きな変位量を確保できる。
(【0011】以降は省略されています)
この特許をJ-PlatPat(特許庁公式サイト)で参照する
関連特許
TDK株式会社
センサ
2か月前
TDK株式会社
フィルタ
2か月前
TDK株式会社
圧電素子
2か月前
TDK株式会社
電子部品
2か月前
TDK株式会社
電子部品
5日前
TDK株式会社
電子部品
1か月前
TDK株式会社
電子部品
1か月前
TDK株式会社
フィルタ
2か月前
TDK株式会社
電子部品
2か月前
TDK株式会社
電子部品
1か月前
TDK株式会社
電子部品
2か月前
TDK株式会社
電子部品
2か月前
TDK株式会社
電子部品
18日前
TDK株式会社
接合構造
10日前
TDK株式会社
電子部品
2か月前
TDK株式会社
電子部品
2か月前
TDK株式会社
コイル部品
2か月前
TDK株式会社
磁気センサ
2か月前
TDK株式会社
コイル装置
1か月前
TDK株式会社
コイル装置
1か月前
TDK株式会社
コイル装置
1か月前
TDK株式会社
コイル部品
2か月前
TDK株式会社
コイル部品
1か月前
TDK株式会社
コイル部品
2か月前
TDK株式会社
コイル部品
2か月前
TDK株式会社
ガスセンサ
2か月前
TDK株式会社
ガスセンサ
2か月前
TDK株式会社
コイル部品
2か月前
TDK株式会社
センサ装置
2か月前
TDK株式会社
ガスセンサ
2か月前
TDK株式会社
熱処理容器
1か月前
TDK株式会社
コイル部品
1か月前
TDK株式会社
コイル部品
2か月前
TDK株式会社
コイル部品
2か月前
TDK株式会社
コイル装置
2か月前
TDK株式会社
コイル部品
2か月前
続きを見る
他の特許を見る