TOP
|
特許
|
意匠
|
商標
特許ウォッチ
Twitter
他の特許を見る
10個以上の画像は省略されています。
公開番号
2025145018
公報種別
公開特許公報(A)
公開日
2025-10-03
出願番号
2024044982
出願日
2024-03-21
発明の名称
光源装置
出願人
ウシオ電機株式会社
代理人
弁理士法人ユニアス国際特許事務所
主分類
H10H
20/858 20250101AFI20250926BHJP()
要約
【課題】複数のLED素子の温度のバラつきを抑制できる光源装置を提供する。
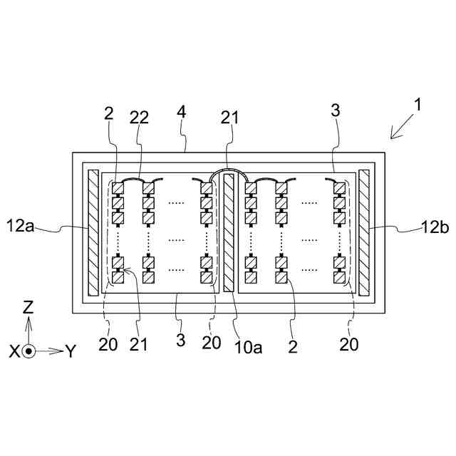
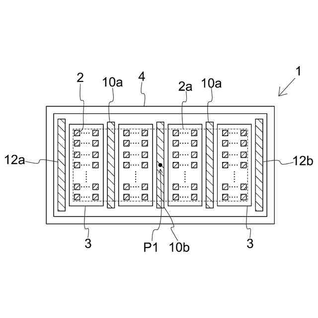
【解決手段】光源装置は、基板上に載置された複数のLED素子と、前記基板の主面に直交する第一方向に前記基板から離間して配置され、前記複数のLED素子が発する光を外部に出射する光出射窓と、前記光出射窓を含み、前記複数のLED素子を収容する筐体と、前記筐体を貫通して形成され、前記筐体内に、前記複数のLED素子と接触して前記複数のLED素子を冷却する液体を導入、又は排出する複数の通流口と、を備え、前記複数の通流口は、前記第一方向に直交する第二方向に関して前記複数のLED素子が載置された載置領域を互いに挟む位置に形成された少なくとも一対の通流口と、前記第一方向から見た時に、前記第二方向に関して前記一対の通流口に挟まれ、少なくとも一部が前記載置領域と重なる位置に形成された通流口を含む。
【選択図】 図1
特許請求の範囲
【請求項1】
基板上に載置された複数のLED素子と、
前記基板の主面に直交する第一方向に前記基板から離間して配置され、前記複数のLED素子が発する光を外部に出射する光出射窓と、
前記光出射窓を含み、前記複数のLED素子を収容する筐体と、
前記筐体を貫通して形成され、前記筐体内に、前記複数のLED素子と接触して前記複数のLED素子を冷却する液体を導入、又は排出する複数の通流口と、を備え、
前記複数の通流口は、
前記第一方向に直交する第二方向に関して前記複数のLED素子が載置された載置領域を互いに挟む位置に形成された少なくとも一対の通流口と、
前記第一方向から見た時に、前記第二方向に関して前記一対の通流口に挟まれ、少なくとも一部が前記載置領域と重なる位置に形成された通流口を含むことを特徴とする、光源装置。
続きを表示(約 810 文字)
【請求項2】
前記複数のLED素子及び前記複数の通流口は、前記載置領域の中心を基準に、前記第二方向に関して対称であることを特徴とする、請求項1に記載の光源装置。
【請求項3】
前記複数のLED素子は、前記第二方向に関してワイヤで互いに接続されたことを特徴とする、請求項1又は2に記載の光源装置。
【請求項4】
前記複数の通流口は、前記第一方向及び前記第二方向に直交する第三方向に延伸する形状を呈することを特徴とする、請求項1又は2に記載の光源装置。
【請求項5】
前記筐体内に導入される前記液体を吐出する吐出口と、前記筐体から排出された前記液体を回収する回収口と、を有する液体供給部を備え、
前記複数の通流口は、前記吐出口に接続された第一通流口の前記液体の通流方向に関する断面積と、前記回収口に接続された第二通流口の前記液体の通流方向に関する断面積とが等しいことを特徴とする、請求項1又は2に記載の光源装置。
【請求項6】
前記筐体内に導入される前記液体を吐出する吐出口と、前記筐体から排出された前記液体を回収する回収口と、を有する液体供給部を備え、
前記複数の通流口は、前記吐出口に接続された複数の第一通流口、及び前記回収口に接続された複数の第二通流口を含み、
前記載置領域の中心から最も遠い前記第一通流口は、他の前記第一通流口よりも前記液体の通流方向に関する断面積が最も大きく、
前記載置領域の中心から最も遠い前記第二通流口は、他の前記第二通流口よりも前記液体の通流方向に関する断面積が最も大きいことを特徴とする、請求項1又は2に記載の光源装置。
【請求項7】
前記第一方向に関して、前記基板と前記光出射窓との離間距離は10mm以下であることを特徴とする、請求項1又は2に記載の光源装置。
発明の詳細な説明
【技術分野】
【0001】
本発明は、光源装置に関し、特に処理対象物に向かって加熱用の光(以下、便宜上「加熱光」という。)を発する光源装置に関する。
続きを表示(約 1,200 文字)
【背景技術】
【0002】
半導体製造プロセスでは、半導体ウェハ等の処理対象物に対して、成膜処理、酸化拡散処理、改質処理、又はアニール処理といった様々な処理が実行される。これらの処理では、非接触での処理が可能という理由で、処理対象物に対して加熱光を照射する加熱方法が多く採用されている。
【0003】
当該加熱方法においては、処理対象物全体が均一に処理されるように、処理対象物の表面(特に主面)全体にわたってなるべく均一に加熱光が照射されることが期待されている。
【0004】
また、近年、処理対象物の高速昇温が可能であるという理由で、加熱光の光源としてLight Emitting Diode(LED)素子が採用されつつある。その際、処理対象物に対して処理に必要な加熱光を照射するために、光源装置には複数のLED素子が搭載される。
【0005】
ところで、LED素子は、温度上昇に伴って発光効率が低下することが知られている。このため、光源装置においてLED素子を冷却することは、重要な課題の一つとして存在する。例えば、下記特許文献1では、複数のLED素子に対して流体を接触させ、各LED素子と流体との間で熱交換を行うことで、複数のLED素子を冷却する構造が開示されている。
【先行技術文献】
【特許文献】
【0006】
米国特許出願公開第2015/0060932号明細書
【発明の概要】
【発明が解決しようとする課題】
【0007】
特許文献1では、複数のLED素子が収容された空間に対して、シリコーンオイル等の液体を通流させることで、当該液体とLED素子とを接触させ、それぞれのLED素子を冷却する。特許文献1に開示された構成では、当該空間に対して液体を導入する導入口と、当該空間から液体を排出する排出口は、LED素子を互いに挟む位置に形成される。
【0008】
この場合、液体は、上流側に位置するLED素子と接触した後、下流側に位置するLED素子に接触するため、液体の温度は、上流側よりも下流側の方が高くなる。この結果、上流側に位置するLED素子と比較して、下流側に位置するLED素子を十分に冷却することができず、各LED素子の温度のバラつきが大きくなってしまう。
【0009】
LED素子の温度のバラつきが大きくなると、それぞれのLED素子の発光効率は異なるものとなる。この結果、上流側と下流側とで各LED素子が発する加熱光の照度に差が生じ、処理対象物の全体に対して加熱光を均一に照射することが困難になる。
【0010】
また、下流側に位置するLED素子を十分に冷却できないことで、上流側に位置するLED素子に対して、下流側のLED素子が早期に劣化してしまうことが想定される。これにより、それぞれのLED素子が発する加熱光の照度に差が生じやすくなる。
(【0011】以降は省略されています)
この特許をJ-PlatPat(特許庁公式サイト)で参照する
関連特許
ウシオ電機株式会社
半導体レーザ素子
今日
ウシオ電機株式会社
処理方法、処理装置及び処理システム
今日
ウシオ電機株式会社
二酸化炭素吸収材、及び二酸化炭素の回収方法
今日
ウシオ電機株式会社
紫外線治療装置および紫外線治療装置の動作方法
今日
ウシオ電機株式会社
ガス分解方法、ガス分解装置及びガス分解システム
9日前
個人
半導体装置
1か月前
個人
積和演算用集積回路
22日前
サンケン電気株式会社
半導体装置
21日前
旭化成株式会社
発光素子
1か月前
エイブリック株式会社
縦型ホール素子
1か月前
エイブリック株式会社
縦型ホール素子
1か月前
日機装株式会社
半導体発光装置
16日前
ローム株式会社
抵抗チップ
1か月前
ローム株式会社
半導体装置
今日
富士通株式会社
半導体装置
1か月前
株式会社半導体エネルギー研究所
表示装置
1か月前
三菱電機株式会社
半導体装置
1か月前
株式会社半導体エネルギー研究所
表示装置
今日
三菱電機株式会社
半導体装置
8日前
株式会社東芝
半導体装置
8日前
富士電機株式会社
半導体装置
1か月前
三菱電機株式会社
半導体装置
1か月前
日亜化学工業株式会社
発光装置
1か月前
日亜化学工業株式会社
発光装置
1か月前
ローム株式会社
半導体集積回路
1か月前
日亜化学工業株式会社
発光素子
1か月前
TDK株式会社
圧電素子
1か月前
株式会社半導体エネルギー研究所
発光デバイス
29日前
富士電機株式会社
半導体装置の製造方法
1か月前
ローム株式会社
窒化物半導体装置
1か月前
ローム株式会社
半導体装置
21日前
ローム株式会社
窒化物半導体装置
1か月前
ローム株式会社
半導体装置
1か月前
サンケン電気株式会社
半導体装置
8日前
株式会社半導体エネルギー研究所
発光デバイス
16日前
ローム株式会社
半導体装置
1か月前
続きを見る
他の特許を見る