TOP
|
特許
|
意匠
|
商標
特許ウォッチ
Twitter
他の特許を見る
10個以上の画像は省略されています。
公開番号
2025142458
公報種別
公開特許公報(A)
公開日
2025-10-01
出願番号
2024041815
出願日
2024-03-18
発明の名称
フロー型イオン選択性電極の製造方法及びフロー型イオン選択性電極
出願人
株式会社日立ハイテク
代理人
弁理士法人平木国際特許事務所
主分類
G01N
27/333 20060101AFI20250924BHJP(測定;試験)
要約
【課題】フロー型イオン選択性電極の製造において熱硬化性樹脂型のイオン感応膜を形成する際に簡便に膜厚制御が可能な技術を提供する。
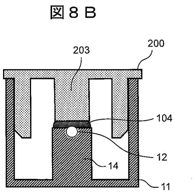
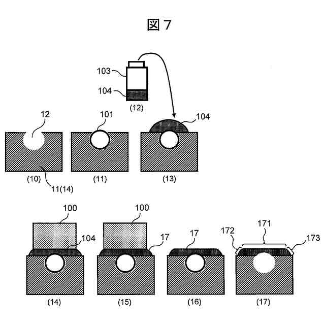
【解決手段】本開示は、電極筐体(11)を貫通する流路(12)を有するフロー型イオン選択性電極の製造方法であって、流路(12)に流路保護治具(101)を挿入することと、流路保護治具(101)の一部を含む電極筐体(11)の膜形成部(14)と、膜厚制御治具(100)との隙間に熱硬化性樹脂液(104)を保持することと、熱硬化性樹脂液(104)を隙間に保持した状態で硬化させることでイオン感応膜(17)を形成することと、硬化後に膜厚制御治具(100)及び流路保護治具(101)を取り外すことと、を含むことを特徴とする。
【選択図】図7
特許請求の範囲
【請求項1】
電極筐体を貫通する流路を有するフロー型イオン選択性電極の製造方法であって、
前記流路に流路保護治具を挿入することと、
前記流路保護治具の一部を含む前記電極筐体の膜形成部と、膜厚制御治具との隙間に熱硬化性樹脂液を保持することと、
前記熱硬化性樹脂液を前記隙間に保持した状態で硬化させることでイオン感応膜を形成することと、
硬化後に前記膜厚制御治具及び前記流路保護治具を取り外すことと、を含む、フロー型イオン選択性電極の製造方法。
続きを表示(約 1,000 文字)
【請求項2】
前記熱硬化性樹脂液が、エポキシ基を有する主剤とアミノ基を有する硬化剤とを含む材料であることを特徴とする請求項1に記載のフロー型イオン選択性電極の製造方法。
【請求項3】
前記流路保護治具及び前記膜厚制御治具の前記熱硬化性樹脂液と接する表面が、前記熱硬化性樹脂液に対して非接着性の材料であることを特徴とする請求項1に記載のフロー型イオン選択性電極の製造方法。
【請求項4】
前記非接着性の材料がフッ素系樹脂又はシリコーン系樹脂であることを特徴とする請求項3に記載のフロー型イオン選択性電極の製造方法。
【請求項5】
前記膜厚制御治具が、前記電極筐体の前記膜形成部に対する位置決め部材を有することを特徴とする請求項1に記載のフロー型イオン選択性電極の製造方法。
【請求項6】
前記流路保護治具と前記膜厚制御治具との最も狭い隙間が0.05mm以上1mm以下であることを特徴とする請求項1に記載のフロー型イオン選択性電極の製造方法。
【請求項7】
前記電極筐体の前記膜形成部の幅より前記膜厚制御治具の幅が小さいことを特徴とする請求項1に記載のフロー型イオン選択性電極の製造方法。
【請求項8】
前記流路保護治具の外径が、前記電極筐体の前記流路の内径に対して1%~10%小さいことを特徴とする請求項1に記載のフロー型イオン選択性電極の製造方法。
【請求項9】
前記電極筐体の前記膜形成部と前記膜厚制御治具との前記隙間に前記熱硬化性樹脂液を保持することは、
前記電極筐体の前記膜形成部もしくは前記膜厚制御治具のいずれかの表面上に、前記熱硬化性樹脂液を設定膜厚より厚く塗布することと、
塗布された前記熱硬化性樹脂液の厚さが前記設定膜厚より厚い状態を保っている時間内に、前記膜形成部と、前記膜厚制御治具とを接近させることと、を含むことを特徴とする請求項1に記載のフロー型イオン選択性電極の製造方法。
【請求項10】
前記膜形成部と、前記膜厚制御治具とを接近させる際の相対速度が、少なくとも前記熱硬化性樹脂液が前記膜形成部又は前記膜厚制御治具と接触する瞬間において5mm/s未満であることを特徴とする請求項9に記載のフロー型イオン選択性電極の製造方法。
(【請求項11】以降は省略されています)
発明の詳細な説明
【技術分野】
【0001】
本開示は、フロー型イオン選択性電極の製造方法及びフロー型イオン選択性電極に関する。
続きを表示(約 2,200 文字)
【背景技術】
【0002】
イオン選択性電極を用いた電位差測定(ポテンショメトリック)法は、液中の特定のイオン濃度を素早く簡便に定量できるため、水質分析や医療分野などの広い分野で使用されている。特に、医療分野では、生体の代謝反応とイオン濃度が密接な関係があり、血清や尿などの生体試料中に含まれる特定のイオンを定量することで、高血圧症状や腎疾患、神経障害などの診断に使用されている。臨床検査において多数の検体を連続して分析する必要があるため、イオン選択性電極を搭載した高スループットの自動分析装置や電解質濃度測定装置が日常的に使用されている。
【0003】
電解質濃度測定装置の測定項目として、主にナトリウムイオン、カリウムイオンなどの陽イオンと、塩素イオンなどの陰イオンがある。陽イオンに関しては、クラウンエーテルやバリノマイシンなどの、特定の陽イオンを選択的に補足する化合物(イオノフォア)が見出されている。そのため、ナトリウムやカリウムなどの陽イオン選択性電極のイオン感応膜には一般的にこれらのイオノフォアを含む膜が使用されており、高いイオン選択性を有している。一方で、陰イオンに関しては、高スループットの速い応答性と長期安定性が求められる自動分析装置のイオン選択性電極に適したイオノフォアはなく、種々の構成の感応膜が用いられている。その中で、硬化性樹脂を母材とする感応膜が知られている。例えば、特許文献1にはエポキシ樹脂主剤と硬化剤と硬化促進剤とを主成分とする陰イオン感応膜が記載されている。また、非特許文献1にはエポキシ樹脂のイオン感応膜に可塑剤などを混ぜることで、膜の電気抵抗値が低減し、また膜の吸水しやすくなることによってプレコンディショニング時間(電極性能が安定するまでの時間)が短縮することが記載されている。また、このような硬化性樹脂の感応膜の形成方法として、特許文献1には平板を形成した後、くり抜いて電極セルの先端に接着する方法が記載されている。特許文献2には、電極セルの流路部にチューブを入れ、エポキシ樹脂の混合液を塗り、加熱硬化後にチューブを引き抜くという方法が記載されている。
【先行技術文献】
【特許文献】
【0004】
特開2003-215087号公報
特開2022-060778号公報
【非特許文献】
【0005】
Anal. Chem. 2004, 76 (14), 4217-4222. DOI: 10.1021/ac049973y
【発明の概要】
【発明が解決しようとする課題】
【0006】
非特許文献1に記載のように、本来エポキシ樹脂は電気抵抗値が高く、電極の性能が安定するまでに時間がかかる。可塑剤などを加えることである程度改善はできるが、感応膜の膜厚にばらつきがあると、上記の電極特性もばらついてしまう。そのため、電極品質を安定化する上で、膜厚を精度良く制御することが重要となる。膜厚を制御する方法として、特許文献1に記載のように、平板などに予め成型した感応膜を電極セルに接着する方法がある。この方法であれば、確実に膜厚を制御できる可能性がある。一方で、工程が多く、また電極セルの膜接着面の形状が制限されてしまう。
【0007】
特許文献2に記載のフロー型電極筐体に直接感応膜を形成する方法は、工程が簡単である一方で、膜厚の精密な制御が難しい。膜厚制御が難しい理由として、熱硬化性樹脂は、主剤と硬化剤を混ぜた直後から徐々に硬化反応が進み、塗布するまでの時間と温度によって塗布時の粘度がばらつく、硬化時に加熱することで一時的に膜材料の粘度が下がり広がる、また膜形成箇所にフッ素系樹脂チューブなどの濡れ性の低い部分があると、その部分は膜材料がはじきやすい、電極筐体の壁を膜材料がせり上がる、などの点が挙げられる。このように、電極筐体上に熱硬化性樹脂型のイオン感応膜を膜厚制御しながら直接形成することは困難であった。
【0008】
そこで、本開示は、フロー型イオン選択性電極の製造において熱硬化性樹脂型のイオン感応膜を形成する際に簡便に膜厚制御が可能な技術を提供する。
【課題を解決するための手段】
【0009】
上記課題を解決するために、本開示のフロー型イオン選択性電極の製造方法は、電極筐体を貫通する流路を有するフロー型イオン選択性電極の製造方法であって、前記流路に流路保護治具を挿入することと、前記流路保護治具の一部を含む前記電極筐体の膜形成部と、膜厚制御治具との隙間に熱硬化性樹脂液を保持することと、前記熱硬化性樹脂液を前記隙間に保持した状態で硬化させることでイオン感応膜を形成することと、硬化後に前記膜厚制御治具及び前記流路保護治具を取り外すことと、を含むことを特徴とする。
【0010】
本開示に関連する更なる特徴は、本明細書の記述、添付図面から明らかになるものである。また、本開示の態様は、要素及び多様な要素の組み合わせ及び以降の詳細な記述と添付される特許請求の範囲の様態により達成され実現される。本明細書の記述は典型的な例示に過ぎず、本開示の特許請求の範囲又は適用例を如何なる意味に於いても限定するものではない。
【発明の効果】
(【0011】以降は省略されています)
この特許をJ-PlatPat(特許庁公式サイト)で参照する
関連特許
株式会社日立ハイテク
真空処理装置
12日前
株式会社日立ハイテク
半導体処理装置
12日前
株式会社日立ハイテク
検体処理システム
12日前
株式会社日立ハイテク
診断装置および診断方法
6日前
株式会社日立ハイテク
分子除去方法および分子除去装置
27日前
株式会社日立ハイテク
監視装置、情報処理装置が実行する監視方法
15日前
株式会社日立ハイテク
画像処理装置、画像処理システムおよび方法
26日前
株式会社日立ハイテク
検体搬送装置、検体分析システム、及び検体前処理装置
12日前
株式会社日立ハイテク
ワークフロー管理装置、放射線治療装置及びワークフロー管理方法
15日前
株式会社日立ハイテク
半導体パターン評価方法、半導体製造プロセス管理システム、半導体パターン評価システム
21日前
株式会社日立ハイテク
フリッカ値算出及び電源高調波解析装置、分析装置、フリッカ値算出及び電源高調波解析方法
1日前
株式会社日立ハイテク
画像処理装置、画像収録装置、画像再生装置、画像処理方法、画像収録方法および画像再生方法
27日前
株式会社日立ハイテク
加速器システム、粒子線治療システム、加速器システムの制御方法及び粒子線治療システムの制御方法
27日前
株式会社日立ハイテク
T細胞受容体(TCR)またはB細胞受容体(BCR)レパトアおよび遺伝子発現の同時解析を可能にするNGSライブラリ調製方法
12日前
個人
メジャー文具
29日前
日本精機株式会社
検出装置
今日
個人
採尿及び採便具
6日前
個人
高精度同時多点測定装置
21日前
個人
アクセサリー型テスター
22日前
ユニパルス株式会社
ロードセル
28日前
株式会社ミツトヨ
測定器
12日前
甲神電機株式会社
電流検出装置
今日
アズビル株式会社
電磁流量計
15日前
エイブリック株式会社
磁気センサ回路
1か月前
株式会社ヨコオ
ソケット
28日前
株式会社ヨコオ
ソケット
27日前
ダイキン工業株式会社
監視装置
26日前
トヨタ自動車株式会社
監視装置
27日前
株式会社チノー
放射光測温装置
28日前
愛知時計電機株式会社
ガスメータ
12日前
TDK株式会社
ガスセンサ
28日前
ローム株式会社
半導体装置
20日前
個人
システム、装置及び実験方法
15日前
双庸電子株式会社
誤配線検査装置
1日前
TDK株式会社
ガスセンサ
1か月前
愛知電機株式会社
軸部材の外観検査装置
9日前
続きを見る
他の特許を見る