TOP
|
特許
|
意匠
|
商標
特許ウォッチ
Twitter
他の特許を見る
10個以上の画像は省略されています。
公開番号
2025152226
公報種別
公開特許公報(A)
公開日
2025-10-09
出願番号
2024054021
出願日
2024-03-28
発明の名称
画像処理装置、画像収録装置、画像再生装置、画像処理方法、画像収録方法および画像再生方法
出願人
株式会社日立ハイテク
代理人
弁理士法人秀和特許事務所
主分類
H04N
7/18 20060101AFI20251002BHJP(電気通信技術)
要約
【課題】複数のカメラで撮影された動画データ間の時間ズレを抑制する。
【解決手段】画像処理装置は、第1の撮像部で撮影された第1の画像と、第2の撮像部で撮影された第2の画像とを取得する取得部と、第1の撮像部と第2の撮像部とを搭載する車両の、基準地点からの走行距離に基づく位置情報を取得する位置情報取得部と、取得された位置情報と、第1の画像と第2の画像との間の同期を取るための同期信号とを、第1の画像および第2の画像の可視領域または不可視領域に付加する処理部と、を備える。
【選択図】図8
特許請求の範囲
【請求項1】
第1の撮像部で撮影された第1の画像と、第2の撮像部で撮影された第2の画像とを取得する取得部と、
前記第1の撮像部と前記第2の撮像部とを搭載する車両の、基準地点からの走行距離に基づく位置情報を取得する位置情報取得部と、
前記取得された位置情報と、前記第1の画像と前記第2の画像との間の同期を取るための同期信号とを、前記第1の画像および前記第2の画像の可視領域または不可視領域に付加する処理部と、
を備える画像処理装置。
続きを表示(約 1,600 文字)
【請求項2】
前記処理部は、前記車両が走行する線路に沿って設けられた電車線路の支持柱を検出するセンサが出力する検出信号を取得するとともに、
前記取得された検出信号を前記同期信号として付加する、請求項1に記載の画像処理装置。
【請求項3】
前記処理部は、前記取得された検出信号を契機として計数が開始された計数値、前記取得された検出信号の入力を起点とする時刻情報、インデックス番号の何れか一の情報を前記同期信号として付加する、請求項2に記載の画像処理装置。
【請求項4】
前記処理部は、前記位置情報と前記同期信号とが可視領域または不可視領域に記録された第1の画像を第1の信号変換器に出力するとともに、前記位置情報と前記同期信号とが可視領域または不可視領域に記録された第2の画像を第2の信号変換器に出力する、請求項1に記載の画像処理装置。
【請求項5】
第1の信号変換器と接続される第1のエンコーダと、
第2の信号変換器と接続される第2のエンコーダと、
前記第1のエンコーダで取得された第1の画像、および、前記第2のエンコーダで取得された第2の画像のそれぞれの可視領域または不可視領域に付加された位置情報および同期信号にしたがって、前記第1の画像と前記第2の画像との間のフレーム位置を同期させて符号化し、符号化後の前記第1の画像に対する第1の画像ファイルおよび、前記符号化後の前記第2の画像に対する第2の画像ファイルを記憶部に収録する収録部と、
を備える画像収録装置。
【請求項6】
符号化された第1の画像ファイルと、符号化された第2の画像ファイルとを取得する画像取得部と、
前記第1の画像ファイルから符号化前の第1の画像を復号するとともに、前記第2の画像ファイルから符号化前の第2の画像を復号する画像複合部と、
前記第1の画像および前記第2の画像の可視領域または不可視領域に付加された位置情報および同期信号にしたがって前記第1の画像と前記第2の画像との間のフレーム位置を同期させて再生する再生部と、
を備える画像再生装置。
【請求項7】
第1の撮像部で撮影された第1の画像と、第2の撮像部で撮影された第2の画像とを取得することと、
前記第1の撮像部と前記第2の撮像部とを搭載する車両の、基準地点からの走行距離に基づく位置情報を取得することと、
取得された位置情報と、前記第1の画像と前記第2の画像との間の同期を取るための同期信号とを、前記第1の画像および前記第2の画像の可視領域または不可視領域に付加することと、
を含む画像処理方法。
【請求項8】
第1の信号変換器と接続される第1のエンコーダから第1の画像を取得することと、
第2の信号変換器と接続される第2のエンコーダから第2の画像を取得することと、
前記第1の画像および前記第2の画像のそれぞれの可視領域または不可視領域に付加された位置情報および同期信号にしたがって、前記第1の画像と前記第2の画像との間のフレーム位置を同期させて符号化し、符号化後の前記第1の画像に対する第1の画像ファイルおよび、符号化後の前記第2の画像に対する第2の画像ファイルを収録することと、
を含む画像収録方法。
【請求項9】
符号化された第1の画像ファイルおよび第2の画像ファイルを取得することと、
前記第1の画像ファイルから符号化前の第1の画像を復号するとともに、前記第2の画像ファイルから符号化前の第2の画像を復号することと、
前記第1の画像および前記第2の画像の可視領域または不可視領域に付加された位置情報および同期信号にしたがって前記第1の画像と前記第2の画像との間のフレーム位置を同期させて再生することと、
を含む画像再生方法。
発明の詳細な説明
【技術分野】
【0001】
本開示は、電車線路を監視する監視システムの画像処理装置、画像収録装置、画像再生装置、画像処理方法、画像収録方法および画像再生方法に関する。
続きを表示(約 1,900 文字)
【背景技術】
【0002】
例えば、特許文献1、2に開示されるように、従来から、鉄道等においては車両運行の安全を確保するため、鉄道車両にカメラを搭載し、当該鉄道車両の走行中にカメラで撮影された線路の様子、線路周辺の様子等の監視対象の状態を監視することが知られている。カメラで撮影される監視対象は様々であり、例えば、車両に電力を供給するために、線路に沿って設置された電車線路(架空電車線路、以下「架線」ともいう)が含まれる。電車線路は、電車線や饋電線等の電線類と、電線類を支持する設備等によって構成される。このような設備として、例えば、架線柱(支持柱、電柱)、ビーム、ハンガ、吊架線、振れ止めパイプ、振れ止め金具等が例示される。
【先行技術文献】
【特許文献】
【0003】
特開2004-168268号公報
特開2020-017824号公報
【発明の概要】
【発明が解決しようとする課題】
【0004】
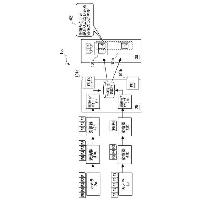
電車線路を対象として監視が行われる場合には、電気車両の屋根上に複数のカメラが設けられ、線路に沿って設置された電車線路の状態が走行中の電気車両に設けられたカメラによって撮影される。例えば、架線柱やビーム、ハンガ等の状態が、視野域の異なる2台のカメラで同時に撮影される。カメラは、架線や吊架線の緩み、架線柱やビーム、ハンガ等におけるボルトの欠落の様子が確認可能なように、例えば、「4K画質」以上の画質での動画データを撮影可能な高解像度カメラが使用される。高解像度カメラで撮影された動画データは、例えば、60fpsといったフレームレートで出力され、光変換等の信号変換器を介して車両内に設けられた記録装置等に伝送され、カメラ毎に撮影された動画データが記録されることになる。
【0005】
しかしながら、例えば、視野域の異なる2台のカメラで同時に撮影された監視対象物の動画データ間にフレームのズレが生ずる場合があった。このフレームのズレは、例えば、伝送経路を構成する信号変換器、記録装置における動画データの圧縮処理における処理遅延のバラつきに起因するものと想定される。フレームのズレが生じた場合には、例えば、電車線路を監視する監視者が手動操作で複数の動画データのフレームを巻き戻しや早送り等の操作を行い、複数のカメラが同時に撮影した監視対象物の撮像画像を把握するといった負荷が生じていた。
【0006】
本開示は、上記の事情に鑑みてなされたものであり、複数のカメラで撮影された動画データ間の時間ズレを抑制する技術の提供を目的とする。
【課題を解決するための手段】
【0007】
上記課題を解決するために、以下の手段を採用する。
すなわち、本開示の一側面における画像処理装置は、
第1の撮像部で撮影された第1の画像と、第2の撮像部で撮影された第2の画像とを取
得する取得部と、
前記第1の撮像部と前記第2の撮像部とを搭載する車両の、基準地点からの走行距離に基づく位置情報を取得する位置情報取得部と、
前記取得された位置情報と、前記第1の画像と前記第2の画像との間の同期を取るための同期信号とを、前記第1の画像および前記第2の画像の可視領域または不可視領域に付加する処理部と、
を備える。
【0008】
これにより、第1の画像および第2の画像の可視領域または不可視領域に付加された同期信号、位置情報に基づいて、複数のカメラで撮影された動画データ間の時間ズレを抑制することが可能になる。
【発明の効果】
【0009】
本開示により、複数のカメラで撮影された動画データ間の時間ズレを抑制する技術が提供できる。
【図面の簡単な説明】
【0010】
実施形態に係る画像処理装置に接続される監視カメラを説明する図である。
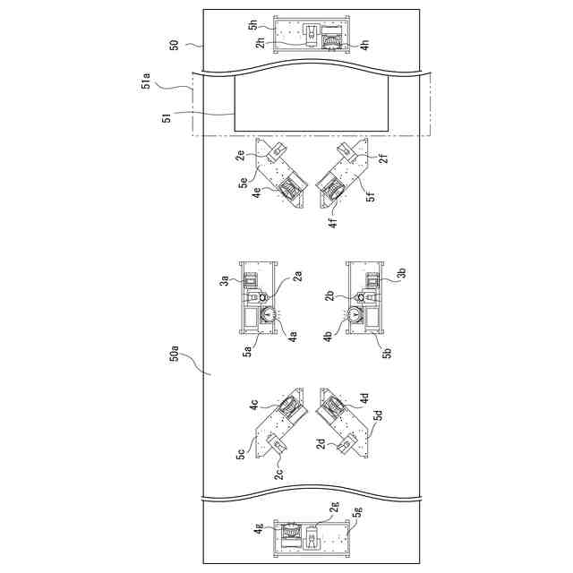
車両の屋根上に設けられた複数のカメラの配置位置を説明する図である。
カメラによる監視対象物の撮影画像の一例を示す図である。
カメラによる監視対象物の撮影画像の他の一例を示す図である。
カメラによる監視対象物の撮影画像の他の一例を示す図である。
比較例の監視システムを説明する図である。
比較例の他の監視システムを説明する図である。
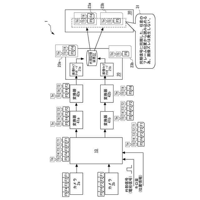
実施形態に係る監視システムの概略的な構成を説明する図である。
実施形態に係る画像処理装置の一形態を説明する図である。
【発明を実施するための形態】
(【0011】以降は省略されています)
この特許をJ-PlatPat(特許庁公式サイト)で参照する
関連特許
個人
イヤーピース
今日
個人
イヤーマフ
14日前
個人
監視カメラシステム
23日前
個人
スイッチシステム
8日前
キーコム株式会社
光伝送線路
24日前
サクサ株式会社
中継装置
1か月前
サクサ株式会社
中継装置
29日前
個人
スキャン式車載用撮像装置
23日前
WHISMR合同会社
収音装置
1か月前
キヤノン株式会社
撮像装置
2か月前
アイホン株式会社
電気機器
1か月前
サクサ株式会社
無線通信装置
29日前
ヤマハ株式会社
放音制御装置
8日前
株式会社リコー
画像形成装置
2か月前
キヤノン電子株式会社
画像読取装置
1か月前
キヤノン電子株式会社
画像読取装置
今日
サクサ株式会社
無線通信装置
29日前
キヤノン電子株式会社
画像読取装置
8日前
個人
ワイヤレスイヤホン対応耳掛け
1か月前
サクサ株式会社
無線システム
28日前
株式会社リコー
画像形成装置
2か月前
個人
映像表示装置、及びARグラス
9日前
株式会社リコー
画像形成装置
16日前
キヤノン電子株式会社
画像読取装置
22日前
株式会社リコー
画像形成装置
3か月前
キヤノン電子株式会社
シート搬送装置
今日
キヤノン株式会社
画像処理装置
3日前
個人
発信機及び発信方法
28日前
キヤノン株式会社
撮像システム
1か月前
日本電気株式会社
海底分岐装置
24日前
ブラザー工業株式会社
読取装置
2か月前
株式会社松平商会
携帯機器カバー
2か月前
国立大学法人電気通信大学
小型光学装置
2か月前
パテントフレア株式会社
超高速電波通信
2か月前
株式会社NTTドコモ
端末
23日前
キヤノン電子株式会社
シート材搬送装置
2か月前
続きを見る
他の特許を見る