TOP
|
特許
|
意匠
|
商標
特許ウォッチ
Twitter
他の特許を見る
10個以上の画像は省略されています。
公開番号
2025142369
公報種別
公開特許公報(A)
公開日
2025-09-30
出願番号
2025128635,2021053924
出願日
2025-07-31,2021-03-26
発明の名称
セパレーター付き粘着体
出願人
日東電工株式会社
代理人
弁理士法人栄光事務所
主分類
C09J
7/40 20180101AFI20250919BHJP(染料;ペイント;つや出し剤;天然樹脂;接着剤;他に分類されない組成物;他に分類されない材料の応用)
要約
【課題】線状の粘着体のつぶれ及び脱落が抑制ないし防止されたセパレーター付き粘着体を提供する。
【解決手段】線状の粘着体とセパレーターとを備え、セパレーターの圧縮弾性率が1.5MPa以下であるセパレーター付き粘着体。
【選択図】図1
特許請求の範囲
【請求項1】
線状の粘着体とセパレーターとを備え、
前記セパレーターの圧縮弾性率が1.5MPa以下であるセパレーター付き粘着体。
続きを表示(約 390 文字)
【請求項2】
前記セパレーターにはスリットが形成されており、前記粘着体の少なくとも一部が前記スリット内に配置されている請求項1に記載のセパレーター付き粘着体。
【請求項3】
線状の粘着体とセパレーターとを備え、
前記セパレーターにはスリットが形成されており、前記粘着体の少なくとも一部が前記スリット内に配置されているセパレーター付き粘着体。
【請求項4】
前記スリットは、前記セパレーターの長手方向に沿って形成されている請求項2又は3に記載のセパレーター付き粘着体。
【請求項5】
前記粘着体は糸状である請求項1~4のいずれか1項に記載のセパレーター付き粘着体。
【請求項6】
前記セパレーター付き粘着体はロール状に巻回されている、請求項1~5のいずれか1項に記載のセパレーター付き粘着体。
発明の詳細な説明
【技術分野】
【0001】
本発明は、セパレーター付き粘着体に関する。
続きを表示(約 1,700 文字)
【背景技術】
【0002】
従来、線状の粘着体が知られている。例えば、特許文献1には、糸状の芯材に粘着剤を付着させたことを特徴とする糸状接着具が開示されている。
【先行技術文献】
【特許文献】
【0003】
特開平03-231980号公報
【発明の概要】
【発明が解決しようとする課題】
【0004】
このような粘着体は、線状であるため、狭い場所等にも適用させやすい。また、液状の接着剤とは異なり、液だれやはみ出し等のおそれもない。
【0005】
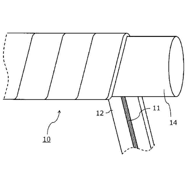
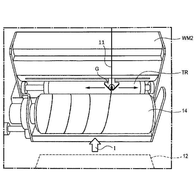
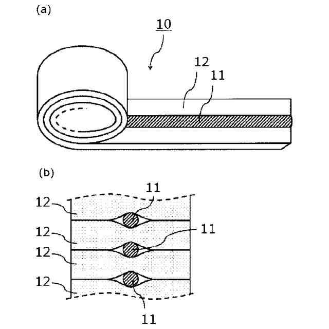
ここで、通常粘着体においては、粘着面同士が貼りつくことや、粘着面にホコリ等が付着して粘着力が低下することを防ぐために、保存時には粘着面を保護するための措置が施される。たとえば、一般的な片面粘着テープは、粘着面と非粘着面(背面)とが貼り合わされるように巻回されたり、粘着面にセパレーターが貼付されたりして粘着面が保護されている。また、両面粘着テープにおいては、粘着面同士の間にセパレーターを挟んで粘着面同士が接触しないように巻回されたり、両方の粘着面にセパレーターが貼付されたりして、粘着面が保護されている。
【0006】
しかしながら、線状の粘着体においては保存時における粘着面の保護の方法の検討は十分にされていなかった。
特許文献1においては、糸状接着具を互いに密着する部分が少なくなるようにリールに巻回することにより、セパレーターを用いることなく糸状接着具をリールに格納する方法が記載されている。しかし、このような態様は、糸状接着具の粘着力が大きい場合に、粘着体同士を引きはがすことが困難となる為、粘着力の小さい粘着体にしか適用することができない。
【0007】
線状の粘着体の粘着面の保護において、両面粘着テープと同様に、セパレーターを用いて粘着面を保護することが考えられる。すなわち、粘着テープにおいて使用されているようなセパレーターを用いて線状の粘着体を挟持する、線状の粘着体の間にセパレーターを挟んで巻回する等の方法により粘着体を保護することが考えられる。このような方法であれば、粘着力の大きい粘着体にも適用できる。
しかしながら、このような方法では、粘着体は挟持や巻回時の巻き締りによる圧力でつぶれてしまい、粘着体としての形態を損なうおそれがある。また、セパレーターが平面状であるのに対して粘着体は線状であるため、粘着体がセパレーター上で転がる等して、セパレーターから脱落するおそれがある。
【0008】
本発明は、上記に鑑みて完成されたものであり、線状の粘着体のつぶれ及び脱落が抑制ないし防止されたセパレーター付き粘着体を提供することを目的とする。
【課題を解決するための手段】
【0009】
本発明の一態様は、線状の粘着体とセパレーターとを備え、前記セパレーターの圧縮弾性率が1.5MPa以下であるセパレーター付き粘着体に関する。
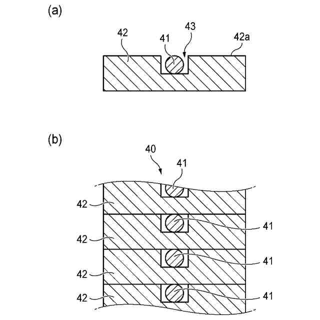
また、上記のセパレーター付き粘着体において、前記セパレーターにはスリットが形成されており、前記粘着体の少なくとも一部が前記スリット内に配置されていてもよい。
また、本発明の別の一態様は、線状の粘着体とセパレーターとを備え、前記セパレーターにはスリットが形成されており、前記粘着体の少なくとも一部が前記スリット内に配置されているセパレーター付き粘着体に関する。
上記各態様のセパレーター付き粘着体において、前記スリットは、前記セパレーターの長手方向に沿って形成されていてもよい。
また、上記各態様のセパレーター付き粘着体において、前記粘着体は糸状であることが好ましい。
また、上記各態様のセパレーター付き粘着体において、前記セパレーター付き粘着体はロール状に巻回されていてもよい。
【発明の効果】
【0010】
本発明のセパレーター付き粘着体は、線状の粘着体のつぶれ及び脱落を抑制ないし防止することができる。
【図面の簡単な説明】
(【0011】以降は省略されています)
この特許をJ-PlatPat(特許庁公式サイト)で参照する
関連特許
日東電工株式会社
吸着材
13日前
日東電工株式会社
積層体
7日前
日東電工株式会社
照明装置
6日前
日東電工株式会社
発光装置
14日前
日東電工株式会社
シート体
2日前
日東電工株式会社
電子装置
9日前
日東電工株式会社
粘着シート
6日前
日東電工株式会社
光ファイバ
8日前
日東電工株式会社
粘着シート
6日前
日東電工株式会社
光学積層体
1か月前
日東電工株式会社
光学積層体
28日前
日東電工株式会社
粘着剤組成物
8日前
日東電工株式会社
温度測定装置
8日前
日東電工株式会社
温度測定装置
8日前
日東電工株式会社
スイッチ装置
6日前
日東電工株式会社
偏光フィルム
1か月前
日東電工株式会社
スイッチ装置
14日前
日東電工株式会社
調光フィルム
7日前
日東電工株式会社
複合ケーブル
1か月前
日東電工株式会社
粘着剤組成物
8日前
日東電工株式会社
光学粘着シート
15日前
日東電工株式会社
光学粘着シート
15日前
日東電工株式会社
光学粘着シート
15日前
日東電工株式会社
表面保護シート
2日前
日東電工株式会社
反射防止フィルム
13日前
日東電工株式会社
ガラス樹脂複合体
1か月前
日東電工株式会社
反射防止フィルム
13日前
日東電工株式会社
ロール体の製造方法
17日前
日東電工株式会社
導光体、及び照明装置
6日前
日東電工株式会社
光学積層体の製造方法
14日前
日東電工株式会社
光学積層体の製造方法
14日前
日東電工株式会社
光学積層体の製造方法
1か月前
日東電工株式会社
調光用導電性フィルム
27日前
日東電工株式会社
ウレア化合物の製造方法
21日前
日東電工株式会社
延伸フィルムの製造方法
27日前
日東電工株式会社
配線回路基板の製造方法
6日前
続きを見る
他の特許を見る