TOP
|
特許
|
意匠
|
商標
特許ウォッチ
Twitter
他の特許を見る
10個以上の画像は省略されています。
公開番号
2025142188
公報種別
公開特許公報(A)
公開日
2025-09-30
出願番号
2024205079
出願日
2024-11-26
発明の名称
情報処理方法、情報処理システム、および情報処理プログラム
出願人
任天堂株式会社
代理人
弁理士法人小笠原特許事務所
,
個人
主分類
A63F
13/22 20140101AFI20250922BHJP(スポーツ;ゲーム;娯楽)
要約
【課題】照準位置の制御について改善すること。
【解決手段】慣性センサの出力に基づいて仮想オブジェクトの位置を決定する第2モードのとき、コントローラが基準姿勢であるときに仮想オブジェクトが表示範囲内の所定位置に位置する対応関係に基づいて、コントローラの姿勢に応じて仮想オブジェクトの位置を決定する。マウスセンサ等の出力に基づいて仮想オブジェクトの位置を決定する第1モードから第2モードに切り替わったときのコントローラの第1姿勢が第1条件を満たすときには、基準姿勢を、第1姿勢に応じた仮想オブジェクトの位置が表示範囲内となる姿勢に更新する。
【選択図】図11
特許請求の範囲
【請求項1】
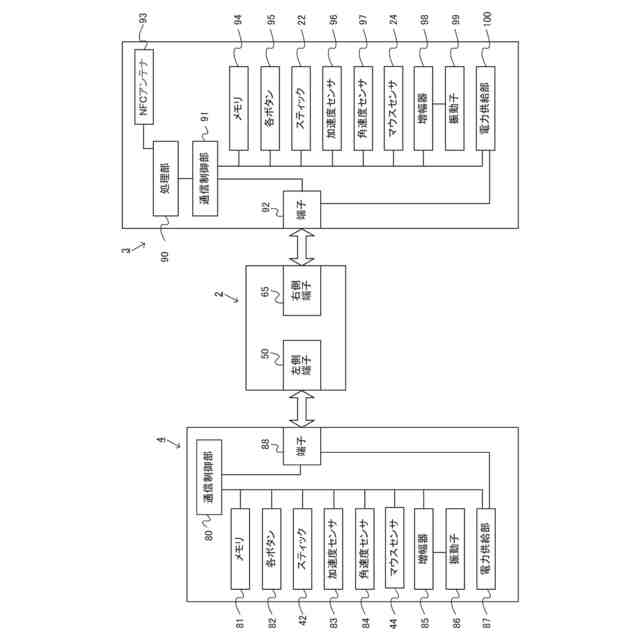
マウスセンサおよびユーザに操作される方向操作部の少なくとも一方と、慣性センサとを備えたコントローラを用いる情報処理方法であって、
第1モードと第2モードを含む複数のモードのうちのいずれかのモードを設定するモード設定ステップと、
前記第1モードのとき、前記方向操作部または前記マウスセンサの出力に基づいて仮想オブジェクトの位置を決定し、
前記第2モードのとき、前記慣性センサの出力に基づいて前記仮想オブジェクトの位置を決定する、仮想オブジェクト制御ステップとを備え、
前記仮想オブジェクト制御ステップでは、
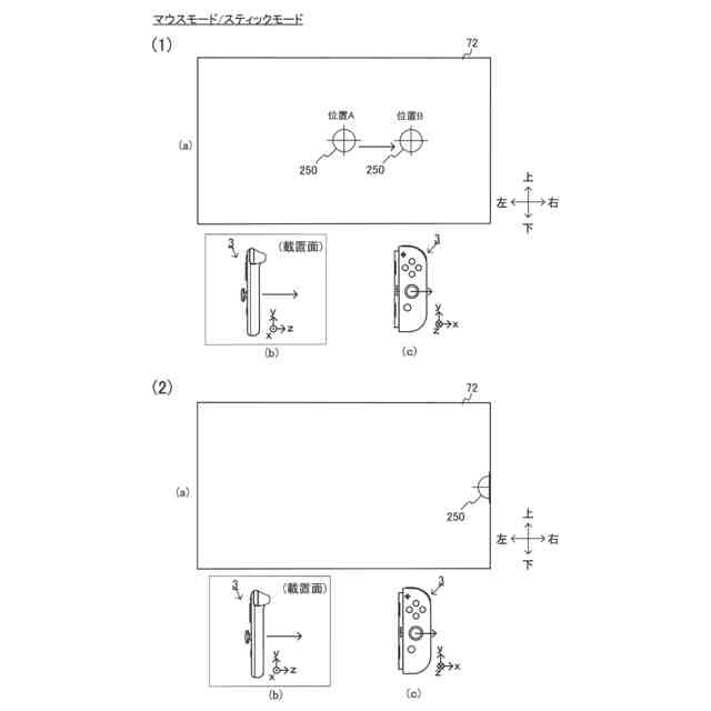
前記第2モードのとき、前記コントローラが基準姿勢であるときに前記仮想オブジェクトが表示範囲内の所定位置に位置する対応関係に基づいて、前記コントローラの姿勢に応じて前記仮想オブジェクトの位置を決定し、
前記第1モードから前記第2モードに切り替わったときの前記コントローラの姿勢である第1姿勢が少なくとも第1条件を満たすときには、前記基準姿勢を、前記第1姿勢に応じた前記仮想オブジェクトの位置が前記表示範囲内となる姿勢に更新する、情報処理方法。
続きを表示(約 910 文字)
【請求項2】
前記第1条件は、前記第1姿勢に応じた前記仮想オブジェクトの位置が前記表示範囲外であることを含む、請求項1に記載の情報処理方法。
【請求項3】
前記第1姿勢が前記第1条件を満たすときには、前記基準姿勢を前記第1姿勢に更新する、請求項2に記載の情報処理方法。
【請求項4】
前記所定位置は、前記表示範囲の中央の位置である、請求項3に記載の情報処理方法。
【請求項5】
前記第1姿勢が前記第1条件を満たさないときは、前記第1姿勢が前記第1条件を満たすときよりも、前記第1モードにおける前記仮想オブジェクトの位置から前記第2モードにおける前記仮想オブジェクトの位置に向けて前記仮想オブジェクトを低速で移動させる、請求項1に記載の情報処理方法。
【請求項6】
前記第2モードから前記第1モードに切り替わるときに、前記仮想オブジェクトの位置が前記表示範囲外であるとき、前記仮想オブジェクトを前記表示範囲内に位置させる、請求項1に記載の情報処理方法。
【請求項7】
前記第2モードから前記第1モードに切り替わるときの前記仮想オブジェクトの前記表示範囲外の位置に応じて、前記表示範囲内における前記仮想オブジェクトの位置を決定する、請求項6に記載の情報処理方法。
【請求項8】
前記第1モードおよび前記第2モードにおいて、ボタン操作に応じて前記仮想オブジェクトの位置を前記所定位置に更新し、
前記仮想オブジェクトの位置を前記所定位置に更新した場合、前記基準姿勢を、当該更新した時の前記コントローラの姿勢に更新する、請求項1に記載の情報処理方法。
【請求項9】
少なくとも前記慣性センサの出力が第2条件を満たしたときに、前記第1モードから前記第2モードに切り替える、請求項1に記載の情報処理方法。
【請求項10】
前記第1モードのとき、前記マウスセンサの出力に基づいて前記仮想オブジェクトの位置を決定する、請求項1に記載の情報処理方法。
(【請求項11】以降は省略されています)
発明の詳細な説明
【技術分野】
【0001】
本開示は、ゲーム等の情報処理に関する。
続きを表示(約 1,200 文字)
【背景技術】
【0002】
従来から、照準位置を、操作部の操作に基づいて操作するのか、表示画面の取得座標に基づいて操作するのか、切り替えることが知られている。また、照準位置の操作に用いられる座標の取得は、加速度センサを用いてもよいことが知られている。また、この操作の切り替えにおいて、取得座標、コントローラの動き、操作部の操作状態が考慮され得ることが知られている。例えば、特許文献1の段落[0146]、[0151]、[0155]参照。
【先行技術文献】
【特許文献】
【0003】
特開2013-90941号公報
【発明の概要】
【発明が解決しようとする課題】
【0004】
上記のような技術には、照準位置の制御について改善の余地があった。
【課題を解決するための手段】
【0005】
例えば、以下のような構成例が挙げられる。
【0006】
(構成1)
構成1は、マウスセンサおよびユーザに操作される方向操作部の少なくとも一方と、慣性センサとを備えたコントローラを用いる情報処理方法であって、第1モードと第2モードを含む複数のモードのうちのいずれかのモードを設定するモード設定ステップと、第1モードのとき、方向操作部またはマウスセンサの出力に基づいて仮想オブジェクトの位置を決定し、第2モードのとき、慣性センサの出力に基づいて仮想オブジェクトの位置を決定する、仮想オブジェクト制御ステップとを備え、仮想オブジェクト制御ステップでは、第2モードのとき、コントローラが基準姿勢であるときに仮想オブジェクトが表示範囲内の所定位置に位置する対応関係に基づいて、コントローラの姿勢に応じて仮想オブジェクトの位置を決定し、第1モードから第2モードに切り替わったときのコントローラの姿勢である第1姿勢が少なくとも第1条件を満たすときには、基準姿勢を、第1姿勢に応じた仮想オブジェクトの位置が表示範囲内となる姿勢に更新する。
【0007】
(構成2)
構成2は、上記構成1において、第1条件は、第1姿勢に応じた仮想オブジェクトの位置が表示範囲外であることを含んでもよい。
【0008】
(構成3)
構成3は、上記構成1又は2において、第1姿勢が第1条件を満たすときには、基準姿勢を第1姿勢に更新してもよい。
【0009】
(構成4)
構成4は、上記構成1~3の何れかにおいて、所定位置は、表示範囲の中央の位置であってもよい。
【0010】
(構成5)
構成5は、上記構成1~4の何れかにおいて、第1姿勢が第1条件を満たさないときは、第1姿勢が第1条件を満たすときよりも、第1モードにおける仮想オブジェクトの位置から第2モードにおける仮想オブジェクトの位置に向けて仮想オブジェクトを低速で移動させてもよい。
(【0011】以降は省略されています)
特許ウォッチbot のツイートを見る
この特許をJ-PlatPat(特許庁公式サイト)で参照する
関連特許
任天堂株式会社
システム、方法、およびプログラム
1か月前
任天堂株式会社
システム、方法、およびプログラム
14日前
任天堂株式会社
射撃ゲームシステムおよび娯楽施設
1か月前
任天堂株式会社
システム、方法、およびプログラム
1か月前
任天堂株式会社
システム、方法、およびプログラム
1か月前
任天堂株式会社
システム、プログラム、および方法
14日前
任天堂株式会社
プログラム、システム、および、方法
24日前
任天堂株式会社
情報処理システム、プログラム、および方法
14日前
任天堂株式会社
システム、カメラ、デバイス、および、方法
1か月前
任天堂株式会社
プログラム、情報処理システム、および情報処理方法
29日前
任天堂株式会社
ゲームプログラム、ゲーム装置、およびゲーム処理方法
16日前
任天堂株式会社
情報処理システム、情報処理方法、端末、およびプログラム
25日前
任天堂株式会社
システム、送信端末、受信端末、方法、および、プログラム
25日前
任天堂株式会社
情報処理プログラム、情報処理システム、および情報処理方法
14日前
任天堂株式会社
情報処理方法、情報処理システム、および情報処理プログラム
1か月前
任天堂株式会社
情報処理方法、情報処理システム、および情報処理プログラム
1か月前
任天堂株式会社
情報処理システム、情報処理プログラム、および情報処理方法
1か月前
任天堂株式会社
情報処理プログラム、情報処理システム、および情報処理方法
29日前
任天堂株式会社
アタッチメント
16日前
任天堂株式会社
アタッチメント
1か月前
任天堂株式会社
ゲームコントローラ
3か月前
任天堂株式会社
情報処理システム、情報処理装置、配信方法、および、配信プログラム
25日前
任天堂株式会社
ゲームプログラム、ゲームシステム、ゲーム装置、およびゲーム処理方法
1か月前
任天堂株式会社
周辺機器およびシステム
1か月前
任天堂株式会社
接続構造および取り付け構造
1か月前
任天堂株式会社
情報処理システム、情報処理プログラム、情報処理方法、および情報処理装置
2か月前
任天堂株式会社
通信プログラム、通信端末および方法
2か月前
任天堂株式会社
ゲーム進行補助システム、ゲーム進行補助プログラム、ゲーム進行補助方法、および娯楽施設
1か月前
任天堂株式会社
ゲームプログラム、ゲームシステム、およびゲーム処理方法
2か月前
任天堂株式会社
ゲームコントローラ、ゲームコントローラセットおよびシステム
1か月前
任天堂株式会社
情報処理装置、情報処理方法、情報処理プログラム、および情報処理システム
1か月前
個人
玩具
2か月前
個人
玩具
4か月前
個人
自走玩具
2か月前
個人
ゲーム玩具
6か月前
個人
運動補助具
4か月前
続きを見る
他の特許を見る