TOP
|
特許
|
意匠
|
商標
特許ウォッチ
Twitter
他の特許を見る
10個以上の画像は省略されています。
公開番号
2025144696
公報種別
公開特許公報(A)
公開日
2025-10-03
出願番号
2024044501
出願日
2024-03-21
発明の名称
システム、方法、およびプログラム
出願人
任天堂株式会社
代理人
弁理士法人深見特許事務所
,
個人
主分類
H04L
67/10 20220101AFI20250926BHJP(電気通信技術)
要約
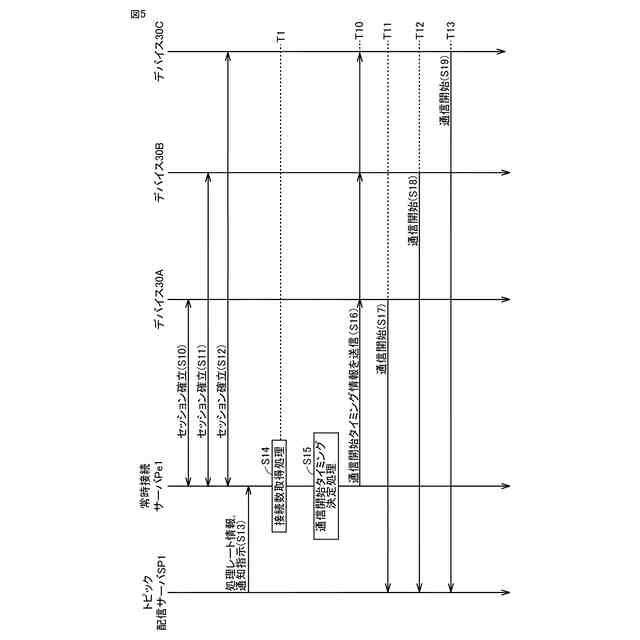
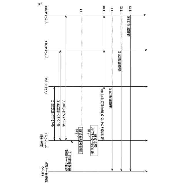
【課題】複数のデバイスが1つのサーバに対して同時期に通信を行うことによってサーバの処理負担が増大する可能性があった。
【解決手段】第1サーバと、第1サーバから送信された通知指示を受信する第2サーバと、第2サーバから通知指示に基づく通知を受信する複数のデバイスとを備える。第2サーバは、第1サーバにより指定された処理レートと、第1タイミングにおいて第2サーバと接続されている複数のデバイスの接続数とに基づいて、複数のデバイスごとに異なる通信開始タイミングを決定し、複数のデバイスの各々は、通知を受信した後、通信開始タイミングの経過に基づいて第1サーバとの通信を開始する。
【選択図】図5
特許請求の範囲
【請求項1】
第1サーバと、
前記第1サーバから送信された通知指示を受信する第2サーバと、
前記第2サーバから前記通知指示に基づく通知を受信する複数のデバイスと、を備え、
前記第2サーバは、前記第1サーバにより指定された処理レートと、第1タイミングにおいて前記第2サーバと接続されている前記複数のデバイスの接続数とに基づいて、前記複数のデバイスごとに異なる通信開始タイミングを決定し、
前記複数のデバイスの各々は、前記通知を受信した後、前記通信開始タイミングの経過に基づいて前記第1サーバとの通信を開始する、システム。
続きを表示(約 2,000 文字)
【請求項2】
前記第2サーバは、
前記第1タイミングにおける前記接続数と前記処理レートとに基づいて最大待機期間を決定し、
前記第1タイミングにおいて前記第2サーバと接続されている前記複数のデバイスごとに、前記最大待機期間よりも短い待機期間を決定し、前記待機期間に基づいて、前記複数のデバイスごとに前記通信開始タイミングを決定する、請求項1に記載のシステム。
【請求項3】
前記第2サーバは、
前記第2サーバと前記複数のデバイスの各々との間のセッションを保持する常時接続サーバであり、
前記第1タイミングの後の第2タイミングにおいて、前記複数のデバイスに含まれる特定のデバイスが新たに前記第2サーバに接続された場合、前記最大待機期間よりも短い待機期間を決定し、前記待機期間に基づいて前記特定のデバイスの前記通信開始タイミングを決定する、請求項2に記載のシステム。
【請求項4】
前記複数のデバイスの各々は、
前記第2サーバから受信した前記通知を前記通信開始タイミングが経過するまで保持し、
前記通信開始タイミングの経過に基づいて、前記第1サーバと通信を開始する、請求項1~請求項3のいずれか1項に記載のシステム。
【請求項5】
前記複数のデバイスの各々は、
前記通信開始タイミングを示す情報および前記通知を保持し、
前記通信開始タイミングの経過後に、前記通信開始タイミングを示す情報および前記通知を破棄し、
前記通知および前記通信開始タイミングを示す情報を保持している間に、前記第2サーバとの通信が切断された後において前記第2サーバとの通信が再開したときに、前記通知および前記通信開始タイミングを示す情報を破棄し、前記通知および前記通信開始タイミングを示す情報を前記第2サーバから再度取得する、請求項1~請求項3のいずれか1項に記載のシステム。
【請求項6】
前記通信開始タイミングは、前記第2サーバから前記複数のデバイスの各々への前記通知の送信タイミングおよび前記待機期間に基づいて決定される、請求項2に記載のシステム。
【請求項7】
前記複数のデバイスの各々は、
複数の通知を前記第2サーバから取得し、一時的に保持可能な通知数が上限数を超えた場合、前記複数の通知のうち、前記複数の通知の各々に関連付けられた前記通信開始タイミングが遅い通知を優先して削除し、
前記上限数に対応する通知に基づいて、前記第1サーバとの通信を開始した後、削除した通知および該通知に関連付けられている前記通信開始タイミングを前記第2サーバから再受信する、請求項1~請求項3のいずれか1項に記載のシステム。
【請求項8】
システムを用いて通信を行う方法であって、
前記システムは、
第1サーバと、
前記第1サーバから送信された通知指示を受信する第2サーバと、
前記第2サーバから前記通知指示に基づく通知を受信する複数のデバイスと、を備え、
前記方法は、
前記第2サーバに、前記第1サーバにより指定された処理レートと、第1タイミングにおいて前記第2サーバと接続されている前記複数のデバイスの接続数とに基づいて、前記複数のデバイスごとに異なる通信開始タイミングを決定させるステップと、
前記複数のデバイスの各々に、前記通知を受信した後、前記通信開始タイミングの経過に基づいて前記第1サーバとの通信を開始させるステップとを備える、方法。
【請求項9】
前記方法は、
前記第2サーバに、前記第1タイミングにおいて前記第2サーバと接続されている前記複数のデバイスごとに、前記第2サーバによって前記第1タイミングにおける前記接続数と前記処理レートとに基づいて決定された最大待機期間よりも短い待機期間を決定させ、前記待機期間に基づいて、前記複数のデバイスごとに前記通信開始タイミングを決定させるステップとをさらに備える、請求項8に記載の方法。
【請求項10】
前記第2サーバは、前記第2サーバと前記複数のデバイスの各々との間のセッションを保持する常時接続サーバであり、
前記方法は、
前記第2サーバに、前記第1タイミングの後の第2タイミングにおいて、前記複数のデバイスに含まれる特定のデバイスが新たに前記第2サーバに接続された場合、前記最大待機期間よりも短い待機期間を決定し、前記待機期間に基づいて前記特定のデバイスの前記通信開始タイミングを決定させるステップとをさらに備える、請求項9に記載の方法。
(【請求項11】以降は省略されています)
発明の詳細な説明
【技術分野】
【0001】
本開示は、システム、方法、およびプログラムに関する。
続きを表示(約 1,400 文字)
【背景技術】
【0002】
特許文献1(特開2015-32184号公報)には、ゲーム機器などのデバイスがサーバに接続されているシステムが開示されている。特許文献1には、サーバから複数のデバイスに対して通知が送信されることが記載されている。
【先行技術文献】
【特許文献】
【0003】
特開2015-32184号公報
【発明の概要】
【発明が解決しようとする課題】
【0004】
サーバから複数のデバイスへ送信される通知は、サーバへ接続する命令を含む場合がある。複数のデバイスは、このような通知を受信したことに基づいて、サーバへの接続を試みる。しかしながら、複数のデバイスが同時期にサーバへの接続を行うと、サーバの処理負担が増大してしまう。
【課題を解決するための手段】
【0005】
(構成1)ある実施の形態に従うシステムは、第1サーバと、第1サーバから送信された通知指示を受信する第2サーバと、第2サーバから通知指示に基づく通知を受信する複数のデバイスと、を備える。第2サーバは、第1サーバにより指定された処理レートと、第1タイミングにおいて第2サーバと接続されている複数のデバイスの接続数とに基づいて、複数のデバイスごとに異なる通信開始タイミングを決定し、複数のデバイスの各々は、通知を受信した後、通信開始タイミングの経過に基づいて第1サーバとの通信を開始する。
【0006】
(構成2)構成1において、第2サーバは、第1タイミングにおける接続数と処理レートとに基づいて最大待機期間を決定し、第1タイミングにおいて第2サーバと接続されている複数のデバイスごとに、最大待機期間よりも短い待機期間を決定し、待機期間に基づいて、複数のデバイスごとに通信開始タイミングを決定する。
【0007】
(構成3)構成2において、第2サーバは、第2サーバと複数のデバイスの各々との間のセッションを保持する常時接続サーバであり、第1タイミングの後の第2タイミングにおいて、複数のデバイスに含まれる特定のデバイスが新たに第2サーバに接続された場合、最大待機期間よりも短い待機期間を決定し、待機期間に基づいて特定のデバイスの通信開始タイミングを決定する。
【0008】
(構成4)構成1~構成3のいずれかの構成において、複数のデバイスの各々は、第2サーバから受信した通知を通信開始タイミングが経過するまで保持し、通信開始タイミングの経過に基づいて、第1サーバと通信を開始する。
【0009】
(構成5)構成1~構成4のいずれかの構成において、複数のデバイスの各々は、通信開始タイミングを示す情報および通知を保持し、通信開始タイミングの経過後に、通信開始タイミングを示す情報および通知を破棄し、通知および通信開始タイミングを示す情報を保持している間に、第2サーバとの通信が切断された後において、第2サーバとの通信が再開したときに、通知および通信開始タイミングを示す情報を破棄し、通知および通信開始タイミングを示す情報を第2サーバから再度取得する。
【0010】
(構成6)構成2において、通信開始タイミングは、第2サーバから複数のデバイスの各々への通知の送信タイミングおよび待機期間に基づいて決定される。
(【0011】以降は省略されています)
特許ウォッチbot のツイートを見る
この特許をJ-PlatPat(特許庁公式サイト)で参照する
関連特許
任天堂株式会社
システム、方法、およびプログラム
1か月前
任天堂株式会社
システム、方法、およびプログラム
14日前
任天堂株式会社
システム、方法、およびプログラム
1か月前
任天堂株式会社
システム、プログラム、および方法
14日前
任天堂株式会社
プログラム、システム、および、方法
24日前
任天堂株式会社
情報処理システム、プログラム、および方法
14日前
任天堂株式会社
プログラム、情報処理システム、および情報処理方法
29日前
任天堂株式会社
ゲームプログラム、ゲーム装置、およびゲーム処理方法
16日前
任天堂株式会社
情報処理システム、情報処理方法、端末、およびプログラム
25日前
任天堂株式会社
システム、送信端末、受信端末、方法、および、プログラム
25日前
任天堂株式会社
情報処理システム、情報処理プログラム、および情報処理方法
1か月前
任天堂株式会社
情報処理プログラム、情報処理システム、および情報処理方法
14日前
任天堂株式会社
情報処理プログラム、情報処理システム、および情報処理方法
29日前
任天堂株式会社
アタッチメント
16日前
任天堂株式会社
情報処理システム、情報処理装置、配信方法、および、配信プログラム
25日前
任天堂株式会社
周辺機器およびシステム
1か月前
任天堂株式会社
ゲームプログラム、ゲームシステム、ゲーム装置、およびゲーム処理方法
1か月前
任天堂株式会社
ゲーム進行補助システム、ゲーム進行補助プログラム、ゲーム進行補助方法、および娯楽施設
1か月前
任天堂株式会社
情報処理装置、情報処理方法、情報処理プログラム、および情報処理システム
1か月前
個人
イヤーピース
14日前
個人
イヤーマフ
28日前
個人
監視カメラシステム
1か月前
キーコム株式会社
光伝送線路
1か月前
個人
スイッチシステム
22日前
サクサ株式会社
中継装置
1か月前
個人
スキャン式車載用撮像装置
1か月前
サクサ株式会社
中継装置
1か月前
WHISMR合同会社
収音装置
2か月前
キヤノン株式会社
撮像装置
2か月前
アイホン株式会社
電気機器
2か月前
サクサ株式会社
無線通信装置
1か月前
サクサ株式会社
無線通信装置
1か月前
株式会社リコー
画像形成装置
2か月前
株式会社リコー
画像形成装置
1か月前
キヤノン電子株式会社
画像読取装置
2か月前
個人
映像表示装置、及びARグラス
23日前
続きを見る
他の特許を見る