TOP
|
特許
|
意匠
|
商標
特許ウォッチ
Twitter
他の特許を見る
公開番号
2025168151
公報種別
公開特許公報(A)
公開日
2025-11-07
出願番号
2024108750
出願日
2024-07-05
発明の名称
システム、方法、およびプログラム
出願人
任天堂株式会社
代理人
弁理士法人深見特許事務所
,
個人
主分類
H04N
21/258 20110101AFI20251030BHJP(電気通信技術)
要約
【課題】複数の受信端末を含む配信システムにおいては、配信先となる全ての受信端末に対して表示ポリシー情報に示される条件が満たされているかを判断する必要があるため、処理負担が増大してしまう場合があった。
【解決手段】情報処理システムであって、1または複数のサーバと、画像を配信する配信端末と、画像を受信する複数の受信端末とを備える。配信端末は、表示ポリシー情報を取得し、表示ポリシー情報と画像とを送信し、1または複数のサーバは、表示ポリシー情報を送信する一方で画像の配信をフィルタし、複数の受信端末の各々は、表示ポリシー情報に基づいて画像を表示可能か否か判断し、1または複数のサーバは、判断結果によって画像の表示が可能であることが示される場合フィルタを解除する。
【選択図】図5
特許請求の範囲
【請求項1】
情報処理システムであって、
1または複数のサーバと、
前記1または複数のサーバを介して実行中のアプリケーションの画像を配信する配信端末と、
前記配信端末が配信する前記画像を受信する複数の受信端末と、を備え、
前記配信端末は、
実行中の前記アプリケーションの表示ポリシー情報を取得し、
前記表示ポリシー情報と前記画像とを前記1または複数のサーバに送信し、
前記1または複数のサーバは、
前記複数の受信端末の各々に対して前記表示ポリシー情報を送信する一方で前記画像の配信をフィルタし、
前記複数の受信端末の各々は、
前記1または複数のサーバから取得した前記表示ポリシー情報に基づいて、前記画像を表示可能か否か判断し、
前記判断の判断結果を前記1または複数のサーバに送信し、
前記1または複数のサーバは、
前記複数の受信端末のうち、前記判断結果によって前記画像の表示が可能であることが示された受信端末の各々に対するフィルタを解除する、システム。
続きを表示(約 2,000 文字)
【請求項2】
前記表示ポリシー情報は、年齢制限に関する情報を含み、
前記配信端末は、前記アプリケーションから、当該アプリケーションに含まれる前記年齢制限に関する情報を取得する、請求項1に記載のシステム。
【請求項3】
前記複数の受信端末の各々は、
当該受信端末に関連付けられた1または複数のアカウントにそれぞれ関連付けられた年齢情報のうち最も若い年齢情報と前記1または複数のサーバから取得した前記表示ポリシー情報とに基づいて、前記画像を表示可能か否か判断する、請求項2に記載のシステム。
【請求項4】
前記表示ポリシー情報は、国に関する情報を含み、
前記配信端末は、前記1または複数のサーバから、実行中の前記アプリケーションに対応する前記国に関する情報を取得する、請求項1~請求項3のいずれか1項に記載のシステム。
【請求項5】
前記配信端末は、実行中の前記アプリケーションを識別するためのアプリケーション識別情報を前記1または複数のサーバに送信し、
前記1または複数のサーバは、前記表示ポリシー情報とともに前記アプリケーション識別情報を、前記複数の受信端末の各々に送信し、
前記複数の受信端末の各々は、前記表示ポリシー情報に基づく前記判断の判断結果とともに前記アプリケーション識別情報を前記1または複数のサーバに送信し、
前記1または複数のサーバは、前記判断結果によって前記画像の表示が可能であることが示された受信端末であって、当該受信端末から前記判断結果とともに受信した前記アプリケーション識別情報と前記配信端末から受信した前記アプリケーション識別情報とが一致している受信端末の各々に対する前記フィルタを解除する、請求項1~請求項3のいずれか1項に記載のシステム。
【請求項6】
前記配信端末は、前記画像の配信を開始するときには前記1または複数のサーバへ所定の画像を送信する、請求項1~請求項3のいずれか1項に記載のシステム。
【請求項7】
前記配信端末は、
ホームメニュー画像の配信を開始するとき、
前記1または複数のサーバに対して、送信する画像が前記ホームメニュー画像であることを示すホームメニュー画像情報を送信し、
前記1または複数のサーバは、
前記ホームメニュー画像情報に基づいて、前記ホームメニュー画像の配信をフィルタしない、請求項1~請求項3のいずれか1項に記載のシステム。
【請求項8】
前記配信端末が、前記実行中のアプリケーションの画像の配信からホームメニュー画像の配信に切り替えた後に、当該ホームメニュー画像を配信する前と同一の前記アプリケーションの画像の配信に切り替えたとき、
前記1または複数のサーバは、前記ホームメニュー画像の配信前において前記配信端末が配信していた前記アプリケーションの画像がいずれの受信端末に対してフィルタされていたかを示すフィルタ情報に基づいて、前記複数の受信端末の各々に対して前記アプリケーションの画像の配信をフィルタする、請求項6に記載のシステム。
【請求項9】
情報処理システムを用いて、配信端末が実行中のアプリケーションの画像を、1または複数のサーバを介して複数の受信端末に配信する方法であって、
前記方法は、前記配信端末に対して、
実行中の前記アプリケーションの表示ポリシー情報を取得させるステップと、
前記表示ポリシー情報と前記画像とをサーバに送信させるステップと、
前記1または複数のサーバに対して、
前記複数の受信端末の各々に対して前記表示ポリシー情報を送信させる一方で前記画像の配信をフィルタさせるステップと、
前記複数の受信端末の各々に対して、
前記1または複数のサーバから取得した前記表示ポリシー情報に基づいて、前記画像を表示可能か否か判断させるステップと、
前記判断の判断結果を前記1または複数のサーバに送信させるステップと、
前記1または複数のサーバに対して、
前記複数の受信端末のうち、前記判断結果によって前記画像の表示が可能であることが示された受信端末の各々に対するフィルタを解除させるステップとを備える、方法。
【請求項10】
前記表示ポリシー情報は、年齢制限に関する情報を含み、
前記方法は、前記配信端末に対して、
前記アプリケーションから、当該アプリケーションに含まれる前記年齢制限に関する情報を取得させるステップをさらに備える、請求項9に記載の方法。
(【請求項11】以降は省略されています)
発明の詳細な説明
【技術分野】
【0001】
本開示は、システム、方法、およびプログラムに関する。
続きを表示(約 1,600 文字)
【背景技術】
【0002】
特許文献1(特開2017-4548号公報)には、情報処理端末を操作するユーザの年齢を取得し、取得した年齢が情報処理端末にて実行されるアプリケーションごとに予め設定されている対象年齢以上であるかを判断するシステムが開示されている。
【先行技術文献】
【特許文献】
【0003】
特開2017-4548号公報
【発明の概要】
【発明が解決しようとする課題】
【0004】
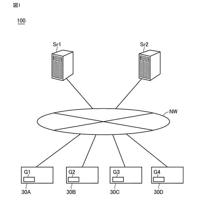
近年、通信技術の発達により、複数の情報処理端末の間で種々のデータの遣り取りを行わせるシステムが存在する。例えば、ある情報処理端末で実行中のアプリケーションの画像を、他の情報処理端末へとリアルタイムで配信する配信システムが存在する。このような配信システムにおいて、1つの配信端末で実行中のアプリケーションの画像が、複数の受信端末に対して配信される場合がある。
【0005】
アプリケーションには、該アプリケーションを情報処理端末に実行させてもよいか否かを示す条件が定められている場合がある。上述の配信システムでは、アプリケーションの実行主体となる配信端末のみならず、配信先となる複数の受信端末に対しても、その画像を表示してもよいかを判断する必要がある。
【課題を解決するための手段】
【0006】
(構成1)ある実施の形態に従うシステムは、情報処理システムであって、1または複数のサーバと、1または複数のサーバを介して実行中のアプリケーションの画像を配信する配信端末と、配信端末が配信する画像を受信する複数の受信端末と、を備える。配信端末は、実行中のアプリケーションの表示ポリシー情報を取得し、表示ポリシー情報と画像とを1または複数のサーバに送信し、1または複数のサーバは、複数の受信端末の各々に対して表示ポリシー情報を送信する一方で画像の配信をフィルタし、複数の受信端末の各々は、1または複数のサーバから取得した表示ポリシー情報に基づいて、画像を表示可能か否か判断し、判断の判断結果を1または複数のサーバに送信し、1または複数のサーバは、複数の受信端末のうち、判断結果によって画像の表示が可能であることが示された受信端末の各々に対するフィルタを解除する。
【0007】
(構成2)構成1において、表示ポリシー情報は、年齢制限に関する情報を含み、配信端末は、アプリケーションから、当該アプリケーションに含まれる年齢制限に関する情報を取得する。
【0008】
(構成3)構成2において、複数の受信端末の各々は、当該受信端末に関連付けられた1または複数のアカウントにそれぞれ関連付けられた年齢情報のうち最も若い年齢情報と1または複数のサーバから取得した表示ポリシー情報とに基づいて、画像を表示可能か否か判断する。
【0009】
(構成4)構成1~構成3のいずれかにおいて、表示ポリシー情報は、国に関する情報を含み、配信端末は、1または複数のサーバから、実行中のアプリケーションに対応する国に関する情報を取得する。
【0010】
(構成5)構成1~構成4のいずれかにおいて、実行中のアプリケーションを識別するためのアプリケーション識別情報を1または複数のサーバに送信し、1または複数のサーバは、表示ポリシー情報とともにアプリケーション識別情報を、複数の受信端末の各々に送信し、複数の受信端末の各々は、表示ポリシー情報に基づく判断の判断結果とともにアプリケーション識別情報を1または複数のサーバに送信し、1または複数のサーバは、判断結果によって画像の表示が可能であることが示された受信端末であって、当該受信端末から判断結果とともに受信したアプリケーション識別情報と配信端末から受信したアプリケーション識別情報とが一致している受信端末の各々に対するフィルタを解除する。
(【0011】以降は省略されています)
この特許をJ-PlatPat(特許庁公式サイト)で参照する
関連特許
任天堂株式会社
システム、方法、およびプログラム
2か月前
任天堂株式会社
システム、方法、およびプログラム
2か月前
任天堂株式会社
システム、プログラム、および方法
1か月前
任天堂株式会社
システム、方法、およびプログラム
1か月前
任天堂株式会社
プログラム、システム、および、方法
1か月前
任天堂株式会社
情報処理システム、プログラム、および方法
1か月前
任天堂株式会社
プログラム、情報処理システム、および情報処理方法
1か月前
任天堂株式会社
ゲームプログラム、ゲーム装置、およびゲーム処理方法
1か月前
任天堂株式会社
システム、送信端末、受信端末、方法、および、プログラム
1か月前
任天堂株式会社
情報処理システム、情報処理方法、端末、およびプログラム
1か月前
任天堂株式会社
情報処理プログラム、情報処理システム、および情報処理方法
1か月前
任天堂株式会社
情報処理システム、情報処理プログラム、および情報処理方法
1か月前
任天堂株式会社
情報処理プログラム、情報処理システム、および情報処理方法
1か月前
任天堂株式会社
アタッチメント
1か月前
任天堂株式会社
情報処理システム、情報処理装置、配信方法、および、配信プログラム
1か月前
任天堂株式会社
ゲームプログラム、ゲーム処理方法、ゲームシステム、およびゲーム装置
13日前
任天堂株式会社
周辺機器およびシステム
1か月前
任天堂株式会社
ゲームプログラム、ゲームシステム、ゲーム装置、およびゲーム処理方法
1か月前
任天堂株式会社
ゲーム進行補助システム、ゲーム進行補助プログラム、ゲーム進行補助方法、および娯楽施設
1か月前
任天堂株式会社
ゲームプログラム、ゲーム処理方法、およびシステム
6日前
任天堂株式会社
情報処理装置、情報処理方法、情報処理プログラム、および情報処理システム
1か月前
個人
イヤーピース
1か月前
個人
イヤーマフ
1か月前
個人
監視カメラシステム
1か月前
キーコム株式会社
光伝送線路
1か月前
個人
スイッチシステム
1か月前
サクサ株式会社
中継装置
2か月前
サクサ株式会社
中継装置
2か月前
WHISMR合同会社
収音装置
3か月前
個人
スキャン式車載用撮像装置
1か月前
アイホン株式会社
電気機器
2か月前
キヤノン株式会社
撮像装置
13日前
キヤノン株式会社
撮像装置
6日前
キヤノン株式会社
撮像装置
6日前
キヤノン株式会社
撮像装置
3か月前
キヤノン株式会社
撮像装置
6日前
続きを見る
他の特許を見る