TOP
|
特許
|
意匠
|
商標
特許ウォッチ
Twitter
他の特許を見る
10個以上の画像は省略されています。
公開番号
2025168177
公報種別
公開特許公報(A)
公開日
2025-11-07
出願番号
2024134353
出願日
2024-08-09
発明の名称
情報処理システム、プログラム、および方法
出願人
任天堂株式会社
代理人
弁理士法人深見特許事務所
,
個人
主分類
H04L
51/52 20220101AFI20251030BHJP(電気通信技術)
要約
【課題】音声やカメラを用いたコミュニケーション機能が汎用的になっているところ、誰でも無制限に各種サービスを利用できると不適切な利用がなされる場合があった。
【解決手段】あるアカウントに対する承認者アカウントを設定する承認者設定部と、互いに対して所定の機能を実行可能なフレンド関係に設定するフレンド設定部と、第1アカウントとフレンド関係に設定されたアカウントのうちの第2アカウントを当該第1アカウントにとってのコミュニケーション許可フレンドに設定するための当該第1アカウントからの承認要求と、第2アカウントを第1アカウントに対するコミュニケーション許可フレンドに設定するコミュニケーション許可フレンド設定部と、コミュニケーション許可フレンドであるアカウントとのコミュニケーションを行わせるコミュニケーション実行部とを備える。
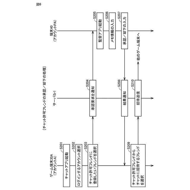
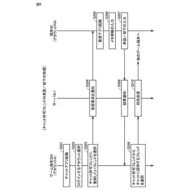
【選択図】図6
特許請求の範囲
【請求項1】
あるアカウントに対する承認者アカウントを設定する承認者設定部と、
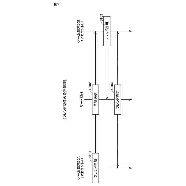
あるアカウントからの他のアカウントに対する申請と、当該他のアカウントによる当該申請の許諾とに応じて、前記承認者アカウントによる承認無しに、前記あるアカウントおよび前記他のアカウントを、互いに対して所定の機能を実行可能なフレンド関係に設定するフレンド設定部と、
前記承認者アカウントが設定された第1アカウントからの、前記第1アカウントとフレンド関係に設定されたアカウントのうちの第2アカウントを当該第1アカウントにとってのコミュニケーション許可フレンドに設定するための当該第1アカウントからの承認要求と、前記第1アカウントに対して設定された前記承認者アカウントによる、前記承認要求に対する承認とに基づいて、前記第2アカウントを前記第1アカウントに対するコミュニケーション許可フレンドに設定するコミュニケーション許可フレンド設定部と、
前記第1アカウントが関連付けられた端末に、前記コミュニケーション許可フレンドであるアカウントが関連付けられた端末との音声を伴うコミュニケーションを行わせるコミュニケーション実行部と、を備える、情報処理システム。
続きを表示(約 1,900 文字)
【請求項2】
前記情報処理システムは、前記承認者アカウントにより入力された前記コミュニケーション許可フレンドに対する情報を、少なくとも前記承認者アカウントは閲覧可能であって、前記第1アカウントは閲覧可能ではない態様で、保存する保存部をさらに備える、請求項1に記載の情報処理システム。
【請求項3】
前記保存部は、前記コミュニケーション許可フレンドのアイコン画像または名前の変更にかかわらず、前記承認者アカウントが当該コミュニケーション許可フレンドであるアカウントに関連付けられた前記情報を閲覧可能である態様で保存する、請求項2に記載の情報処理システム。
【請求項4】
前記第1アカウントが現在前記音声を伴うコミュニケーションをしている他のアカウントを、前記承認者アカウントにより入力された当該他のアカウントに関する前記情報とともに前記承認者アカウントが関連付けられた端末に表示させる、請求項2に記載の情報処理システム。
【請求項5】
前記第1アカウントにとっての前記コミュニケーション許可フレンドに設定するための承認要求が前記承認者アカウントによって過去に許可されなかった第3アカウントを、前記第1アカウントにとっての前記コミュニケーション許可フレンドに設定するための承認要求が再度なされた場合、
前記承認者アカウントに関連付けられた端末に、当該第3アカウントは過去に承認要求が承認されなかったことを表示させる、請求項1に記載の情報処理システム。
【請求項6】
前記第1アカウントが参加する前記音声を伴うコミュニケーションごとに前記第1アカウントから送信される、カメラ映像をコミュニケーション相手のアカウントが関連付けられた端末に表示させるためのカメラ利用承認要求と、前記第1アカウントに対して設定された前記承認者アカウントによる、当該カメラ利用承認要求に対する承認とに基づいて、
承認された前記カメラ利用承認要求に対応する前記音声を伴うコミュニケーション中における、前記第1アカウントに対応するカメラ映像の、他のアカウントが関連付けられた端末での表示を可能にする、カメラ映像通信部をさらに有する、請求項1に記載の情報処理システム。
【請求項7】
前記第1アカウントが参加する前記音声を伴うコミュニケーションごとに前記第1アカウントが受信する、前記第1アカウントが関連付けられた端末において他のアカウントに対応するカメラ映像を表示するためのカメラ利用承認要求と、前記第1アカウントに対して設定された前記承認者アカウントによる、当該カメラ利用承認要求に対する承認とに基づいて、
承認された前記カメラ利用承認要求に対応する前記音声を伴うコミュニケーション中における、他のアカウントが関連付けられた端末から送信されたカメラ映像の、前記第1アカウントが関連付けられた端末での表示を可能にする、カメラ映像通信部をさらに有する、請求項1に記載の情報処理システム。
【請求項8】
前記第1アカウントが参加する前記音声を伴うコミュニケーションごとに前記第1アカウントと前記他のアカウントとの間のカメラ映像の表示を行うための承認要求と、前記第1アカウントに対して設定された前記承認者アカウントによる、前記カメラ映像の送受信を行うための承認要求に対する承認とに基づいて、
承認された前記承認要求に対応する前記音声を伴うコミュニケーション中における前記第1アカウントが関連付けられた端末と前記他のアカウントが関連付けられた端末との間におけるカメラ映像の表示を可能にする、カメラ映像通信部をさらに有する、請求項1に記載の情報処理システム。
【請求項9】
前記カメラ映像通信部は、前記承認者アカウントに、前記第1アカウントに関連付けられた端末が参加する前記音声を伴うコミュニケーションにおいて前記第1アカウントが関連付けられた端末によって送信されるカメラ映像の、当該コミュニケーションに参加する前記他のアカウントが関連付けられた他の端末における表示態様を設定可能とさせる、請求項6に記載の情報処理システム。
【請求項10】
前記カメラ映像通信部は、前記承認者アカウントに、複数のレベルのカメラ映像の表示態様を設定可能とさせ、前記第1アカウントに、前記承認者アカウントによって設定されたレベル以下のレベルのカメラ映像の表示態様を選択可能とさせ、前記他の端末に選択された表示態様でカメラ映像を表示させる、請求項9に記載の情報処理システム。
(【請求項11】以降は省略されています)
発明の詳細な説明
【技術分野】
【0001】
本開示は、システム、プログラム、および方法に関する。
続きを表示(約 1,800 文字)
【背景技術】
【0002】
特許文献1(特開2015-072559号公報)には、ゲームシステムにおいて、アカウント同士の間でフレンド関係が設定される条件として監督者の承認が必要であることが開示されている。フレンド同士のアカウントは各種サービスの提供を受けることができる。
【先行技術文献】
【特許文献】
【0003】
特開2015-072559号公報
【発明の概要】
【発明が解決しようとする課題】
【0004】
フレンドとなるために承認を必要とすると、円滑なフレンド関係の構築が難しくなるおそれがある。一方で、音声やカメラを用いたコミュニケーション機能が汎用的になっているところ、誰でも無制限に各種サービスを利用できると不適切な利用がなされるおそれがある。
【課題を解決するための手段】
【0005】
(構成1)ある実施の形態に従うシステムは、あるアカウントに対する承認者アカウントを設定する承認者設定部と、あるアカウントからの他のアカウントに対する申請と、当該他のアカウントによる当該申請の許諾とに応じて、承認者アカウントによる承認無しに、あるアカウントおよび他のアカウントを、互いに対して所定の機能を実行可能なフレンド関係に設定するフレンド設定部と、承認者アカウントが設定された第1アカウントからの、第1アカウントとフレンド関係に設定されたアカウントのうちの第2アカウントを当該第1アカウントにとってのコミュニケーション許可フレンドに設定するための当該第1アカウントからの承認要求と、第1アカウントに対して設定された承認者アカウントによる、承認要求に対する承認とに基づいて、第2アカウントを第1アカウントに対するコミュニケーション許可フレンドに設定するコミュニケーション許可フレンド設定部と、
第1アカウントが関連付けられた端末に、コミュニケーション許可フレンドであるアカウントが関連付けられた端末との音声を伴うコミュニケーションを行わせるコミュニケーション実行部と、を備える。
【0006】
(構成2)構成1において、情報処理システムは、承認者アカウントにより入力されたコミュニケーション許可フレンドに対する情報を、少なくとも承認者アカウントは閲覧可能であって、第1アカウントは閲覧可能ではない態様で、保存する保存部をさらに備える。
【0007】
(構成3)構成2において、保存部は、コミュニケーション許可フレンドのアイコン画像または名前の変更にかかわらず、承認者アカウントが当該コミュニケーション許可フレンドであるアカウントに関連付けられた情報を閲覧可能である態様で保存する。
【0008】
(構成4)構成2において、第1アカウントが現在、音声を伴うコミュニケーションをしている他のアカウントを、前記承認者アカウントにより入力された当該他のアカウントに関する情報ともに承認者アカウントが関連付けられた端末に表示させる。
【0009】
(構成5)構成1~構成4のいずれかにおいて、第1アカウントにとってのコミュニケーション許可フレンドに設定するための承認要求が承認者アカウントによって過去に許可されなかった第3アカウントを、第1アカウントにとってのコミュニケーション許可フレンドに設定するための承認要求が再度なされた場合、承認者アカウントに関連付けられた端末に、当該第3アカウントは過去に承認要求が承認されなかったことを表示させる。
【0010】
(構成6)構成1~構成4のいずれかにおいて、第1アカウントが参加する音声を伴うコミュニケーションごとに第1アカウントから送信される、カメラ映像をコミュニケーション相手のアカウントが関連付けられた端末に表示させるためのカメラ利用承認要求と、第1アカウントに対して設定された承認者アカウントによる、当該カメラ利用承認要求に対する承認とに基づいて、承認されたカメラ利用承認要求に対応する音声を伴うコミュニケーション中における、第1アカウントに対応するカメラ映像の、他のアカウントが関連付けられた端末での表示を可能にする、カメラ映像通信部をさらに有する。
(【0011】以降は省略されています)
この特許をJ-PlatPat(特許庁公式サイト)で参照する
関連特許
任天堂株式会社
システム、方法、およびプログラム
1か月前
任天堂株式会社
システム、方法、およびプログラム
14日前
任天堂株式会社
システム、方法、およびプログラム
1か月前
任天堂株式会社
システム、プログラム、および方法
14日前
任天堂株式会社
プログラム、システム、および、方法
24日前
任天堂株式会社
情報処理システム、プログラム、および方法
14日前
任天堂株式会社
プログラム、情報処理システム、および情報処理方法
29日前
任天堂株式会社
ゲームプログラム、ゲーム装置、およびゲーム処理方法
16日前
任天堂株式会社
情報処理システム、情報処理方法、端末、およびプログラム
25日前
任天堂株式会社
システム、送信端末、受信端末、方法、および、プログラム
25日前
任天堂株式会社
情報処理システム、情報処理プログラム、および情報処理方法
1か月前
任天堂株式会社
情報処理プログラム、情報処理システム、および情報処理方法
14日前
任天堂株式会社
情報処理プログラム、情報処理システム、および情報処理方法
29日前
任天堂株式会社
アタッチメント
16日前
任天堂株式会社
情報処理システム、情報処理装置、配信方法、および、配信プログラム
25日前
任天堂株式会社
周辺機器およびシステム
1か月前
任天堂株式会社
ゲームプログラム、ゲームシステム、ゲーム装置、およびゲーム処理方法
1か月前
任天堂株式会社
ゲーム進行補助システム、ゲーム進行補助プログラム、ゲーム進行補助方法、および娯楽施設
1か月前
任天堂株式会社
情報処理装置、情報処理方法、情報処理プログラム、および情報処理システム
1か月前
個人
イヤーピース
14日前
個人
イヤーマフ
28日前
個人
監視カメラシステム
1か月前
キーコム株式会社
光伝送線路
1か月前
個人
スイッチシステム
22日前
サクサ株式会社
中継装置
1か月前
サクサ株式会社
中継装置
1か月前
個人
スキャン式車載用撮像装置
1か月前
キヤノン電子株式会社
画像読取装置
22日前
サクサ株式会社
無線システム
1か月前
株式会社リコー
画像形成装置
1か月前
ヤマハ株式会社
放音制御装置
22日前
個人
ワイヤレスイヤホン対応耳掛け
2か月前
キヤノン電子株式会社
画像読取装置
14日前
サクサ株式会社
無線通信装置
1か月前
キヤノン電子株式会社
画像読取装置
1か月前
サクサ株式会社
無線通信装置
1か月前
続きを見る
他の特許を見る