TOP
|
特許
|
意匠
|
商標
特許ウォッチ
Twitter
他の特許を見る
10個以上の画像は省略されています。
公開番号
2025162493
公報種別
公開特許公報(A)
公開日
2025-10-27
出願番号
2024108751
出願日
2024-07-05
発明の名称
情報処理システム、情報処理装置、配信方法、および、配信プログラム
出願人
任天堂株式会社
代理人
弁理士法人深見特許事務所
,
個人
主分類
G09G
5/377 20060101AFI20251020BHJP(教育;暗号方法;表示;広告;シール)
要約
【課題】カメラから取得される人物の画像を配信先においてフレキシブルに利用できる仕組みが提供される。
【解決手段】情報処理システムは、実行中のゲームの画像データを含む第1データと、カメラから取得される撮像画像データおよび当該撮像画像データに含まれる人物の領域を示す領域データを含む第2データとを配信する配信端末と、配信端末から第1データおよび第2データを受信し、領域データに基づいて、撮像画像データのうちの人物の領域が配信端末で実行中のゲームの画像に重畳して表示される配信表示画像を生成する受信端末とを含む。
【選択図】図7
特許請求の範囲
【請求項1】
実行中のゲームの画像データを含む第1データと、カメラから取得される撮像画像データおよび当該撮像画像データに含まれる人物の領域を示す領域データを含む第2データとを配信する配信端末と、
前記配信端末から前記第1データおよび前記第2データを受信し、前記領域データに基づいて、前記撮像画像データのうちの前記人物の領域が前記配信端末で実行中のゲームの画像に重畳して表示される配信表示画像を生成する受信端末とを備える、情報処理システム。
続きを表示(約 1,300 文字)
【請求項2】
前記第2データにおいて、前記撮像画像データは第1圧縮方法によりデータ圧縮され、前記領域データは第1圧縮方法とは異なる第2圧縮方法によりデータ圧縮される、請求項1に記載の情報処理システム。
【請求項3】
前記第2圧縮方法は、前記第1圧縮方法に比較して、データの損失が少ない、請求項2に記載の情報処理システム。
【請求項4】
前記第1圧縮方法は、非可逆圧縮であり、
前記第2圧縮方法は、可逆圧縮である、請求項2に記載の情報処理システム。
【請求項5】
前記第2データは、H.264規格に従うストリームデータであり、
前記第2データは、前記撮像画像データを含む画像ストリームデータと、前記領域データを含む非画像ストリームデータとを含む、請求項1に記載の情報処理システム。
【請求項6】
前記画像ストリームデータの各々は、画像データが含まれることを示す制御情報と、1フレーム分の前記撮像画像データとを含むNALユニットであり、
前記非画像ストリームデータの各々は、非画像データが含まれることを示す制御情報と、1フレーム分の前記領域データとを含むNALユニットである、請求項5に記載の情報処理システム。
【請求項7】
前記受信端末は、前記第1データに含まれる前記領域データに基づいて、前記第1データに含まれる前記撮像画像データのうち前記人物の領域以外の領域を、重畳先の前記実行中のゲームの画像が優先して表示されるように設定する、請求項1~6のいずれか1項に記載の情報処理システム。
【請求項8】
前記領域データは、前記撮像画像データに含まれる人物の輪郭に基づいて生成される、請求項1~6のいずれか1項に記載の情報処理システム。
【請求項9】
1または複数の配信端末とネットワーク接続された情報処理装置であって、
前記配信端末は、前記配信端末で実行中のゲームの画像データを含む第1データと、カメラから取得される撮像画像データおよび当該撮像画像データに含まれる人物の領域を示す領域データを含む第2データとを配信し、
前記情報処理装置は、
前記配信端末から前記第1データおよび前記第2データを受信する受信部と、
前記領域データに基づいて、前記撮像画像データのうちの前記人物の領域が前記配信端末で実行中のゲームの画像に重畳して表示される配信表示画像を生成する生成部とを備える、情報処理装置。
【請求項10】
配信端末が、前記配信端末で実行中のゲームの画像データを含む第1データと、カメラから取得される撮像画像データおよび当該撮像画像データに含まれる人物の領域を示す領域データを含む第2データとを配信するステップと、
受信端末が、前記配信端末から前記第1データおよび前記第2データを受信するステップと、
前記受信端末が、前記第1データおよび前記第2データを受信し、前記領域データに基づいて、前記撮像画像データのうちの前記人物の領域が前記配信端末で実行中のゲームの画像に重畳して表示される配信表示画像を生成するステップとを備える、配信方法。
(【請求項11】以降は省略されています)
発明の詳細な説明
【技術分野】
【0001】
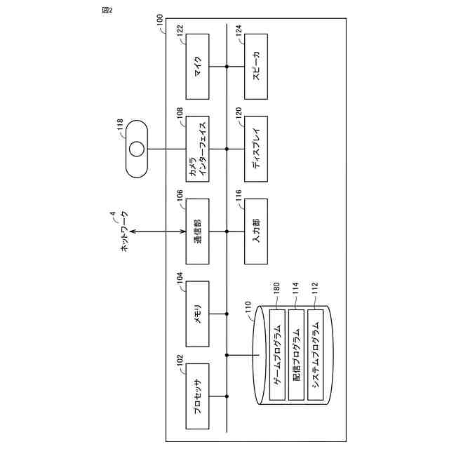
本開示は、情報処理システム、情報処理装置、配信方法、および、配信プログラムに関する。
続きを表示(約 1,500 文字)
【背景技術】
【0002】
カメラを備えたゲームシステムが公知である(例えば、特開2016-126042号公報(特許文献1))。
【先行技術文献】
【特許文献】
【0003】
特開2016-126042号公報
【発明の概要】
【発明が解決しようとする課題】
【0004】
本開示は、カメラから取得される人物の画像を配信先においてフレキシブルに利用できる仕組みを提供する。
【課題を解決するための手段】
【0005】
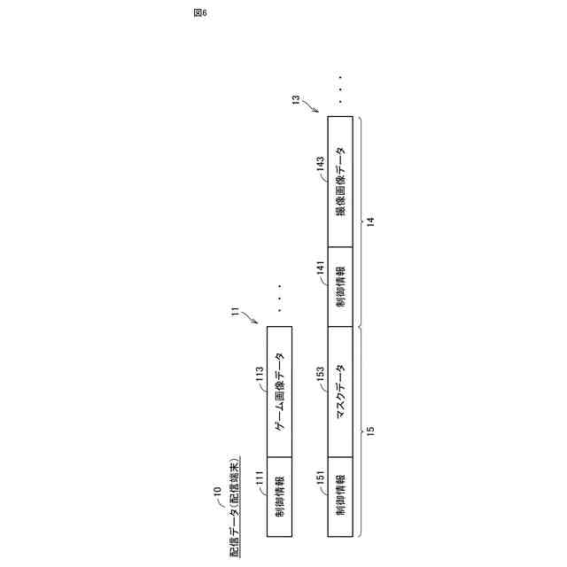
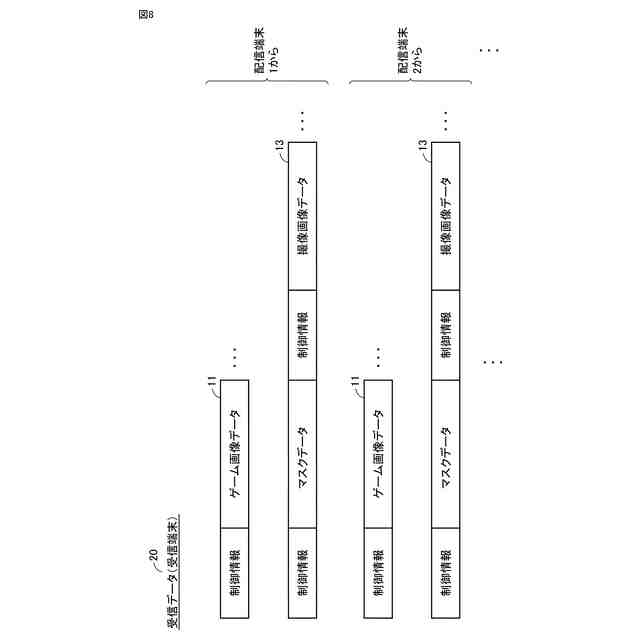
(構成1)ある実施の形態に従う情報処理システムは、実行中のゲームの画像データを含む第1データと、カメラから取得される撮像画像データおよび当該撮像画像データに含まれる人物の領域を示す領域データを含む第2データとを配信する配信端末と、配信端末から受信される第1データおよび第2データに基づいて、配信端末から第1データおよび第2データを受信し、領域データに基づいて、撮像画像データのうちの人物の領域が配信端末で実行中のゲームの画像に重畳して表示される配信表示画像を生成する受信端末とを含む。
【0006】
構成1によれば、例えば、受信端末において、配信端末で実行中のゲームの画像に、配信端末のカメラが撮像した画像のうちの人物の画像を重畳して表示することで、受信端末を利用するユーザは、画像を配信しているゲームのプレイヤを容易に認識できる。画像データを含む第1データ、ならびに、撮像画像データおよび領域データを含む第2データがそれぞれ独立して配信されるので、受信端末においては、画像データに基づくゲームの画像の生成処理、ならびに、撮像画像データおよび領域データに基づく人物の画像の生成処理などの取扱いを簡素化できる。
【0007】
(構成2)構成1において、第2データにおいて、撮像画像データは第1圧縮方法によりデータ圧縮され、領域データは第1圧縮方法とは異なる第2圧縮方法によりデータ圧縮されてもよい。構成2によれば、撮像画像データおよび領域データのそれぞれに適した圧縮方法が採用されることで、違和感のない人物の画像を生成できる。
【0008】
(構成3)構成1または2において、第2圧縮方法は、第1圧縮方法に比較して、データの損失が少なくてもよい。領域データは、データの損失による品質の影響が相対的に大きいが、撮像画像データは、データの損失による品質の影響が相対的に小さい。そのため、構成3によれば、生成される人物の画像の品質を維持しつつ、第2データのデータ量を効率的に低減できる。
【0009】
(構成4)構成2または3において、第1圧縮方法は、非可逆圧縮であってもよい。第2圧縮方法は、可逆圧縮であってもよい。領域データは、撮像画像データに比較してデータ量が少ない。領域データの圧縮方式として可逆圧縮を採用することで、人物の領域の誤差などによる違和感を生じさせることを抑制できる。
【0010】
(構成5)構成1~4のいずれかにおいて、第2データは、H.264規格に従うストリームデータであってもよい。第2データは、画像データを含む画像ストリームデータと、領域データを含む非画像ストリームデータとを含んでもよい。構成5によれば、画像データを含む画像ストリームデータおよび領域データを含む非画像ストリームデータが同一のストリームデータに含まれるので、画像データと領域データとの間の時間的なズレを低減できる。
(【0011】以降は省略されています)
この特許をJ-PlatPat(特許庁公式サイト)で参照する
関連特許
任天堂株式会社
射撃ゲームシステムおよび娯楽施設
1か月前
任天堂株式会社
システム、方法、およびプログラム
26日前
任天堂株式会社
システム、方法、およびプログラム
26日前
任天堂株式会社
システム、方法、およびプログラム
26日前
任天堂株式会社
プログラム、システム、および、方法
1日前
任天堂株式会社
システム、カメラ、デバイス、および、方法
27日前
任天堂株式会社
プログラム、情報処理システム、および情報処理方法
6日前
任天堂株式会社
情報処理システム、情報処理方法、端末、およびプログラム
2日前
任天堂株式会社
システム、送信端末、受信端末、方法、および、プログラム
2日前
任天堂株式会社
情報処理プログラム、情報処理システム、および情報処理方法
6日前
任天堂株式会社
情報処理方法、情報処理システム、および情報処理プログラム
29日前
任天堂株式会社
情報処理方法、情報処理システム、および情報処理プログラム
29日前
任天堂株式会社
情報処理システム、情報処理プログラム、および情報処理方法
13日前
任天堂株式会社
情報処理システム、情報処理装置、配信方法、および、配信プログラム
2日前
任天堂株式会社
周辺機器およびシステム
7日前
任天堂株式会社
ゲームプログラム、ゲームシステム、ゲーム装置、およびゲーム処理方法
8日前
任天堂株式会社
接続構造および取り付け構造
29日前
任天堂株式会社
ゲーム進行補助システム、ゲーム進行補助プログラム、ゲーム進行補助方法、および娯楽施設
13日前
任天堂株式会社
情報処理装置、情報処理方法、情報処理プログラム、および情報処理システム
12日前
個人
英語教材
7日前
個人
回転式カード学習具
1か月前
日本精機株式会社
表示装置
1か月前
日本精機株式会社
表示装置
2か月前
個人
計算用教具
1か月前
中国電力株式会社
標示旗
1か月前
日本精機株式会社
車両用表示装置
今日
日本精機株式会社
車両用表示装置
2か月前
日本精機株式会社
車両用センサ装置
1か月前
個人
モデルで薔薇の花嫁様を描く為
1か月前
個人
微細構造を模した理科学習教材
13日前
ニチレイマグネット株式会社
サイン器具
5日前
シャープ株式会社
表示装置
1か月前
株式会社一弘社
情報表示板
1か月前
個人
音楽教材
2か月前
株式会社ウメラボ
学習支援システム
26日前
株式会社ウメラボ
学習支援システム
20日前
続きを見る
他の特許を見る