TOP
|
特許
|
意匠
|
商標
特許ウォッチ
Twitter
他の特許を見る
公開番号
2025144694
公報種別
公開特許公報(A)
公開日
2025-10-03
出願番号
2024044499
出願日
2024-03-21
発明の名称
システム、方法、およびプログラム
出願人
任天堂株式会社
代理人
弁理士法人深見特許事務所
,
個人
主分類
A63F
13/352 20140101AFI20250926BHJP(スポーツ;ゲーム;娯楽)
要約
【課題】複数の物理サーバを有するシステムにおいて、サービスの提供を開始するまでに時間を要してしまったり、あるいは、既に提供済みのサービスを再度提供してしまったりする等の不都合が発生する可能性があった。
【解決手段】システムは、第1物理サーバを含み、第1ゲーム装置に対して第1サービスを提供する複数の物理サーバと、記憶部とを備える。第1物理サーバは、サーバ情報が記憶部に記憶されている場合において、確認要求に応じたサーバ情報に示されている物理サーバから、第1ゲーム装置に関するサービス状態情報を取得し、取得したサービス状態情報を用いて、第1サービスの提供をするための第1準備処理よりも処理負荷の小さい第2準備処理を実行する。
【選択図】図5
特許請求の範囲
【請求項1】
システムであって、
前記システムは、
第1物理サーバを含み、第1ゲーム装置に対して第1サービスを提供する複数の物理サーバと、
記憶部とを備え、
前記第1物理サーバは、
前記第1ゲーム装置に対して前記第1サービスの提供を開始するため、ネットワークを介して前記第1ゲーム装置と接続された場合において、前記複数の物理サーバのうちの1つの物理サーバを示すサーバ情報が前記第1ゲーム装置に関連付けられて前記記憶部に記憶されているかを確認する確認要求を行い、
前記確認要求に応じたサーバ情報が前記記憶部に記憶されていない場合において、
前記第1ゲーム装置に対して前記第1サービスの提供をするための第1準備処理を実行し、
前記第1物理サーバを示すサーバ情報を前記記憶部に記憶させ、
前記第1ゲーム装置に関するサービス状態情報を記憶し、
前記確認要求に応じたサーバ情報が前記記憶部に記憶されている場合において、
前記確認要求に応じたサーバ情報に示されている物理サーバから、前記第1ゲーム装置に関するサービス状態情報を取得し、
取得したサービス状態情報を用いて、前記第1サービスの提供をするための前記第1準備処理よりも処理負荷の小さい第2準備処理を実行し、
前記第1物理サーバを示すサーバ情報を前記記憶部に記憶させ、
前記第1ゲーム装置に関するサービス状態情報を記憶し、
前記第1ゲーム装置と前記第1物理サーバとの接続が切断された場合において、
所定期間内に前記複数の物理サーバのうちのいずれか1つの物理サーバからサービス状態情報の取得要求を受けたことに基づいて、当該取得要求を行った物理サーバに対して、サービス状態情報を送信し、
前記所定期間内に前記複数の物理サーバのうちのいずれの物理サーバからもサービス状態情報の取得要求を受けなかった場合、前記記憶部に、前記第1ゲーム装置に関連付けられた前記第1物理サーバを示すサーバ情報を破棄させる、システム。
続きを表示(約 3,100 文字)
【請求項2】
前記第1物理サーバは、サービス状態情報を送信する場合において当該サービス状態情報を送信した後、当該サービス状態情報を破棄する、請求項1に記載のシステム。
【請求項3】
前記第1物理サーバは、前記所定期間内に前記複数の物理サーバのうちのいずれの物理サーバからもサービス状態情報の取得要求を受けなかった場合、当該サービス状態情報を破棄する、請求項1に記載のシステム。
【請求項4】
サービス状態情報は、前記第1ゲーム装置に対して、通知すべき情報、および通知すべき情報の種類を示す情報である、請求項1に記載のシステム。
【請求項5】
前記複数の物理サーバは、前記第1サービスを第2ゲーム装置に提供し、
前記第2ゲーム装置は、
前記記憶部から前記第1ゲーム装置のプレゼンス情報を取得し、
取得した前記プレゼンス情報が第1状態のとき、前記第1ゲーム装置が前記ネットワークに接続中であり、かつ、前記第1ゲーム装置が使用中であることを表示し、
取得した前記プレゼンス情報が第2状態のとき、前記第1ゲーム装置が前記ネットワークから切断中であるか、または、前記第1ゲーム装置が使用中ではないことを表示し、
前記プレゼンス情報の状態は、
前記記憶部に前記第1ゲーム装置を示すサーバ情報が保存されているときであって、かつ、前記第1ゲーム装置が使用中であることが検出されたときに前記第1状態に更新され、
前記記憶部に前記第1ゲーム装置を示すサーバ情報が保存されていないとき、または、前記第1ゲーム装置が使用中でないことが検出されたときに前記第2状態に更新される、請求項1に記載のシステム。
【請求項6】
システムを用いてサービスを提供する方法であって、
前記システムは、
第1物理サーバを含み、第1ゲーム装置に対して第1サービスを提供する複数の物理サーバと、
記憶部とを備え、
前記方法は、前記第1物理サーバが、
前記第1ゲーム装置に対して前記第1サービスの提供を開始するため、前記第1物理サーバと前記第1ゲーム装置とがネットワークを介して接続された場合において、前記複数の物理サーバのうちの1つの物理サーバを示すサーバ情報が前記第1ゲーム装置に関連付けられて前記記憶部に記憶されているかを確認する確認要求を行うステップと、
前記確認要求に応じたサーバ情報が前記記憶部に記憶されていない場合において、
前記第1ゲーム装置に対して前記第1サービスの提供をするための第1準備処理を実行するステップと、
前記第1物理サーバを示すサーバ情報を前記記憶部に記憶させるステップと、
前記第1ゲーム装置に関するサービス状態情報を記憶するステップと、
前記確認要求に応じたサーバ情報が前記記憶部に記憶されている場合において、
前記確認要求に応じたサーバ情報に示されている物理サーバから、前記第1ゲーム装置に関するサービス状態情報を取得するステップと、
取得したサービス状態情報を用いて、前記第1サービスの提供をするための前記第1準備処理よりも処理負荷の小さい第2準備処理を実行するステップと、
前記第1物理サーバを示すサーバ情報を前記記憶部に記憶させるステップと、
前記第1ゲーム装置に関するサービス状態情報を記憶するステップと、
前記第1ゲーム装置と前記第1物理サーバとの接続が切断された場合において、
所定期間内に前記複数の物理サーバのうちのいずれか1つの物理サーバからサービス状態情報の取得要求を受けたことに基づいて、当該取得要求を行った物理サーバに対して、サービス状態情報を送信するステップと、
前記所定期間内に前記複数の物理サーバのうちのいずれの物理サーバからもサービス状態情報の取得要求を受けなかった場合、前記記憶部に、前記第1ゲーム装置に関連付けられた前記第1物理サーバを示すサーバ情報を破棄させるステップとを備える、方法。
【請求項7】
前記サービス状態情報を送信するステップにてサービス状態情報を送信した後、前記第1物理サーバが当該サービス状態情報を破棄するステップをさらに備える、請求項6に記載の方法。
【請求項8】
前記所定期間内に前記複数の物理サーバのうちのいずれの物理サーバからもサービス状態情報の取得要求を受けなかった場合、前記第1物理サーバが当該サービス状態情報を破棄するステップをさらに備える、請求項6に記載の方法。
【請求項9】
サービス状態情報は、前記第1ゲーム装置に対して、通知すべき情報、および通知すべき情報の種類である、請求項6に記載の方法。
【請求項10】
システムを用いてサービスを提供するプログラムであって、
前記システムは、
第1ゲーム装置に対して第1サービスを提供する複数の物理サーバと、
記憶部とを備え、
前記複数の物理サーバは、1または複数のプロセッサを有する第1物理サーバを含み、
前記プログラムは、前記1または複数のプロセッサに、
前記第1ゲーム装置に対して前記第1サービスの提供を開始するため、前記複数の物理サーバに含まれる第1物理サーバと前記第1ゲーム装置とがネットワークを介して接続された場合において、前記複数の物理サーバのうちの1つの物理サーバを示すサーバ情報が前記第1ゲーム装置に関連付けられて前記記憶部に記憶されているかを確認する確認要求を行わせるステップと、
前記確認要求に応じたサーバ情報が前記記憶部に記憶されていない場合において、
前記第1ゲーム装置に対して前記第1サービスの提供をするための第1準備処理を実行させるステップと、
前記第1物理サーバを示すサーバ情報を前記記憶部に記憶させるステップと、
前記第1ゲーム装置に関するサービス状態情報を前記第1物理サーバに記憶させるステップと、
前記確認要求に応じたサーバ情報が前記記憶部に記憶されている場合において、
前記確認要求に応じたサーバ情報に示されている物理サーバから、前記第1ゲーム装置に関するサービス状態情報を取得するステップと、
取得したサービス状態情報を用いて、前記第1サービスの提供をするための前記第1準備処理よりも処理負荷の小さい第2準備処理を、前記第1物理サーバに実行させるステップと、
前記第1物理サーバを示すサーバ情報を前記記憶部に記憶させるステップと、
前記第1ゲーム装置に関するサービス状態情報を記憶させるステップと、
前記第1ゲーム装置と前記第1物理サーバとの接続が切断された場合において、
所定期間内に前記複数の物理サーバのうちのいずれか1つの物理サーバからサービス状態情報の取得要求を受けたことに基づいて、当該取得要求を行った物理サーバに対して、サービス状態情報を送信するステップと、
前記所定期間内に前記複数の物理サーバのうちのいずれの物理サーバからもサービス状態情報の取得要求を受けなかった場合、前記記憶部に、前記第1ゲーム装置に関連付けられた前記第1物理サーバを示すサーバ情報を破棄させるステップとを実行させる、プログラム。
(【請求項11】以降は省略されています)
発明の詳細な説明
【技術分野】
【0001】
本開示は、システム、方法、およびプログラムに関する。
続きを表示(約 2,200 文字)
【背景技術】
【0002】
特許文献1(特開2014-102568号公報)には、ゲーム装置に対して特定のサービスを提供するため、複数の物理サーバが設けられているシステムが開示されている。ゲーム装置は、当該特定のサービスを利用するために複数の物理サーバのうちの1つの物理サーバと接続される。
【先行技術文献】
【特許文献】
【0003】
特開2014-102568号公報
【発明の概要】
【発明が解決しようとする課題】
【0004】
複数の物理サーバのうち、ゲーム装置と接続された物理サーバは、ゲーム装置との接続が確立されたときに当該ゲーム装置に関する情報を取得する。物理サーバは、取得したゲーム装置に関する情報を用いて、特定のサービスの提供を開始する。サービス提供中において、物理サーバとゲーム装置との間の接続は、種々の理由で切断され得る。接続が切断された後、ゲーム装置がサービスの利用を再度要求する場合、ゲーム装置は、複数の物理サーバのうちのいずれか1つに対して接続を試みる。
【0005】
このとき、ゲーム装置は、切断前に接続されていた物理サーバと異なる物理サーバに新たに接続される場合がある。切断前に接続されていた物理サーバと異なる物理サーバは、当該ゲーム装置に関する情報を有していない。そのため、切断前に接続されていた物理サーバと異なる物理サーバは、特定のサービスの提供を開始するために、当該ゲーム装置との接続が確立されたとき、新たに接続されたゲーム装置に関する情報を取得する必要がある。そのため、新しくゲーム装置と接続された物理サーバは、サービスの提供を開始するまでに時間を要してしまったり、あるいは、既に提供済みのサービスを再度提供してしまったりする等の不都合が発生し得る。
【課題を解決するための手段】
【0006】
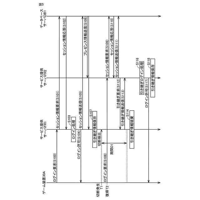
(構成1)ある実施の形態に従うシステムは、第1物理サーバを含み、第1ゲーム装置に対して第1サービスを提供する複数の物理サーバと、記憶部とを備える。第1物理サーバは、第1ゲーム装置に対して第1サービスの提供を開始するため、ネットワークを介して第1ゲーム装置と接続された場合において、複数の物理サーバのうちの1つの物理サーバを示すサーバ情報が第1ゲーム装置に関連付けられて記憶部に記憶されているかを確認する確認要求を行い、確認要求に応じたサーバ情報が記憶部に記憶されていない場合において、第1ゲーム装置に対して第1サービスの提供をするための第1準備処理を実行し、第1物理サーバを示すサーバ情報を記憶部に記憶させ、第1ゲーム装置に関するサービス状態情報を記憶し、確認要求に応じたサーバ情報が記憶部に記憶されている場合において、確認要求に応じたサーバ情報に示されている物理サーバから、第1ゲーム装置に関するサービス状態情報を取得し、取得したサービス状態情報を用いて、第1サービスの提供をするための第1準備処理よりも処理負荷の小さい第2準備処理を実行し、第1物理サーバを示すサーバ情報を記憶部に記憶させ、第1ゲーム装置に関するサービス状態情報を記憶し、第1ゲーム装置と第1物理サーバとの接続が切断された場合において、所定期間内に複数の物理サーバのうちのいずれか1つの物理サーバからサービス状態情報の取得要求を受けたことに基づいて、当該取得要求を行った物理サーバに対して、サービス状態情報を送信し、所定期間内に複数の物理サーバのうちのいずれの物理サーバからもサービス状態情報の要求を受けなかった場合、記憶部に、第1ゲーム装置に関連付けられた第1物理サーバを示すサーバ情報を破棄させる。
【0007】
(構成2)構成1において、第1物理サーバは、サービス状態情報を送信する場合にてサービス状態情報を送信した後、当該サービス状態情報を破棄する。
【0008】
(構成3)構成1において、第1物理サーバは、所定期間内に複数の物理サーバのうちのいずれの物理サーバからもサービス状態情報の取得要求を受けなかった場合、当該サービス状態情報を破棄する。
【0009】
(構成4)構成1において、サービス状態情報は、第1ゲーム装置に対して、通知すべき情報、および通知すべき情報の種類を示す情報である。
【0010】
(構成5)構成1において、複数の物理サーバは、第1サービスを第2ゲーム装置に提供し、第2ゲーム装置は、記憶部から第1ゲーム装置のプレゼンス情報を取得し、取得したプレゼンス情報が第1状態のとき、第1ゲーム装置がネットワークに接続中であり、かつ、前記第1ゲーム装置が使用中であることを表示し、取得したプレゼンス情報が第2状態のとき、第1ゲーム装置がネットワークから切断中であるか、または、前記第1ゲーム装置が使用中ではないことを表示し、プレゼンス情報の状態は、記憶部に第1ゲーム装置を示すサーバ情報が保存されているときであって、かつ、前記第1ゲーム装置が使用中であることが検出されたときに第1状態に更新され、記憶部に第1ゲーム装置を示すサーバ情報が保存されていないとき、または、前記第1ゲーム装置が使用中でないことが検出されたときに第2状態に更新される。
(【0011】以降は省略されています)
この特許をJ-PlatPat(特許庁公式サイト)で参照する
関連特許
任天堂株式会社
システム、方法、およびプログラム
2日前
任天堂株式会社
システム、方法、およびプログラム
2日前
任天堂株式会社
システム、方法、およびプログラム
2日前
任天堂株式会社
射撃ゲームシステムおよび娯楽施設
6日前
任天堂株式会社
システム、カメラ、デバイス、および、方法
3日前
任天堂株式会社
情報処理方法、情報処理システム、および情報処理プログラム
5日前
任天堂株式会社
情報処理方法、情報処理システム、および情報処理プログラム
5日前
任天堂株式会社
アタッチメント
10日前
任天堂株式会社
ゲームコントローラ
1か月前
任天堂株式会社
接続構造および取り付け構造
5日前
任天堂株式会社
情報処理システム、情報処理プログラム、情報処理方法、および情報処理装置
25日前
任天堂株式会社
通信プログラム、通信端末および方法
16日前
任天堂株式会社
ゲームプログラム、ゲームシステム、およびゲーム処理方法
1か月前
任天堂株式会社
ゲームコントローラ、ゲームコントローラセットおよびシステム
10日前
個人
玩具
23日前
個人
玩具
3か月前
個人
自走玩具
16日前
個人
運動補助具
2か月前
個人
フィギュア
8か月前
個人
玩具
8か月前
個人
ゲーム玩具
4か月前
個人
盤上遊戯具
8か月前
株式会社三共
遊技機
5か月前
株式会社三共
遊技機
5か月前
株式会社三共
遊技機
5か月前
株式会社三共
遊技機
5か月前
株式会社三共
遊技機
5か月前
株式会社三共
遊技機
5か月前
株式会社三共
遊技機
5か月前
株式会社三共
遊技機
5か月前
株式会社三共
遊技機
5か月前
株式会社三共
遊技機
5か月前
株式会社三共
遊技機
5か月前
株式会社三共
遊技機
5か月前
株式会社三共
遊技機
5か月前
株式会社三共
遊技機
6か月前
続きを見る
他の特許を見る