TOP
|
特許
|
意匠
|
商標
特許ウォッチ
Twitter
他の特許を見る
公開番号
2025143964
公報種別
公開特許公報(A)
公開日
2025-10-02
出願番号
2024043501
出願日
2024-03-19
発明の名称
システム、カメラ、デバイス、および、方法
出願人
任天堂株式会社
代理人
弁理士法人深見特許事務所
,
個人
主分類
H04N
7/18 20060101AFI20250925BHJP(電気通信技術)
要約
【課題】1つのカメラで撮像される画像中の異なる領域を同時に表示したいというニーズに対する新たなソリューションが提供される。
【解決手段】システムは、デバイスと、デバイスと有線または無線で接続されたカメラとを含む。デバイスは、第1領域に対応する画像データをカメラに送信させるための第1要求と、第2領域に対応する画像データをカメラに送信させるための第2要求とを、交互に切り替えてカメラに送信する。カメラは、第1要求に従って、全体画像データから第1領域に対応する第1画像データを生成し、第1画像データを含む第1データをデバイスに送信し、第2要求に従って、全体画像データから第2領域に対応する第2画像データを生成し、第2画像データを含む第2データをデバイスに送信する。デバイスは、第1画像データに基づく第1画像と、第2画像データに基づく第2画像とを含む合成画像を出力する。
【選択図】図2
特許請求の範囲
【請求項1】
システムであって、
デバイスと、
前記デバイスと有線または無線で接続されたカメラとを備え、
前記デバイスは、前記カメラの撮像領域のうちの第1領域に対応する画像データを前記カメラに送信させるための第1要求と、前記撮像領域のうちの第2領域に対応する画像データを前記カメラに送信させるための第2要求とを、交互に切り替えて前記カメラに送信し、
前記カメラは、
前記第1要求に従って、前記撮像領域に対応する全体画像データから前記第1領域に対応する第1画像データを生成し、前記第1画像データを含む第1データを前記デバイスに送信し、
前記第2要求に従って、前記全体画像データから前記第2領域に対応する第2画像データを生成し、前記第2画像データを含む第2データを前記デバイスに送信し、
前記デバイスは、受信した前記第1データに含まれる前記第1画像データに基づく第1画像と、受信した前記第2データに含まれる前記第2画像データに基づく第2画像とを含む合成画像を出力する、システム。
続きを表示(約 1,200 文字)
【請求項2】
前記第1要求は第1識別情報を含み、前記第1データは前記第1識別情報に対応する第2識別情報を含み、
前記デバイスは、
受信した前記第1データが前記第2識別情報を含むことに基づいて、前記第1画像を前記合成画像中の第1位置に配置し、
受信した前記第2データが前記第2識別情報を含まないことに基づいて、前記第2画像を前記合成画像中の第2位置に配置する、請求項1に記載のシステム。
【請求項3】
前記第1要求は第1識別情報を含み、前記第1データは前記第1識別情報に対応する第2識別情報を含み、
前記第2要求は前記第1識別情報とは異なる第3識別情報を含み、前記第2データは前記第3識別情報に対応する、前記第2識別情報と異なる第4識別情報を含み、
前記デバイスは、受信した前記第2データが前記第4識別情報を含むことに基づいて、前記第2画像を前記合成画像中の第2位置に配置する、請求項1に記載のシステム。
【請求項4】
前記第1識別情報および前記第3識別情報は、前記撮像領域のうちのいずれの領域に対応する画像データを前記カメラに送信させるかとは無関係に設定される、請求項3に記載のシステム。
【請求項5】
前記第1識別情報および前記第3識別情報は、2値のうちのいずれか一方である、請求項3に記載のシステム。
【請求項6】
前記第1識別情報は、UVC(USB Video Class)規格に定義されるヘッダに格納される、請求項2~5のいずれか1項に記載のシステム。
【請求項7】
前記第1識別情報は、前記第1画像データ内に格納される、請求項2~5のいずれか1項に記載のシステム。
【請求項8】
前記第1画像データのうち、前記第1領域における縁の画像に対応するデータに格納される、請求項7に記載のシステム。
【請求項9】
前記第1要求は、前記カメラに送信させるデータに含まれる画像データを前記撮像領域のうちの前記第1領域に対応する画像データに設定するための要求を含み、
前記第2要求は、前記カメラに送信させるデータに含まれる画像データを前記撮像領域のうちの前記第2領域に対応する画像データに設定するための要求を含み、
前記カメラは、前記カメラに画像データを含むデータを送信させる要求である第3要求に応じて、設定された画像データを含むデータを送信する、請求項1~5のいずれか1項に記載のシステム。
【請求項10】
前記デバイスは、前記第1要求および前記第2要求を送信する前に、前記カメラに送信させる画像データの画像サイズを設定するための第4要求を送信し、
前記第1要求および前記第2要求は、前記画像サイズを変更する要求を含まない、請求項1~5のいずれか1項に記載のシステム。
(【請求項11】以降は省略されています)
発明の詳細な説明
【技術分野】
【0001】
本開示は、システム、カメラ、デバイス、および、方法に関する。
続きを表示(約 1,700 文字)
【背景技術】
【0002】
例えば、特開2012-84968号公報(特許文献1)
は、カメラ本体からモニタ装置へ画像データを送信する構成を開示する。
【先行技術文献】
【特許文献】
【0003】
特開2012-84968号公報
【発明の概要】
【発明が解決しようとする課題】
【0004】
1つのカメラで撮像される画像中の異なる領域の画像を同時に出力したいというニーズが存在する。本開示は、このようなニーズに対する新たなソリューションを提供する。
【課題を解決するための手段】
【0005】
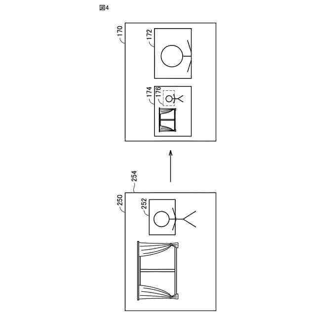
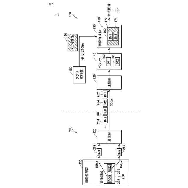
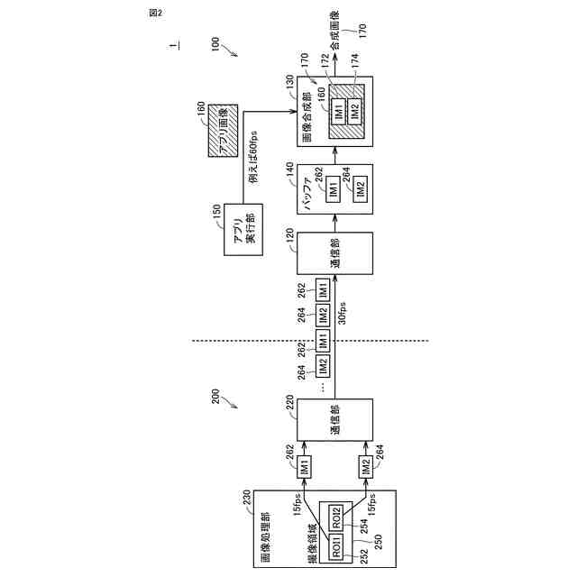
(構成1)ある実施の形態に従うシステムは、デバイスと、デバイスと有線または無線で接続されたカメラとを含む。デバイスは、カメラの撮像領域のうちの第1領域に対応する画像データをカメラに送信させるための第1要求と、撮像領域のうちの第2領域に対応する画像データをカメラに送信させるための第2要求とを、交互に切り替えてカメラに送信する。カメラは、第1要求に従って、撮像領域に対応する全体画像データから第1領域に対応する第1画像データを生成し、第1画像データを含む第1データをデバイスに送信し、第2要求に従って、全体画像データから第2領域に対応する第2画像データを生成し、第2画像データを含む第2データをデバイスに送信する。デバイスは、受信した第1データに含まれる第1画像データに基づく第1画像と、受信した第2データに含まれる第2画像データに基づく第2画像とを含む合成画像を出力する。
【0006】
構成1によれば、カメラは、第1要求に基づく第1領域に対応する第1画像データと、第2要求に基づく第2領域に対応する第2画像データとをデバイスに送信する。カメラからデバイスに送信されるデータは、合成画像の出力に不要な画像データを含まなくてすむので、送信されるデータ量を抑制しつつ、少なくとも2つの領域に対応する画像を含む合成画像を出力できる。
【0007】
例えば、カメラから全体画像データをデバイスに送信し、デバイスが全体画像データから合成画像に必要な画像データを抽出する処理を考えると、全体画像データのうち抽出されなかった領域の情報は不要となる。このような不要となり得る情報も含む全体画像データを送信することで、デバイス100とカメラ200との間の通信帯域を無駄に使用することになる。構成1においては、このような通信帯域の無駄を低減できる。
【0008】
(構成2)構成1において、第1要求は第1識別情報を含み、第1データは第1識別情報に対応する第2識別情報を含んでいてもよい。デバイスは、受信した第1データが第2識別情報を含むことに基づいて、第1画像を合成画像中の第1位置に配置し、受信した第2データが第2識別情報を含まないことに基づいて、第2画像を合成画像中の第2位置に配置してもよい。
【0009】
構成2によれば、デバイスは、カメラから受信した第1データに第2識別情報が含まれるか否かに基づいて、少なくとも第1画像データおよび第2画像データを判別して、合成画像において画像を出力すべき位置を決定できる。例えば、識別情報に代えて、領域設定の内容がデバイスに送信される場合には、2つの領域設定の内容が一致してしまうと、第1画像データと第2画像データとを判別できない可能性がある。これに対して、識別情報を用いることで、第1画像データと第2画像データとを確実に判別できる。
【0010】
(構成3)構成1または2において、第1要求は第1識別情報を含み、第1データは第1識別情報に対応する第2識別情報を含んでいてもよい。第2要求は第1識別情報とは異なる第3識別情報を含み、第2データは第3識別情報に対応する、第2識別情報と異なる第4識別情報を含んでいてもよい。デバイスは、受信した第2データが第4識別情報を含むことに基づいて、第2画像を合成画像中の第2位置に配置してもよい。
(【0011】以降は省略されています)
この特許をJ-PlatPat(特許庁公式サイト)で参照する
関連特許
個人
店内配信予約システム
2か月前
WHISMR合同会社
収音装置
24日前
サクサ株式会社
中継装置
2か月前
キヤノン株式会社
電子機器
2か月前
キヤノン株式会社
撮像装置
1か月前
アイホン株式会社
電気機器
18日前
キヤノン電子株式会社
モバイル装置
2か月前
株式会社リコー
画像形成装置
1か月前
株式会社リコー
画像形成装置
1か月前
日本精機株式会社
画像投映システム
3か月前
個人
ワイヤレスイヤホン対応耳掛け
16日前
キヤノン電子株式会社
画像読取装置
25日前
株式会社リコー
画像形成装置
1か月前
キヤノン株式会社
撮像システム
18日前
株式会社ニコン
撮像装置
2か月前
ブラザー工業株式会社
読取装置
1か月前
キヤノン電子株式会社
シート材搬送装置
1か月前
有限会社フィデリックス
マイクロフォン
2日前
株式会社JVCケンウッド
通信システム
2日前
パテントフレア株式会社
水中電波通信法
2か月前
DXO株式会社
情報処理システム
2か月前
株式会社松平商会
携帯機器カバー
27日前
株式会社小糸製作所
画像照射装置
1か月前
国立大学法人電気通信大学
小型光学装置
1か月前
沖電気工業株式会社
画像形成装置
6日前
パテントフレア株式会社
超高速電波通信
1か月前
大日本印刷株式会社
写真撮影装置
17日前
日本無線株式会社
無線通信システム
1か月前
株式会社大林組
監視システム
1か月前
日本無線株式会社
無線通信システム
10日前
株式会社JVCケンウッド
スピーカ
25日前
テックス通信株式会社
電話システム
3か月前
株式会社リコー
画像形成装置
1か月前
株式会社オーディオテクニカ
受光器
2か月前
日本無線株式会社
無線通信システム
1か月前
日本無線株式会社
無線通信システム
1か月前
続きを見る
他の特許を見る