TOP
|
特許
|
意匠
|
商標
特許ウォッチ
Twitter
他の特許を見る
10個以上の画像は省略されています。
公開番号
2025142030
公報種別
公開特許公報(A)
公開日
2025-09-29
出願番号
2025119086,2024139145
出願日
2025-07-15,2020-09-01
発明の名称
光源装置
出願人
日亜化学工業株式会社
代理人
個人
,
個人
,
個人
主分類
F21S
2/00 20160101AFI20250919BHJP(照明)
要約
【課題】 所望の照射領域を十分な光量で照射することができる光源装置を提供する。
【解決手段】 2以上の照射領域に光を照射するための光源装置であって、上面に発光面を有し、前記発光面から第1半値全角で光を出射し、個別点灯可能な複数の発光部と、複数の発光部の発光面を覆う第1レンズと、発光部それぞれに対応し、該発光部から出射された光が入射する複数の入射領域を含む、発光部の発光面側に位置する第1面、及び複数の入射領域のそれぞれに対応する複数の出射領域を含む、第1面と反対側に位置する第2面を備え、発光部の発光面の上方に位置する光学レンズと、を備え、光学レンズの第1面と第1レンズとの最短距離が0.1mm以上1.0mm以下であり、発光部のそれぞれから出射した光は、第1レンズを介して光学レンズに入射し、第1半値全角より小さい第2半値全角で第1レンズから出射する。
【選択図】図1
特許請求の範囲
【請求項1】
2以上の照射領域に光を照射するための光源装置であって、
上面に発光面を有し、前記発光面から第1半値全角で光を出射し、個別点灯可能な複数の発光部と、
前記複数の発光部の発光面を覆う第1レンズと、
前記発光部それぞれに対応し、該発光部から出射された光が入射する複数の入射領域を含む、前記発光部の発光面側に位置する第1面、及び前記複数の入射領域のそれぞれに対応する複数の出射領域を含む、前記第1面と反対側に位置する第2面を備え、前記発光部の発光面の上方に位置する光学レンズと、
を備え、
前記光学レンズの前記第1面と前記第1レンズとの最短距離が0.1mm以上1.0mm以下であり、
前記発光部のそれぞれから出射した光は、
前記第1レンズを介して前記光学レンズに入射し、
前記第1半値全角より小さい第2半値全角で前記第1レンズから出射する、光源装置。
続きを表示(約 1,200 文字)
【請求項2】
2以上の照射領域に光を照射するための光源装置であって、
上面に発光面を有し、前記発光面から第1半値全角で光を出射し、個別点灯可能な複数の発光部と、
前記複数の発光部の発光面を覆う第1レンズと、
複数の入射領域を含む第1面及び複数の出射領域を含む第2面を有し、前記発光部の発光面の上方に位置する光学レンズと、
を備え、
前記光学レンズの前記第1面と前記第1レンズとの最短距離が0.1mm以上1.0mm以下であり、
前記発光部のそれぞれから出射した光は、
前記第1レンズを介して前記光学レンズに入射し、
前記第1半値全角より小さい第2半値全角で前記第1レンズから出射する、光源装置。
【請求項3】
前記第1レンズは、前記複数の発光部の発光面を一括して覆い、前記光学レンズ側に少なくとも1つの凸状の面を有する、請求項1又は2に記載の光源装置。
【請求項4】
前記第1レンズは、前記発光部の発光面を一括して覆い、前記発光部毎に設けられた、単位第1レンズを含む、請求項1又は2に記載の光源装置。
【請求項5】
前記第1レンズは、前記発光部毎に分離して設けられた複数の単位第1レンズを含む、請求項1又は2に記載の光源装置。
【請求項6】
少なくとも1つの前記単位第1レンズの光軸は、前記光学レンズの光軸に対して角度γで傾斜している、請求項4又は5に記載の光源装置。
【請求項7】
前記複数の発光部は、マトリクス状に配列されており、
前記角度γは、
前記光学レンズの光軸から前記マトリクス状の隅部に配置された前記発光部の発光面の中心までの最短距離L(0<L)と、
前記光学レンズの光軸から前記傾斜するように設けられた光軸を有する単位第1レンズに覆われた前記発光部の発光面の中心までの最短距離x(0<x≦L)と、
前記複数の発光部の発光面が延在する平面と前記光学レンズの光軸との交点を中心点としたときの、該中心点と、前記照射領域を全て含む領域の対角に位置する2点のうちの1点と、を結ぶ直線、及び該中心点と該2点の他点とを結ぶ直線がなす角度α(0°<α<180°)と、
を用いて、
TIFF
2025142030000005.tif
12
77
と表される、請求項6に記載の光源装置。
【請求項8】
前記単位第1レンズは、前記光学レンズ側に凸状の面を有する、請求項4~7のいずれか1項に記載の光源装置。
【請求項9】
前記単位第1レンズは、柱状レンズ又は錐台レンズである、請求項4~8のいずれか1項に記載の光源装置。
【請求項10】
前記単位第1レンズは、内部全反射レンズである、請求項4~7のいずれか1項に記載の光源装置。
(【請求項11】以降は省略されています)
発明の詳細な説明
【技術分野】
【0001】
本開示は、光源装置に関する。
続きを表示(約 3,100 文字)
【背景技術】
【0002】
近年、発光ダイオード等の複数の発光部を用いた光源が幅広く使用されるようになっていている。例えば、特許文献1には、携帯電話に搭載されたカメラのような小型カメラのフラッシュ用に用いることができる光源が開示されている。
【先行技術文献】
【特許文献】
【0003】
特許第5275557号公報
【発明の概要】
【発明が解決しようとする課題】
【0004】
このような、例えば、カメラのフラッシュ用に用いる光源は、照射領域全体を分割した個々の照射領域のうち、所望の照射領域を十分な光量で照射することが求められる。
【0005】
そこで、本開示は、所望の照射領域を十分な光量で照射することができる光源装置を提供することを目的とする。
【課題を解決するための手段】
【0006】
本開示の一実施形態に係る光源装置は、2以上の照射領域に光を照射するための光源装置であって、上面に発光面を有し、前記発光面から第1半値全角で光を出射し、個別点灯可能な複数の発光部と、前記複数の発光部の発光面を覆う第1レンズと、前記発光部それぞれに対応し、該発光部から出射された光が入射する複数の入射領域を含む、前記発光部の発光面側に位置する第1面、及び前記複数の入射領域のそれぞれに対応する複数の出射領域を含む、前記第1面と反対側に位置する第2面を備え、前記発光部の発光面の上方に位置する光学レンズと、を備え、前記光学レンズの前記第1面と前記第1レンズとの最短距離が0.1mm以上1.0mm以下であり、前記発光部のそれぞれから出射した光は、前記第1レンズを介して前記光学レンズに入射し、前記第1半値全角より小さい第2半値全角で前記第1レンズから出射する。
【0007】
また、本開示の一実施形態に係る光源装置は、2以上の照射領域に光を照射するための光源装置であって、上面に発光面を有し、前記発光面から第1半値全角で光を出射し、個別点灯可能な複数の発光部と、前記複数の発光部の発光面を覆う第1レンズと、複数の入射領域を含む第1面及び複数の出射領域を含む第2面を有し、前記発光部の発光面の上方に位置する光学レンズと、を備え、前記光学レンズの前記第1面と前記第1レンズとの最短距離が0.1mm以上1.0mm以下であり、前記発光部のそれぞれから出射した光は、前記第1レンズを介して前記光学レンズに入射し、前記第1半値全角より小さい第2半値全角で前記第1レンズから出射する。
【0008】
また、本開示の一実施形態に係る光源装置は、2以上の照射領域に光を照射するための光源装置であって、上面に発光面を有し、前記発光面から第1半値全角で光を出射し、マトリクス状に配列された個別点灯可能な複数の発光部と、前記複数の発光部の発光面を覆う第1レンズと、複数の入射領域を含む第1面と、複数の出射領域を含む第2面と、を有し、前記発光部の発光面の上方に位置する光学レンズと、を備え、前記発光部それぞれから出射した光は、前記第1レンズを介して前記光学レンズに入射し、前記第1半値全角より小さい第2半値全角で前記第1レンズから出射し、前記第1レンズは、前記発光部毎に設けられた複数の単位第1レンズを含み、少なくとも1つの前記単位第1レンズの光軸は、前記光学レンズの光軸に対して角度γで傾斜しており、前記角度γは、前記光学レンズの光軸から前記マトリクス状の隅部に配置された前記発光部の発光面の中心までの最短距離L(0<L)と、前記光学レンズの光軸から前記傾斜するように設けられた光軸を有する単位第1レンズに覆われた前記発光部の発光面の中心までの最短距離x(0<x≦L)と、前記複数の発光部の発光面が延在する平面と前記光学レンズの光軸との交点を中心点としたときの、該中心点と前記照射領域を全て含む領域の対角に位置する2点のうちの1点とを結ぶ直線、及び該中心点と該2点の他点とを結ぶ直線がなす角度α(0°<α<180°)と、を用いて、
TIFF
2025142030000002.tif
12
77
と表される。
【発明の効果】
【0009】
本開示の一実施形態に係る光源装置は、所望の照射領域を十分な光量で照射することができる。
【図面の簡単な説明】
【0010】
本開示の実施形態1に係るフラッシュ用光源の斜視図である。
図1に示すフラッシュ用光源の発光部の上面視であって、該発光部の配列を説明する図である。
図1に示すフラッシュ用光源において、発光部毎に発光面の寸法が異なる場合の発光部の上面図である。
図1に示すフラッシュ用光源において、発光部毎に発光面の寸法が異なる場合の発光部の上面図である。
図1に示すフラッシュ用光源の発光部と該発光部に対応して設けられた照射領域との関係を説明する図である。
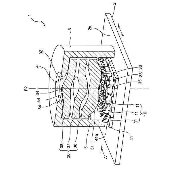
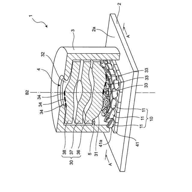
図1に示すフラッシュ用光源のA-A線における断面図である。
図1に示すフラッシュ用光源において、単位第1レンズが一体化して第1レンズを構成している場合のA-A線における他の断面図である。
図4Aに示す断面図の一部を拡大した図である。
図4Aに示す断面図の発光部及び第1レンズの拡大断面図である。
図4Aの一部を拡大した図であり、中心発光部からの光が中心単位第1レンズを介して光学レンズに入射する様子を示している。
図4Aに示す断面図において、中心単位第1レンズから出射した光が、光学レンズを介して対応する照射領域を照射する様子を示している。
図4Aの一部を拡大した図であり、周囲発光部からの光が周囲単位第1レンズを介して光学レンズに入射する様子を示している。
図4Aに示す断面図において、周囲単位第1レンズから出射した光が、光学レンズを介して対応する照射領域を照射する様子を示している。
本開示の実施形態2に係るフラッシュ用光源の断面図である。
本開示の実施形態3に係るフラッシュ用光源の断面図である。
本開示の実施形態4に係るフラッシュ用光源の断面図である。
本開示の実施形態5に係るフラッシュ用光源の断面図である。
本開示の実施形態6に係るフラッシュ用光源の断面図である。
本開示の実施形態7に係るフラッシュ用光源が備える第1レンズの断面図である。
本開示の実施形態8に係るフラッシュ用光源の断面図である。
本開示の変形例に係るフラッシュ用光源の断面図である。
本開示の変形例に係るフラッシュ用光源の断面図である。
本開示の変形例に係るフラッシュ用光源の断面図である。
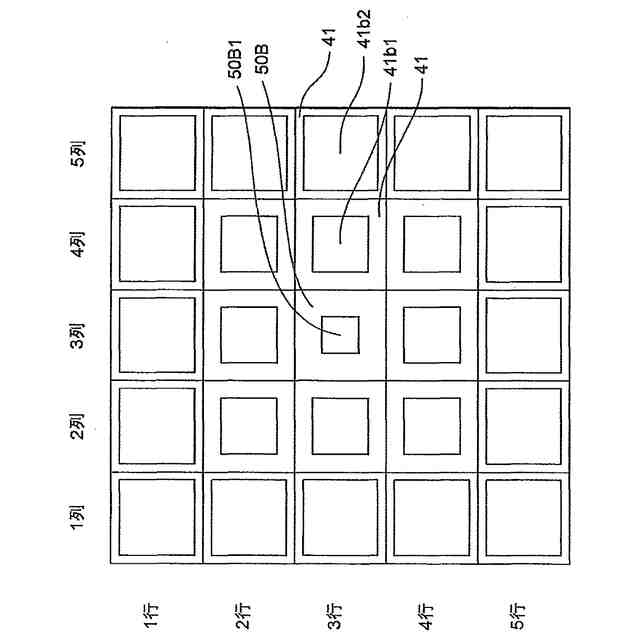
本開示の実施形態1に係るフラッシュ用光源において、3行1列目の発光部を点灯させたときの点灯状況を示す図である。
第1レンズを有さない点を除いて、本開示の実施形態1に係るフラッシュ用光源と同一の構成を有する光源において、3行1列目の発光部を点灯させたときの点灯状況を示す図である。
図1に示すフラッシュ用光源における、最短距離L、最短距離x、及び角度αを示す図である。
【発明を実施するための形態】
(【0011】以降は省略されています)
特許ウォッチbot のツイートを見る
この特許をJ-PlatPat(特許庁公式サイト)で参照する
関連特許
日亜化学工業株式会社
発光素子
6日前
日亜化学工業株式会社
光源及び基板
18日前
日亜化学工業株式会社
窒化物半導体発光素子
8日前
日亜化学工業株式会社
発光装置、発光モジュール、発光装置の製造方法
5日前
日亜化学工業株式会社
発光装置
1日前
日亜化学工業株式会社
光源装置
8日前
日亜化学工業株式会社
ケイ酸塩蛍光体、発光装置及びケイ酸塩蛍光体の製造方法
12日前
日亜化学工業株式会社
光源装置およびレンズ構造体
6日前
日亜化学工業株式会社
非水電解質二次電池用正極活物質及びその製造方法
7日前
個人
室外機器
3か月前
個人
照明システム
3か月前
個人
気泡を用いた遊具。
5か月前
個人
車載機器の通気構造
27日前
株式会社遠藤照明
照明器具
4か月前
株式会社遠藤照明
照明装置
18日前
デンカ株式会社
照明装置
3か月前
個人
LEDライト
3か月前
能美防災株式会社
表示灯
27日前
デンカ株式会社
道路用照明
3か月前
株式会社小糸製作所
投光装置
27日前
株式会社小糸製作所
投光装置
27日前
スタンレー電気株式会社
照射用光源
4日前
株式会社小糸製作所
誘導装置
11日前
アクア株式会社
冷蔵庫
2か月前
瀧住電機工業株式会社
ダクトレール
6か月前
株式会社小糸製作所
車両用灯具
3か月前
株式会社小糸製作所
車両用灯具
6か月前
株式会社オカムラ
間仕切り装置
6か月前
株式会社小糸製作所
車両用灯具
3か月前
株式会社小糸製作所
車両用灯具
4か月前
株式会社小糸製作所
車両用灯具
3か月前
株式会社小糸製作所
車両用灯具
4か月前
株式会社小糸製作所
車両用灯具
6か月前
株式会社小糸製作所
車両用灯具
6か月前
株式会社小糸製作所
表示用灯具
4日前
株式会社小糸製作所
車両用灯具
4か月前
続きを見る
他の特許を見る