TOP
|
特許
|
意匠
|
商標
特許ウォッチ
Twitter
他の特許を見る
10個以上の画像は省略されています。
公開番号
2025147195
公報種別
公開特許公報(A)
公開日
2025-10-06
出願番号
2025131658,2024144070
出願日
2025-08-06,2020-05-26
発明の名称
発光装置
出願人
日亜化学工業株式会社
代理人
個人
,
個人
,
個人
,
個人
主分類
H01S
5/02345 20210101AFI20250926BHJP(基本的電気素子)
要約
【課題】小型の発光装置を提供する。
【解決手段】発光装置は、複数の配線領域が設けられる実装面が含まれる基部と、前記実装面に配され、上面視で短辺と長辺を有する長方形の形状を有する第1発光素子を含む少なくとも1つの発光素子と、前記実装面に配される保護素子と、両端を接合部とする線状の形状を有する配線と、を備える。前記配線領域は、前記保護素子が配される第1配線領域を含み、前記配線は、前記第1配線領域と前記第1発光素子とを電気的に接続する第1配線を含み、前記第1配線は、前記第1配線領域に接合する第1接合部を含み、上面視で、前記第1接合部は、前記保護素子の辺のうち最も発光素子に近い側の辺を含む第1仮想直線を境界にして、前記第1発光素子が設けられている側に設けられている。
【選択図】図7
特許請求の範囲
【請求項1】
複数の配線領域が設けられる実装面が含まれる基部と、
前記実装面に配され、上面視で短辺と長辺を有する長方形の形状を有する第1発光素子を含む少なくとも1つの発光素子と、
前記実装面に配される保護素子と、
両端を接合部とする線状の形状を有する配線と、
を備え、
前記配線領域は、前記保護素子が配される第1配線領域を含み、
前記配線は、前記第1配線領域と前記第1発光素子とを電気的に接続する第1配線を含み、
前記第1配線は、前記第1配線領域に接合する第1接合部を含み、
上面視で、前記第1接合部は、前記保護素子の辺のうち最も発光素子に近い側の辺を含む第1仮想直線を境界にして、前記第1発光素子が設けられている側に設けられている、発光装置。
続きを表示(約 710 文字)
【請求項2】
前記配線は、上面視で、前記第1発光素子の光出射面に平行な直線を境界にして、前記第1発光素子の側において、前記配線領域に接合する、請求項1に記載の発光装置。
【請求項3】
前記第1配線は、複数設けられている、請求項1または2に記載の発光装置。
【請求項4】
前記複数の第1配線は、前記第1発光素子の前記長辺の方向に沿って並んで配置されている、請求項3に記載の発光装置。
【請求項5】
前記実装面に配される温度測定素子を更に備え、
前記配線領域は、前記温度測定素子が配される第2配線領域を含み、
前記配線は、前記第2配線領域と前記温度測定素子とを電気的に接続する第2配線を含み、
前記第2配線は、前記第2配線領域に接合する第2接合部を含み、
上面視で、前記第2接合部は、前記温度測定素子の辺のうち最も発光素子に近い側の辺を含む第2仮想直線を境界にして、前記温度測定素子が設けられていない側に設けられている、請求項1から4のいずれか1項に記載の発光装置。
【請求項6】
前記第2配線は、前記第1発光素子の前記長辺の方向に延びている、請求項5に記載の発光装置。
【請求項7】
前記配線領域は、前記保護素子が配され、且つ、前記第1配線領域とは異なる、第3配線領域を含み、
前記第1配線領域及び前記第3配線領域は、前記第1発光素子の前記長辺の方向に隣り合って配置され、
前記保護素子は、前記第1配線領域と前記第3配線領域とに跨って配置される、請求項1から6のいずれか1項に記載の発光装置。
発明の詳細な説明
【技術分野】
【0001】
本開示は、発光装置に関する。
続きを表示(約 1,800 文字)
【背景技術】
【0002】
従来から、パッケージ内に複数の構成要素が実装される発光装置がある。複数の構成要素としては、例えば、複数の発光素子が挙げられる。また例えば、発光素子に加えてツェナーダイオード、サーミスタ、または、フォトダイオードなどが挙げられる。
【0003】
例えば、特許文献1には、蛍光体材料に集光されるレーザ光の一部、および、蛍光体材料から放射された蛍光の一部を、それぞれ、2個のフォトダイオードでモニタする照明光源が開示されている。
【0004】
パッケージ内に複数の構成要素が実装されることで、発光装置の高性能化や多機能化などが図られる。その一方で、このような発光装置や、このような発光装置が組み込まれるユニットなどを、より小型に実現したいといった要望もある。
【先行技術文献】
【特許文献】
【0005】
特表2011-527518号公報
【発明の概要】
【発明が解決しようとする課題】
【0006】
発光素子と光検出器を備える発光装置の小型化を実現する。
【課題を解決するための手段】
【0007】
本開示の発光装置は、ある実施形態において、透光性領域を有する光取出面を有するパッケージと、前記パッケージの内部に配され、発散光を出射する光出射面を有する第1発光素子と、前記パッケージの内部に配され、前記第1発光素子から出射された発散光が入射し、入射した前記発散光のうち一部の光を反射し、残りの光を透過させる光学部材と、前記パッケージの内部に配され、前記第1発光素子から出射され前記光学部材により反射された発散光を受ける受光面を有する光検出器とを備え、前記第1発光素子から出射され前記光学部材を透過した光が、前記透光性領域から前記パッケージの外部へと出射される。
【0008】
本開示の発光装置は、ある実施形態において、第1方向に第1の光を出射する第1光出射面を有する第1発光素子と、前記第1方向に第2の光を出射する第2光出射面を有する第2発光素子と、前記第1発光素子から第1方向に出射された前記第1の光のうち、一部の光を反射し、残りの光を透過させ、かつ、前記第2発光素子から第1方向に出射された前記第2の光のうち、一部の光を反射し、残りの光を透過させる光学部材と、前記光学部材を介して反射された前記第1の光および第2の光を受光する光検出器とを有し、前記第1光出射面から出射され前記光検出器に到達するまでの前記第1の光の光路長、および、前記第2光出射面から出射され前記光検出器に到達するまでの前記第2の光の光路長は、1.5mm以下である。
【発明の効果】
【0009】
本開示による発光装置によれば、発光装置の小型化を実現できる。
【図面の簡単な説明】
【0010】
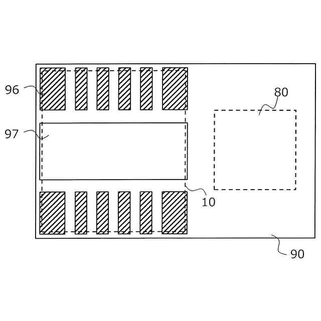
図1は、第1実施形態に係る発光装置の斜視図である。
図2は、第1実施形態に係る発光装置からパッケージのキャップを除いた斜視図である。
図3は、第1実施形態に係る発光装置からパッケージのキャップを除いた上面図である。
図4は、第1実施形態に係る発光装置からパッケージおよびレンズ部材を除いた上面図である。
図5は、図1のV-V断面線における発光装置の断面図である。
図6は、第1実施形態に係る光検出器および光学部材の斜視図である。
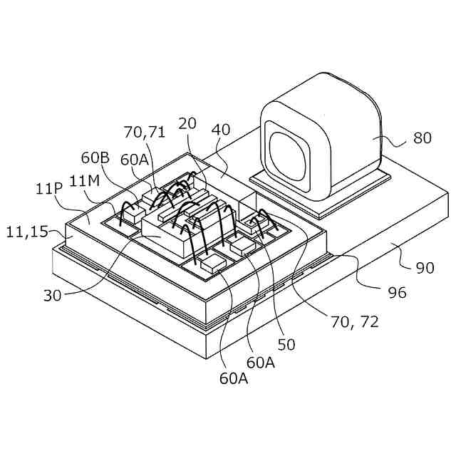
図7は、第1実施形態に係るパッケージの内部の上面拡大図である。
図8は、光学部材40を除いた状態での、図3及び図7の上面図における部分Xの拡大図である。
図9は、図8のIX-IX断面線における光検出器およびその周辺領域の断面図である。
図10は、発光素子から出射された光の発散を模式的に示す図である。
図11は、隣接する2つの発光素子から出射された光の発散半角と、発光素子から受光面までの距離などの関係を模式的に示す図である。
図12は、第2実施形態に係る発光装置の断面図である。
図13は、変形例における部分Xの拡大上面図である。
図14は、図13のXIV-XIV断面線における光検出器およびその周辺領域の断面図である。
【発明を実施するための形態】
(【0011】以降は省略されています)
特許ウォッチbot のツイートを見る
この特許をJ-PlatPat(特許庁公式サイト)で参照する
関連特許
日亜化学工業株式会社
発光装置
27日前
日亜化学工業株式会社
発光装置
1日前
日亜化学工業株式会社
発光装置
2日前
日亜化学工業株式会社
発光装置
8日前
日亜化学工業株式会社
発光装置
9日前
日亜化学工業株式会社
発光素子
28日前
日亜化学工業株式会社
半導体レーザ素子
10日前
日亜化学工業株式会社
配置部材、及び、発光装置
27日前
日亜化学工業株式会社
発光装置、および面状光源
28日前
日亜化学工業株式会社
軟磁性材料およびその製造方法
2日前
日亜化学工業株式会社
半導体素子およびその製造方法
28日前
日亜化学工業株式会社
発光装置の製造方法及び発光装置
8日前
日亜化学工業株式会社
発光装置の製造方法及び発光装置
28日前
日亜化学工業株式会社
光源、発光モジュール、及び携帯端末
23日前
日亜化学工業株式会社
光源装置およびそれらを有する加熱システム
29日前
日亜化学工業株式会社
透光性部材の製造方法及び発光装置の製造方法
21日前
日亜化学工業株式会社
セラミックス基板の製造方法及び発光装置の製造方法
27日前
日亜化学工業株式会社
面状光源
20日前
日亜化学工業株式会社
発光装置
20日前
日亜化学工業株式会社
発光装置
9日前
日亜化学工業株式会社
発光装置および発光装置の製造方法
9日前
日亜化学工業株式会社
正極活物質及び非水電解質二次電池用正極
1日前
日亜化学工業株式会社
面発光装置、レンズ積層体及びその製造方法、面発光装置の製造方法、レンズ集合体の製造方法
1日前
APB株式会社
蓄電セル
13日前
東ソー株式会社
絶縁電線
15日前
日本発條株式会社
積層体
1か月前
個人
フレキシブル電気化学素子
27日前
ローム株式会社
半導体装置
1か月前
株式会社東芝
端子台
7日前
ローム株式会社
半導体装置
1か月前
ローム株式会社
半導体装置
1か月前
マクセル株式会社
電源装置
7日前
株式会社ユーシン
操作装置
27日前
個人
防雪防塵カバー
1か月前
日新イオン機器株式会社
イオン源
23日前
ローム株式会社
半導体装置
14日前
続きを見る
他の特許を見る