TOP
|
特許
|
意匠
|
商標
特許ウォッチ
Twitter
他の特許を見る
10個以上の画像は省略されています。
公開番号
2025141964
公報種別
公開特許公報(A)
公開日
2025-09-29
出願番号
2025091040,2025040605
出願日
2025-05-30,2025-03-13
発明の名称
ドレン部材、雨樋配管構造、及び建物
出願人
積水化学工業株式会社
代理人
個人
,
個人
,
個人
,
個人
主分類
E04D
13/068 20060101AFI20250919BHJP(建築物)
要約
【課題】施工性に優れるドレン部材を提供すること。
【解決手段】底板11に下穴11Hが形成された軒樋に装着されるドレン部材であって、底板11の下面に配置され内周に受入口が形成された下側フランジ部111と、下側フランジ部111の下方に形成され下方に向かって延在する外筒部112Lと、外筒部112Lの内周面に形成された内周篏合部と、を有する下側ドレン部材110と、底板11の上面に配置され内周側に落し口部121Hが形成された上側フランジ部121と、上側フランジ部の下方に形成され下方に向かって延在し外筒部112Lに挿入される内筒部122と、内筒部122の外周面に形成され内周篏合部と螺合される外周篏合部と、を有する上側ドレン部材120と、を備え、上側ドレン部材120は、上側フランジ部1211の下面のうち、下穴11Hの周縁部と対応する位置に部分的に配置された位置合わせ部を備えている。
【選択図】図7E
特許請求の範囲
【請求項1】
底板と、前記底板の幅方向の両端から上方に向かって伸びる側板と、を有し、前記底板に下穴が形成された軒樋に装着されるドレン部材であって、
前記底板の下面に配置され内周に受入口が形成された下側フランジ部と、前記下側フランジ部の下方に形成され下方に向かって延在する外筒部と、前記下側フランジ部と前記外筒部の上端部を接続し下方に向かうにしたがって縮径される外筒縮径部と、前記外筒部の内周面に形成された内周篏合部と、を有する下側ドレン部材と、
前記底板の上面に配置され内周側に落し口部が形成された上側フランジ部と、前記上側フランジ部の下方に形成され下方に向かって延在し前記外筒部に挿入される内筒部と、前記上側フランジ部と前記内筒部の上端部を接続し下方に向かうにしたがって縮径される内筒縮径部と、前記内筒部の外周面に形成され前記内周篏合部と螺合される外周篏合部と、を有する上側ドレン部材と、
を備え、
前記上側ドレン部材は、
前記上側フランジ部の下面のうち、前記下穴の周縁部と対応する位置に部分的に配置された位置合わせ部を備えている、
ことを特徴とするドレン部材。
続きを表示(約 940 文字)
【請求項2】
請求項1に記載のドレン部材であって、
前記位置合わせ部が屈曲部である、
ことを特徴とするドレン部材。
【請求項3】
請求項1に記載のドレン部材であって、
前記位置合わせ部が段差部である、
ことを特徴とするドレン部材。
【請求項4】
請求項1に記載のドレン部材であって、
前記位置合わせ部が周方向に等間隔に形成されている、
ことを特徴とするドレン部材。
【請求項5】
請求項1に記載のドレン部材であって、
前記位置合わせ部が、パーティングラインに跨って設けられている、またはパーティングラインから周方向に90度離れた位置に設けられている、
ことを特徴とするドレン部材。
【請求項6】
請求項1に記載のドレン部材であって、
前記内周篏合部が内周ネジ部であり、
前記外周篏合部が外周ネジ部である、
ことを特徴とするドレン部材。
【請求項7】
請求項6に記載のドレン部材であって、
少なくとも1つの前記位置合わせ部が、平面視において、前記上側ドレン部材の前記外周ネジ部の上端部の位置に跨る、または、前記外周ネジ部の上端部と前記位置合わせ部の端部とが同じ位置にくるように形成されている、
ことを特徴とするドレン部材。
【請求項8】
請求項6に記載ドレン部材であって、
前記下側ドレン部材において、前記内周ネジ部が、前記外筒部の上端部から間隔をあけて形成されている、
ことを特徴とするドレン部材。
【請求項9】
底板と、前記底板の幅方向の両端から上方に向かって伸びる側板と、を有し、前記底板に下穴が形成された軒樋と、
請求項1から8のいずれか1項に記載のドレン部材と、
前記ドレン部材の下流側に設けられた竪樋と、
前記ドレン部材と前記竪樋とを接続する継手と、
を有することを特徴とする雨樋配管構造。
【請求項10】
請求項9に記載の雨樋配管構造、
を有することを特徴とする建物。
発明の詳細な説明
【技術分野】
【0001】
この発明は、軒樋に取付けられ、軒樋と下流側の竪樋や継手とを接続するドレン部材、雨樋配管構造、及び建物に関する。
続きを表示(約 3,200 文字)
【背景技術】
【0002】
周知のように、例えば工場やショッピングセンター等の大型施設の建物に取り付けられた軒先に配置される大型の軒樋の内側に設けられた高排水機能を有するドレン部材が広く用いられている。
【0003】
このようなドレン部材は、軒樋の底板を挟んで下面に配置される下側ドレン部材と、上面に配置される上側ドレン部材とを備えたドレン部材を備えることが一般的である。
このような下側ドレン部材と上側ドレン部材とを備えたドレン部材は、種々の用途に適用されている。
【0004】
例えば、特許文献1には、軒樋の底板に設けられた雨水排水用の開口を貫通するように軒樋に設置される軒樋ドレンであって、上ユニット(上側ドレン部)の上フランジの下側面内周端付近には、軒樋の底板の円形の開口(下穴)の周縁部に係合させることが可能であって、円筒面部で構成される係合部が設けられているドレンが開示されている。また、これにより、上ユニットを軒樋の開口(下穴)周縁部の所定位置に、より精度よく配置しやすくなることが開示されている。
【先行技術文献】
【特許文献】
【0005】
特開2024-004187号公報
【発明の概要】
【発明が解決しようとする課題】
【0006】
しかしながら、ドレン部材を軒樋の下穴に挿通する際、ドレン部材と軒樋や、上側ドレンと下側ドレンなどが当たってしまい、挿通しづらく、施工性に改善の余地があった。
【0007】
本発明は、このような事情を考慮してなされたものであり、施工性に優れるドレン部材、雨樋配管構造、及び建物を提供することを目的とする。
【課題を解決するための手段】
【0008】
上記課題を解決するために、この発明は以下の手段を提案している。
(1)底板と、前記底板の幅方向の両端から上方に向かって伸びる側板と、を有し、前記底板に下穴が形成された軒樋に装着されるドレン部材であって、前記底板の下面に配置され内周に受入口が形成された下側フランジ部と、前記下側フランジ部の下方に形成され下方に向かって延在する外筒部と、前記下側フランジ部と前記外筒部の上端部を接続し下方に向かうにしたがって縮径される外筒縮径部と、前記外筒部の内周面に形成された内周篏合部と、を有する下側ドレン部材と、前記底板の上面に配置され内周側に落し口部が形成された上側フランジ部と、前記上側フランジ部の下方に形成され下方に向かって延在し前記外筒部に挿入される内筒部と、前記上側フランジ部と前記内筒部の上端部を接続し下方に向かうにしたがって縮径される内筒縮径部と、前記内筒部の外周面に形成され前記内周篏合部と螺合される外周篏合部と、を有する上側ドレン部材と、を備え、前記上側ドレン部材は、前記上側フランジ部の下面のうち、前記下穴の周縁部と対応する位置に部分的に配置された位置合わせ部を備えている。
(2)ドレン部材であって、前記位置合わせ部が屈曲部である。
(3)ドレン部材であって、前記位置合わせ部が段差部である。
(4)ドレン部材であって、前記位置合わせ部が周方向に等間隔に形成されている。
(5)ドレン部材であって、前記位置合わせ部が、パーティングラインに跨って設けられている、またはパーティングラインから周方向に90度離れた位置に設けられている。
(6)ドレン部材であって、前記内周篏合部が内周ネジ部であり、前記外周篏合部が外周ネジ部である。
(7)ドレン部材であって、少なくとも1つの前記位置合わせ部が、平面視において、前記上側ドレン部材の前記外周ネジ部の上端部の位置に跨る、または、前記外周ネジ部の上端部と前記位置合わせ部の端部とが同じ位置にくるように形成されていること。
(8)ドレン部材と、前記下側ドレン部材において、前記内周ネジ部が、前記外筒部の上端部から間隔をあけて形成されている。
(9)雨樋配管構造であって、底板と、前記底板の幅方向の両端から上方に向かって伸びる側板と、を有し、前記底板に下穴が形成された軒樋と、(1)から(7)のいずれかのドレン部材と、前記ドレン部材の下流側に設けられた竪樋と、前記ドレン部材と前記竪樋とを接続する継手と、を有する。
(10)建物であって、(9)の雨樋配管構造、を有する。
【発明の効果】
【0009】
この発明では、施工性に優れるドレン部材、雨樋配管構造、及び建物を提供することができる。
【図面の簡単な説明】
【0010】
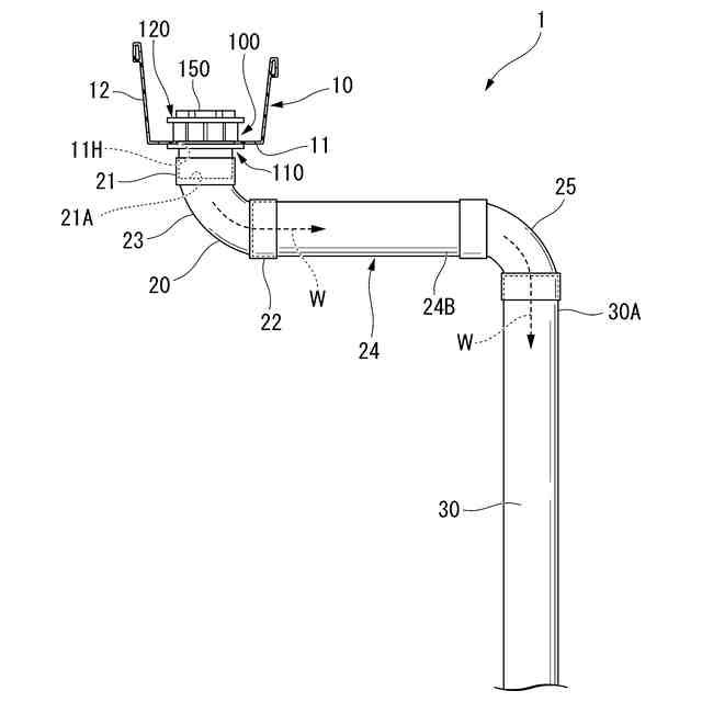
本発明の第1実施形態に係るドレン部材(ドレン部材)を備えた雨樋配管構造を説明する側面から見た図である。
第1実施形態に係るドレン部材の概略を説明する軒樋に取付けた状態を示す斜視図である。
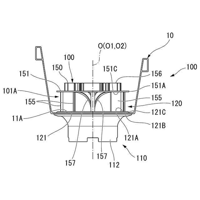
第1実施形態に係る上側ドレン部材の詳細を説明する斜視図である。
第1実施形態に係るドレン部材の詳細を説明する斜視図である。
第1実施形態に係るドレン部材の概略構成を説明する軒樋の長手方向と直交する概略構成図である。
第1実施形態に係るドレン部材の概略構成を説明する軒樋を含む分解した概略構成図である。
第1実施形態に係るドレン部材の概略構成を説明する組立てた状態を示す縦断面図である。
第1実施形態に係るドレン部材の概略構成を説明する分解した状態を示す縦断面図である。
第1実施形態に係るドレン部材の落し口部の概略構成を説明する縦断面図である。
第1実施形態に係る下側ドレン部材の挿入ガイド部の変形例の縦断面図である。
第1実施形態に係るドレン部材(図7B)の上側ドレン部材のA方向矢視図である。
本発明の第3実施形態に係るドレン部材の概略構成を説明する組立てた状態を示す縦断面図である。
第3実施形態に係るドレン部材の概略構成を説明する分解した状態を示す縦断面図である。
本発明の第4実施形態に係るドレン部材の概略構成を説明する組立てた状態を示す縦断面図である。
第4実施形態に係るドレン部材の概略構成を説明する分解した状態を示す縦断面図である。
第4実施形態に係る上側ドレン部材に形成された位置決めエッジ部の概略構成を説明する縦断面図である。
第4実施形態に係る下側ドレン部材の挿入ガイド部の変形例の縦断面図である。
第4実施形態に係るドレン部材(図9B)の上側ドレン部材のA方向矢視図である。
本発明の第5実施形態に係るドレン部材の概略構成を説明する組立てた状態を示す縦断面図である。
第5実施形態に係るドレン部材の概略構成を説明する分解した状態を示す縦断面図である。
本発明の上側ドレン部材の第1変形例の斜視図である。
本発明の上側ドレン部材の第1変形例の側面図である。
本発明の上側ドレン部材の第1変形例のA方向矢視図である。
漏斗部を有する上側ドレン部材の漏斗部及び縦リブを示す部分断面図である。
本発明の上側ドレン部材の第2変形例の側面図である。
本発明の上側ドレン部材の第2変形例の断面図である。
本発明の篏合部の変形例を説明するドレン部材を組立てた状態を示す縦断面図である。
本発明の上側ドレン部材の篏合部の変形例を説明する図である。
【発明を実施するための形態】
(【0011】以降は省略されています)
この特許をJ-PlatPat(特許庁公式サイト)で参照する
関連特許
積水化学工業株式会社
複層管
11日前
積水化学工業株式会社
樹脂管
4日前
積水化学工業株式会社
解析方法
4日前
積水化学工業株式会社
配管構造
4日前
積水化学工業株式会社
集合継手
今日
積水化学工業株式会社
積層構造体
4日前
積水化学工業株式会社
耐火処理構造
5日前
積水化学工業株式会社
耐火処理構造
5日前
積水化学工業株式会社
両面粘着テープ
4日前
積水化学工業株式会社
両面粘着テープ
4日前
積水化学工業株式会社
防食用粘着テープ
今日
積水化学工業株式会社
更生管の製管方法
5日前
積水化学工業株式会社
螺旋管の製管装置
7日前
積水化学工業株式会社
螺旋管の製管装置
7日前
積水化学工業株式会社
熱伝導性樹脂組成物
11日前
積水化学工業株式会社
樹脂組成物、放熱部材
4日前
積水化学工業株式会社
床の施工方法及び建築物
4日前
積水化学工業株式会社
継手構造および接続構造
4日前
積水化学工業株式会社
集合継手及び排水システム
4日前
積水化学工業株式会社
生産管理システムおよび方法
5日前
積水化学工業株式会社
生産管理システムおよび方法
5日前
積水化学工業株式会社
膜付き基材の製造方法及び粉体
7日前
積水化学工業株式会社
継手、配管構造、配管の施工方法
5日前
積水化学工業株式会社
プログラム及び情報処理システム
7日前
積水化学工業株式会社
集合継手及び集合継手の製造方法
4日前
積水化学工業株式会社
メタサーフェスシート及び窓構造
7日前
積水化学工業株式会社
接着性樹脂組成物、及び、仮固定材
7日前
積水化学工業株式会社
マスターバッチ、及びその製造方法
4日前
積水化学工業株式会社
粒体、地盤改良材及び地盤改良方法
今日
積水化学工業株式会社
防火区画貫通処理部材及び防火区画材
4日前
積水化学工業株式会社
鉄道用枕木、及び鉄道用枕木の製造方法
5日前
積水化学工業株式会社
防火区画貫通処理シート及び防火区画材
4日前
積水化学工業株式会社
樹脂材料、硬化物及び多層プリント配線板
5日前
積水化学工業株式会社
樹脂材料、硬化物及び多層プリント配線板
5日前
積水化学工業株式会社
硬化性樹脂組成物及び基板積層体の製造方法
4日前
積水化学工業株式会社
光ファイバ担持樹脂成形体及びその製造方法
4日前
続きを見る
他の特許を見る