TOP
|
特許
|
意匠
|
商標
特許ウォッチ
Twitter
他の特許を見る
10個以上の画像は省略されています。
公開番号
2025141428
公報種別
公開特許公報(A)
公開日
2025-09-29
出願番号
2024041356
出願日
2024-03-15
発明の名称
ロボットの操作装置
出願人
株式会社デンソーウェーブ
代理人
弁理士法人サトー
主分類
B25J
9/22 20060101AFI20250919BHJP(手工具;可搬型動力工具;手工具用の柄;作業場設備;マニプレータ)
要約
【課題】通常時にロボットを即座に停止させることができるとともに、操作性が悪化することを抑制できるロボットの操作装置を提供する。
【解決手段】実施形態による操作装置1は、表示部13と、表示部13に表示される通常停止スイッチ15と、通常停止スイッチ15が操作されたとき、ソフトウェアの処理に基づいてロボット2を停止させる停止処理を実行する停止処理部23と、通常停止スイッチ15の表示の有無を設定する処理を実行する表示設定部25とを備えている。そして、表示処理部21は、表示設定部25の設定に従って通常停止スイッチ15を表示または非表示にする。
【選択図】図1
特許請求の範囲
【請求項1】
表示部と、
前記表示部に表示される通常停止スイッチと、
前記表示部に前記通常停止スイッチを表示する表示処理を実行する表示処理部と、
前記通常停止スイッチが操作されたとき、ソフトウェアの処理に基づいてロボットを停止させる停止処理を実行する停止処理部と、
前記通常停止スイッチの表示の有無を設定する処理を実行する表示設定部と、を備え、
前記表示処理部は、前記表示設定部の設定に従って前記通常停止スイッチを表示または非表示にする備えるロボットの操作装置。
続きを表示(約 610 文字)
【請求項2】
前記表示設定部は、操作装置が操作されている場合と操作されていない場合とにおける前記通常停止スイッチの表示の有無を設定する請求項1記載のロボットの操作装置。
【請求項3】
前記表示設定部は、プログラムの編集画面が表示されている場合における前記通常停止スイッチの表示の有無を設定する請求項1記載のロボットの操作装置。
【請求項4】
前記表示設定部は、前記ロボットを直接操作する操作画面が表示されている場合における前記通常停止スイッチの表示の有無を設定する請求項1記載のロボットの操作装置。
【請求項5】
前記表示設定部は、前記通常停止スイッチの表示の有無の条件に優先順位を付けて設定し、
前記表示処理部は、優先順位が高い条件に従って前記通常停止スイッチを表示または非表示にする請求項1記載のロボットの操作装置。
【請求項6】
前記表示処理部は、前記通常停止スイッチの表示または非表示の設定が競合する場合には、前記通常停止スイッチを表示にする請求項1記載のロボットの操作装置。
【請求項7】
本体と、
前記本体に設けられ、操作されるとロボットが非常停止される非常停止スイッチと、を備え、
前記表示部は、前記本体に設けられている、または、前記本体とは別体で設けられている請求項1記載のロボットの操作装置。
発明の詳細な説明
【技術分野】
【0001】
本開示は、ロボットの操作装置に関する。
続きを表示(約 1,700 文字)
【背景技術】
【0002】
ロボットは、例えば教示装置などの操作装置を用いて操作することが可能であり、そのような操作装置には、例えば特許文献1に記載されているように非常停止スイッチやイネーブルスイッチが設けられている。
【先行技術文献】
【特許文献】
【0003】
特開2020-110873号公報
【発明の概要】
【発明が解決しようとする課題】
【0004】
しかしながら、従来のスイッチはいわゆる非常時を想定して設けられたものであり、操作装置を操作している通常時にロボットを即座に停止させるためのスイッチは設けられていなかった。そのため、従来では、通常時にロボットを停止させるためには実行中のプログラムを停止する操作を行う必要があり、ロボットを即座に停止させることができなかった。その一方で、新たなスイッチを単純に表示部に表示させると、情報を表示可能な領域が制限されたり誤操作が増えたりするなど、操作性が悪化するおそれがある。
【0005】
本開示は、上記した事情に鑑みてなされたものであり、その目的は、通常時にロボットを即座に停止させることができるとともに、操作性が悪化することを抑制できるロボットの操作装置を提供することにある。
【課題を解決するための手段】
【0006】
本開示の一態様によるロボットの操作装置は、表示部と、表示部に表示される通常停止スイッチと、表示部に通常停止スイッチを表示する表示処理を実行する表示処理部と、通常停止スイッチが操作されたとき、ソフトウェアの処理に基づいてロボットを停止させる停止処理を実行する停止処理部と、通常停止スイッチの表示の有無を設定する処理を実行する表示設定部と、を備え、表示処理部は、表示設定部の設定に従って通常停止スイッチを表示または非表示にする備える。
【図面の簡単な説明】
【0007】
実施形態による操作装置の構成例を模式的に示す図
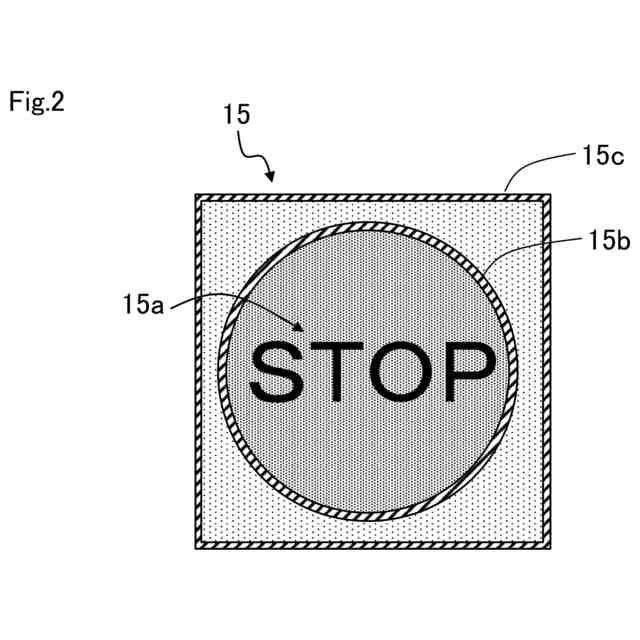
通常停止スイッチの表示例を模式的に示す図
通常停止スイッチが表示または非表示での画面表示例を模式的に示す図
表示設定の一例とその変更態様とを模式的にを示す図
操作状態および非操作状態の画面表示例を模式的に示す図
プログラム編集中の画面表示例を模式的に示す図
3D画面表示中の画面表示例を模式的に示す図
ロボットの動作状態または非動作状態での画面表示例を模式的に示す図
操作装置の他の構成例を模式的に示す図
【発明を実施するための形態】
【0008】
図1に示すように、本実施形態の操作装置1は、ロボット2に対する教示作業を行ういわゆる教示装置を想定しており、ロボット2を制御するコントローラ3との間が専用ケーブル4によって接続されている。ロボット2は、例えば垂直多関節型の6軸ロボットや7軸ロボット、水平多関節型のいわゆる4軸ロボットなどを想定している。
【0009】
コントローラ3は、一般的な構成であるため詳細な説明は省略するが、操作装置1からの設定や指示に基づいて制御指令を生成および出力するなど、ロボット2を制御する主体となる非安全系制御装置3a、および、例えば非常停止操作が入力されたときにロボット2への電力供給を遮断して停止させるなど安全に関する制御を行う主体となる安全系制御装置3bを備えている。
【0010】
操作装置1は、本体10、本体10に設けられている非常停止スイッチ11、本体10の裏面側に設けられているイネーブルスイッチ12、表示部13、表示部13の画面に設けられているタッチパネル14、表示部13に表示されている通常停止スイッチ15、本体10の表面に設けられている複数のボタン類16、専用ケーブル4が繋がっているケーブル接続部17などを備えている。なお、操作装置1の構成は一例であり、各部の形状や大きさ、その数や配置などは図1に示すものに限定されない。
(【0011】以降は省略されています)
この特許をJ-PlatPat(特許庁公式サイト)で参照する
関連特許
個人
固定補助具
1か月前
個人
折りたたみ工具
27日前
株式会社三協システム
製函機
25日前
川崎重工業株式会社
ロボット
4日前
CKD株式会社
把持装置
26日前
株式会社三協システム
移載装置
24日前
株式会社竹中工務店
補助セット
3日前
株式会社不二越
ロボット
3日前
株式会社不二越
ロボットシステム
1か月前
株式会社不二越
ロボット操作装置
1か月前
日本精工株式会社
締結用工具
1か月前
株式会社ミクロブ
把持装置
26日前
太陽パーツ株式会社
アシストスーツ
27日前
SMC株式会社
着脱装置
25日前
トヨタ自動車株式会社
カプラ接続治具
1か月前
ARMA株式会社
ジョイントフレーム
1か月前
株式会社不二越
移動ロボットシステム
6日前
株式会社不二越
ロボットシステム
24日前
株式会社不二越
エッジ仕上げ装置
16日前
本田技研工業株式会社
装置
9日前
株式会社不二越
ロボットシステム
27日前
積水ハウス株式会社
フィルム除去具
2か月前
株式会社不二越
垂直多関節ロボット
17日前
トヨタ自動車株式会社
歩行ロボット
1か月前
ライオン株式会社
移載システム
18日前
シンフォニアテクノロジー株式会社
搬送装置
6日前
大和ハウス工業株式会社
ねじ回転工具
25日前
アネックスツール株式会社
ドライバービット
2日前
株式会社不二越
協働ロボットシステム
2か月前
ダイハツ工業株式会社
移載治具
1か月前
株式会社清水製作所
電動工具の吊下げ具
2か月前
株式会社不二越
ロボットシステム
1か月前
ワールド技研株式会社
ロボットセル装置
3日前
倉敷紡績株式会社
ハンドおよびコネクタ接続方法
16日前
NTN株式会社
ハンド
4日前
セイコーエプソン株式会社
ロボット
1か月前
続きを見る
他の特許を見る