TOP
|
特許
|
意匠
|
商標
特許ウォッチ
Twitter
他の特許を見る
公開番号
2025140358
公報種別
公開特許公報(A)
公開日
2025-09-29
出願番号
2024039706
出願日
2024-03-14
発明の名称
衝撃工具用チゼル部材
出願人
アピュアン株式会社
代理人
個人
,
個人
,
個人
主分類
B25D
17/02 20060101AFI20250919BHJP(手工具;可搬型動力工具;手工具用の柄;作業場設備;マニプレータ)
要約
【課題】前後方向に長くなっても衝撃を安定して伝達することのできる衝撃工具用チゼル部材を提供する。
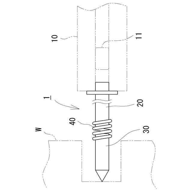
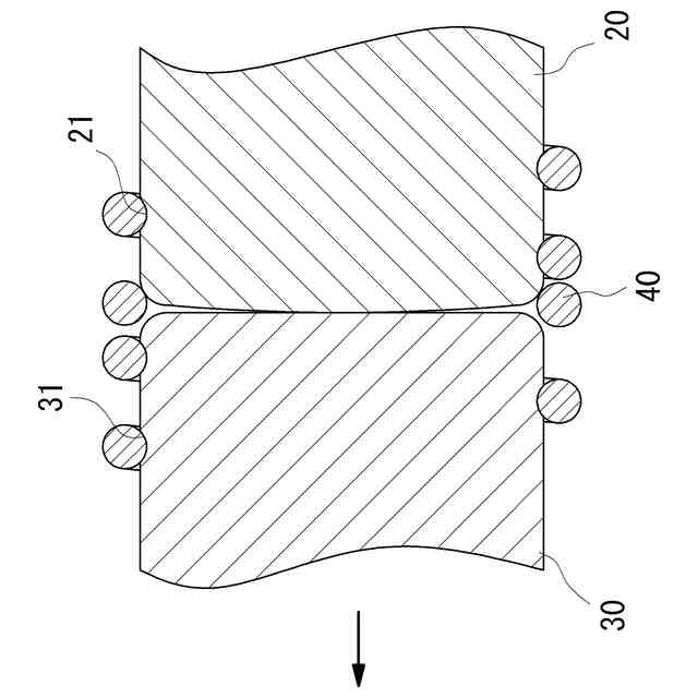
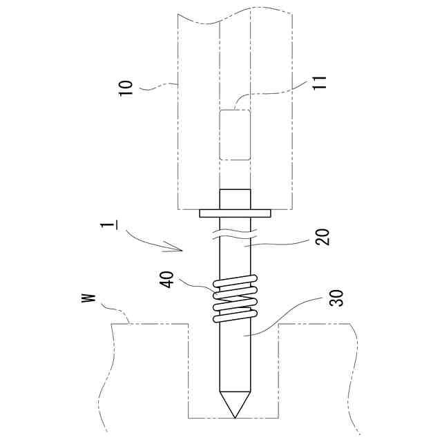
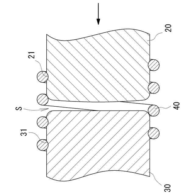
【解決手段】第1のチゼル部材20の先端部と、第2のチゼル部材30の後端部とにわたって第2のチゼル部材30の軸線方向を伸縮方向とするコイルバネ40が外嵌されており、第1のチゼル部材20と第2のチゼル部材30とが、当該コイルバネ40を介して連結されており、コイルバネ40が弾縮して第1のチゼル部材20の先端と第2のチゼル部材30の後端とが衝突することによって第1のチゼル部材20から第2のチゼル部材30へと衝撃力が付与される衝撃工具用チゼル部材1である。
【選択図】図1
特許請求の範囲
【請求項1】
衝撃工具に装着され、前記衝撃工具から発生する衝撃力をワークに伝達する衝撃工具用チゼル部材であって、
衝撃工具側に配置される第1のチゼル部材と、
前記第1のチゼル部材より先端側に離間して配置される第2のチゼル部材と
を具備し、
前記第1のチゼル部材の先端部と、前記第2のチゼル部材の後端部とにわたって前記第2のチゼル部材の軸線方向を伸縮方向とするコイルバネが外嵌されており、前記第1のチゼル部材と前記第2のチゼル部材とが、当該コイルバネを介して連結されており、
前記コイルバネが弾縮して前記第1のチゼル部材の先端と前記第2のチゼル部材の後端とが衝突することによって前記第1のチゼル部材から前記第2のチゼル部材へと前記衝撃力が付与される
ことを特徴とする衝撃工具用チゼル部材。
発明の詳細な説明
【技術分野】
【0001】
本発明は、衝撃工具に装着され、前記衝撃工具から発生する衝撃力をワークに伝達する衝撃工具用チゼル部材に関する。
続きを表示(約 1,600 文字)
【背景技術】
【0002】
従来から用いられている衝撃工具用チゼル部材としては、衝撃工具本体から受ける衝撃を直接的にワークに伝えるために前後方向に沿って一体的に成形されたものが一般的である(例えば特許文献1参照)。
【先行技術文献】
【特許文献】
【0003】
特開2010-142914号公報
【発明の概要】
【発明が解決しようとする課題】
【0004】
上記のような衝撃工具用チゼル部材にあっては、衝撃工具本体に比べて質量が大きすぎるとワークに伝わる衝撃力が小さくなってしまうため、前後方向の長さが極端に長いものは使用が困難であった。しかしながら、衝撃工具はワークを破砕するものであり、衝撃工具本体は安全のためにも可能な限りワークから離れた位置に配置されることが望ましい。
【0005】
そこで本発明は、前後方向に長くなっても衝撃を安定して伝達することのできる衝撃工具用チゼル部材を提供することを目的とする。
【課題を解決するための手段】
【0006】
本発明は、衝撃工具に装着され、前記衝撃工具から発生する衝撃力をワークに伝達する衝撃工具用チゼル部材であって、衝撃工具側に配置される第1のチゼル部材と、前記第1のチゼル部材より先端側に離間して配置される第2のチゼル部材とを具備し、前記第1のチゼル部材の先端部と、前記第2のチゼル部材の後端部とにわたって前記第2のチゼル部材の軸線方向を伸縮方向とするコイルバネが外嵌されており、前記第1のチゼル部材と前記第2のチゼル部材とが、当該コイルバネを介して連結されており、前記コイルバネが弾縮して前記第1のチゼル部材の先端と前記第2のチゼル部材の後端とが衝突することによって前記第1のチゼル部材から前記第2のチゼル部材へと前記衝撃力が付与されることを特徴とする衝撃工具用チゼル部材である。
【0007】
かかる構成にあっては、前記衝撃工具用チゼル部材が前後方向に分割されており、例えば衝撃工具から衝撃を受けた前記第1のチゼル部材が前記第2のチゼル部材に衝突することによってワークのある前側へと衝撃力を伝達していくものである。これにより、瞬間的に衝撃力はまず第1のチゼル部材のみに伝達されて当該第1のチゼル部材のみが動こうとするため、エネルギーロスが少なくなって作業効率が向上する。また、第1のチゼル部材と第2のチゼル部材とが衝突した後は前記コイルバネの反発力によってチゼル部材同士が離開しようとするが、衝撃工具を使用する作業者によって全体がワークに押し付けられるためにコイルバネの反発力は第2のチゼル部材を押す力となる。このコイルバネの反発力を利用することによって一層エネルギーロスが低減される。さらに、コイルバネが全体としての騒音低減効果を奏する。
【発明の効果】
【0008】
本発明の衝撃工具用チゼル部材は、前後方向に長くなっても衝撃を安定して伝達することができる優れた効果がある。
【図面の簡単な説明】
【0009】
実施例にかかる衝撃工具用チゼル部材の説明図である。
実施例にかかる衝撃工具用チゼル部材の部分拡大側断面図である。
実施例にかかる衝撃工具用チゼル部材の部分拡大側断面図である。
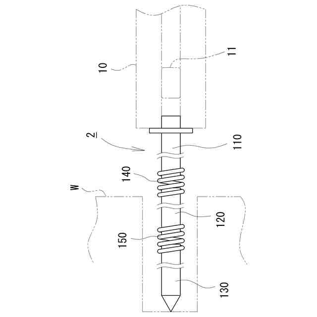
他の実施例にかかる衝撃工具用チゼル部材の説明図である。
【発明を実施するための形態】
【0010】
本発明の実施形態を実施例に従って説明する。なお本発明は、下記に示す実施例に限定されることはなく、適宜、設計変更が可能である。また便宜上、実施例において前後を規定して説明しているが、これによって本発明が限定されるものではない。
(【0011】以降は省略されています)
この特許をJ-PlatPat(特許庁公式サイト)で参照する
関連特許
個人
固定補助具
1か月前
個人
折りたたみ工具
26日前
川崎重工業株式会社
ロボット
3日前
株式会社三協システム
製函機
24日前
株式会社不二越
ロボット
2日前
株式会社三協システム
移載装置
23日前
株式会社竹中工務店
補助セット
2日前
CKD株式会社
把持装置
25日前
株式会社不二越
ロボット操作装置
1か月前
株式会社不二越
ロボットシステム
1か月前
日本精工株式会社
締結用工具
1か月前
SMC株式会社
着脱装置
24日前
太陽パーツ株式会社
アシストスーツ
26日前
株式会社ミクロブ
把持装置
25日前
ARMA株式会社
ジョイントフレーム
1か月前
株式会社不二越
移動ロボットシステム
5日前
トヨタ自動車株式会社
カプラ接続治具
1か月前
株式会社不二越
ロボットシステム
26日前
株式会社不二越
エッジ仕上げ装置
15日前
本田技研工業株式会社
装置
8日前
株式会社不二越
ロボットシステム
23日前
積水ハウス株式会社
フィルム除去具
1か月前
トヨタ自動車株式会社
歩行ロボット
29日前
株式会社不二越
垂直多関節ロボット
16日前
ダイハツ工業株式会社
移載治具
1か月前
大和ハウス工業株式会社
ねじ回転工具
24日前
シンフォニアテクノロジー株式会社
搬送装置
5日前
株式会社不二越
協働ロボットシステム
2か月前
ライオン株式会社
移載システム
17日前
アネックスツール株式会社
ドライバービット
1日前
株式会社清水製作所
電動工具の吊下げ具
2か月前
ワールド技研株式会社
ロボットセル装置
2日前
株式会社不二越
ロボットシステム
1か月前
シヤチハタ株式会社
マーキング装置
29日前
NTN株式会社
ハンド
3日前
セイコーエプソン株式会社
ロボット
1か月前
続きを見る
他の特許を見る