TOP
|
特許
|
意匠
|
商標
特許ウォッチ
Twitter
他の特許を見る
10個以上の画像は省略されています。
公開番号
2025139535
公報種別
公開特許公報(A)
公開日
2025-09-26
出願番号
2024170193
出願日
2024-09-30
発明の名称
通信装置
出願人
パイオニア株式会社
代理人
個人
,
個人
,
個人
主分類
A42B
3/30 20060101AFI20250918BHJP(頭部に着用するもの)
要約
【課題】ヘルメットへの通信装置の取り付け作業や取り替え作業を容易に行えるようにする構造を提供する。
【解決手段】ヘルメット100は、フルフェイス型のヘルメットであり、前面に開口部104を有し、開口部104に通信装置10Bが配置されている。通信装置10Bは、装置本体7Bと、装置本体7Bが着脱可能であり、ヘルメット100に固定される複数の固定パーツ4,5,6と、を備えている。装置本体7Bは、マイクとセンサと制御部とを内蔵した第1パーツ1と、スピーカを内蔵した第2パーツ2と、スピーカを内蔵した第3パーツ3と、を備えている。制御部は、センサが検出した天地に応じて、それぞれのスピーカが再生するステレオ信号のチャネルを設定する。
【選択図】図8
特許請求の範囲
【請求項1】
ヘルメットの前面開口部に取り付けられる通信装置であって、
マイクと、
前記マイクの両側に配置され、ステレオ再生が可能な2つのスピーカと、
天地を検知するセンサと、
制御部と、を備え、
前記制御部は、前記センサが検出した天地に応じて、それぞれのスピーカが再生するステレオ信号のチャネルを設定する
ことを特徴とする通信装置。
続きを表示(約 590 文字)
【請求項2】
前記制御部は、前記センサが検出した天地に応じて、前記マイクの感度を設定する
ことを特徴とする請求項1に記載の通信装置。
【請求項3】
ヘルメットの前面開口部に取り付けられる通信装置であって、
マイクと、
スピーカと、
天地を検知するセンサと、
制御部と、を備え、
前記制御部は、前記センサが検出した天地に応じて、前記マイクの感度を設定する
ことを特徴とする通信装置。
【請求項4】
前記マイクを内蔵した第1パーツと、
前記2つのスピーカの一方を内蔵し、前記第1パーツに対し角度調整可能に連結された第2パーツと、
前記2つのスピーカの他方を内蔵し、前記第2パーツが連結している側と反対側で前記第1パーツに対し角度調整可能に連結された第3パーツと、を備えている
ことを特徴とする請求項1又は2に記載の通信装置。
【請求項5】
前記第1パーツは、第2マイクを内蔵しており、
前記第1パーツが、第1の面と、該第1の面と反対側に位置する第2の面と、を有し、
前記第1の面に前記マイクに通じる開口部が形成され、前記第2の面に前記第2マイクに通じる開口部が形成されている
ことを特徴とする請求項4に記載の通信装置。
発明の詳細な説明
【技術分野】
【0001】
本発明は、通信装置に関する。
続きを表示(約 1,800 文字)
【背景技術】
【0002】
自動二輪車や自転車のヘルメットに取り付けられて、運転中にハンズフリー通話やナビの音声案内を聴くことなどを可能にする通信装置が公知である。この通信装置は、一般的に、「インカム」や「ヘッドセット」と呼ばれている。
【0003】
上記ヘルメット用通信装置の一例として、特許文献1には、本体部と、左スピーカと、右スピーカと、マイクと、を備えたヘッドセットが開示されている。本体部には、スマートフォン等の無線端末と無線接続することができる外部入出力部と、バッテリが内蔵されている。このヘッドセットをヘルメットに取り付ける際は、本体部をヘルメット外面に固定し、マイクをヘルメット着用者の口元に配置し、左スピーカと右スピーカをそれぞれヘルメット内に取り付け、各スピーカと本体部をケーブルで接続する、等の作業が必要であった。
【先行技術文献】
【特許文献】
【0004】
特開2020-120313号公報
【発明の概要】
【発明が解決しようとする課題】
【0005】
上記特許文献1のヘッドセットのような従来のヘルメット用通信装置は、本体部とスピーカとマイクとが独立して(分離して)設けられていた。このため、上述したように各部品をそれぞれヘルメットに取り付けたり、部品間をケーブルで接続したりする必要があり、取り付け作業や取り替え作業に非常に手間がかかるという問題があった。
【0006】
そこで、本発明が解決しようとする課題としては、ヘルメットへの通信装置の取り付け作業や取り替え作業を容易に行えるようにする構造を提供することが一例として挙げられる。
【課題を解決するための手段】
【0007】
本発明の通信装置は、ヘルメットの前面開口部に取り付けられる通信装置であって、マイクと、前記マイクの両側に配置され、ステレオ再生が可能な2つのスピーカと、天地を検知するセンサと、制御部と、を備え、前記制御部は、前記センサが検出した天地に応じて、それぞれのスピーカが再生するステレオ信号のチャネルを設定することを特徴とする。
【0008】
本発明の通信装置は、ヘルメットの前面開口部に取り付けられる通信装置であって、マイクと、スピーカと、天地を検知するセンサと、制御部と、を備え、前記制御部は、前記センサが検出した天地に応じて、前記マイクの感度を設定することを特徴とする。
【図面の簡単な説明】
【0009】
本発明の実施例1にかかる通信装置のヘルメットへの取り付け例の一例を示す図である。
図1の通信装置のヘルメットへの取り付け例の他の例を示す図である。
図1の通信装置のみの斜視図である。
図3の通信装置の正面図である。
図3の通信装置の平面図である。
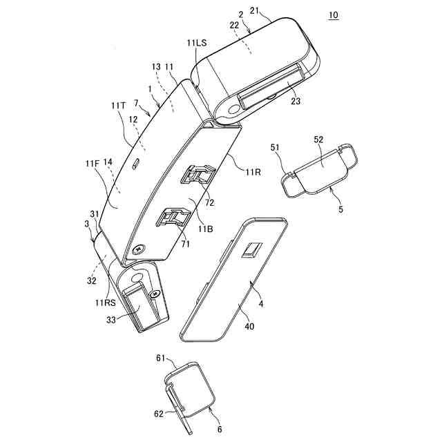
図3の通信装置の装置本体と固定パーツを分離させた図であり、装置本体の背面側を示す図である。
図6の装置本体と固定パーツを下側から見た図である。
本発明の実施例2にかかる通信装置のヘルメットへの取り付け例の一例を示す図である。
図8の通信装置のヘルメットへの取り付け例の他の例を示す図である。
図8の通信装置の装置本体と固定パーツを分離させた図であり、装置本体の背面側を示す図である。
図10の装置本体と固定パーツを下側から見た図である。
本発明の実施例3にかかる通信装置の装置本体を示す図である。
本発明の実施例4にかかる通信装置のヘルメットへの取り付け例の一例を示す図である。
図13の通信装置のみの斜視図である。
図14の固定パーツ(ヘルメット用アクセサリ)のみの斜視図である。
図15の固定パーツの背面側を示す図である。
本発明の実施例5にかかる通信装置を示す図である。
本発明の実施例6にかかる通信装置を示す図である。
【発明を実施するための形態】
【0010】
本発明の一実施形態にかかるヘルメットは、前面に開口部を有し、当該開口部にマイクとスピーカとを内蔵した通信装置が配置されている。これにより、ヘルメットへの通信装置の取り付け作業や取り替え作業を容易に行うことができる。
(【0011】以降は省略されています)
特許ウォッチbot のツイートを見る
この特許をJ-PlatPat(特許庁公式サイト)で参照する
関連特許
パイオニア株式会社
情報処理装置、情報処理方法および情報処理プログラム
23日前
パイオニア株式会社
情報処理装置、情報処理方法および情報処理プログラム
23日前
パイオニア株式会社
情報処理装置、情報処理方法および情報処理プログラム
23日前
パイオニア株式会社
情報処理装置、情報処理方法および情報処理プログラム
23日前
パイオニア株式会社
情報処理装置、情報処理方法および情報処理プログラム
23日前
パイオニア株式会社
情報処理装置、情報処理方法および情報処理プログラム
23日前
パイオニア株式会社
情報処理装置、情報処理方法、および情報処理プログラム
23日前
パイオニア株式会社
センサ装置
19日前
パイオニア株式会社
情報処理装置
3日前
パイオニア株式会社
情報出力装置
16日前
パイオニア株式会社
表示制御装置
19日前
パイオニア株式会社
音声出力装置
18日前
パイオニア株式会社
効果音出力装置
5日前
パイオニア株式会社
ナビゲーション装置
19日前
パイオニア株式会社
表示装置および表示装置の駆動方法
19日前
パイオニア株式会社
案内情報生成装置及び案内情報生成方法
19日前
パイオニア株式会社
情報処理装置、制御方法、プログラム及び記憶媒体
18日前
パイオニア株式会社
予測装置、予測方法、予測プログラム及び記憶媒体
19日前
パイオニア株式会社
決定装置、決定方法、決定プログラム及び記録媒体
16日前
パイオニア株式会社
推定装置、システム、推定方法、およびプログラム
11日前
パイオニア株式会社
情報処理装置、情報処理方法及び情報処理プログラム
5日前
パイオニア株式会社
通信制御端末、通信制御方法及び通信制御プログラム
16日前
パイオニア株式会社
認識判定装置、認識判定方法及び認識判定プログラム
19日前
パイオニア株式会社
制御装置、制御方法、および、制御装置用プログラム
11日前
パイオニア株式会社
情報処理装置、情報出力方法、プログラム及び記憶媒体
19日前
パイオニア株式会社
料金算出装置、料金算出方法及び料金算出用プログラム
16日前
パイオニア株式会社
音出力制御装置、音出力制御方法および音出力制御プログラム
18日前
パイオニア株式会社
情報処理装置、情報処理方法、情報処理プログラム、及び記憶媒体
16日前
パイオニア株式会社
地点検索方法、地点検索プログラム、地点検索記憶媒体および地点検索装置
3日前
パイオニア株式会社
情報処理装置、広告情報提示装置及びこれらの装置によって実行される方法
3日前
パイオニア株式会社
通信システム、通信装置、サーバ装置、通信方法、通信プログラム及び記憶媒体
19日前
個人
帽子
5か月前
個人
瞬間日陰
6か月前
個人
フレーム
9か月前
個人
頭部装着具
6か月前
個人
通気性帽子
10か月前
続きを見る
他の特許を見る