TOP
|
特許
|
意匠
|
商標
特許ウォッチ
Twitter
他の特許を見る
10個以上の画像は省略されています。
公開番号
2025119844
公報種別
公開特許公報(A)
公開日
2025-08-15
出願番号
2024014911
出願日
2024-02-02
発明の名称
帽子
出願人
有限会社トップエンタープライズ
代理人
個人
主分類
A42B
1/008 20210101AFI20250807BHJP(頭部に着用するもの)
要約
【目的】 帽子のクラウンの内方と外方との間の通気性に優れた帽子を提供する。
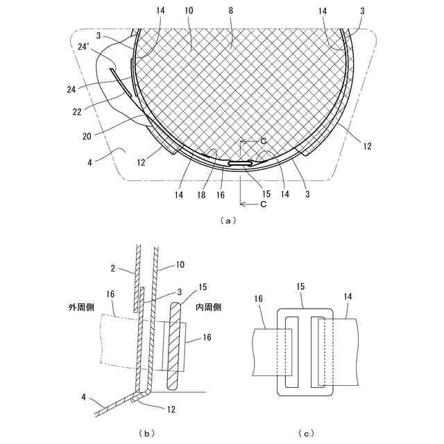
【解決手段】 帽子1において、該帽子のクラウン8と、クラウンの内面に重ね合わされるように配置された通気性生地10であって、通気性生地の内周側に配置され、通気性生地の周縁部に沿って縫い付けられた汗止め帯14と、着用者の頭部に該帽子を固定するための固定ベルト16であって、クラウンに形成された貫通孔に通された固定ベルトと、クラウンの外面の所定の位置に設けられた係着手段と、を備え、係着手段に固定ベルトの遠位端部22を係着させるために固定ベルトが引っ張られると通気性生地も引っ張られて通気性生地の上記一部とクラウンとの間に隙間が生じ得るように、固定ベルトの近位端部18が直接的に又は汗止め帯を介して間接的に、通気性生地に接続されていることを特徴とする。
【選択図】 図7
特許請求の範囲
【請求項1】
帽子において、
該帽子のクラウンと、
上記クラウンの内面に重ね合わされるように配置された通気性生地であって、該通気性生地の周縁部のうちの一部を除く部分が上記クラウンの周縁部に沿って縫い付けられた通気性生地と、
上記通気性生地の内周側に配置され、上記通気性生地の周縁部に沿って縫い付けられた汗止め帯と、
着用者の頭部に該帽子を固定するための固定ベルトであって、該固定ベルトの遠位端部が上記クラウン内から外方へ延出するように、上記クラウンに形成された貫通孔に通された固定ベルトと、
上記クラウンの外面の所定の位置に設けられた係着手段と、
を備え、
上記係着手段に上記固定ベルトの遠位端部を係着させるために上記固定ベルトが引っ張られると上記通気性生地も引っ張られて上記通気性生地の上記一部と上記クラウンとの間に隙間が生じ得るように、上記固定ベルトの近位端部が直接的に又は上記汗止め帯を介して間接的に、上記通気性生地に接続されていることを特徴とする、帽子。
続きを表示(約 530 文字)
【請求項2】
上記固定ベルトの近位端部が、上記通気性生地の内周側かつ上記汗止め帯の内周側に配置されている一方で、上記固定ベルトの遠位端部は、上記汗止め帯に形成された通過孔にも通されて、上記クラウン内から外方へ延出していることを特徴とする、請求項1に記載の帽子。
【請求項3】
上記汗止め帯は、上記通気性生地との間に中空部を形成するように上記通気性生地に縫い付けられており、その中空部内において、上記固定ベルトの近位端部が延在するとともに上記汗止め帯又は上記通気性生地に固定されていることを特徴とする、請求項1に記載の帽子。
【請求項4】
上記汗止め帯の一端部に調節リングが設けられており、上記固定ベルトが、上記調節リングに形成された1つ又は複数の孔の位置で上記通気性生地の外周側へ折り返されるように、上記通気性生地の上記一部に臨む位置において、該1つ又は複数の孔に通されていることを特徴とする、請求項1に記載の帽子。
【請求項5】
上記クラウンの外周側と内周側との間を空気が通流するように、上記クラウンの側面に1つ又は複数のスリットが形成されていることを特徴とする、請求項1~4のいずれかに記載の帽子。
発明の詳細な説明
【技術分野】
【0001】
本発明は、風通しの良いクラウンを有する帽子(ハット、キャップ等)に関し、詳しくは、ファン付きウェア(空調服)や携帯用ミニファンにより生じる風や、自然の風を帽子のクラウン内に通流させることに優れた帽子に関する。
続きを表示(約 1,500 文字)
【背景技術】
【0002】
炎天下において、サトウキビの刈入れなどの農作業を行う人は、直射日光を遮るために帽子を被ることが多い。また、特に日差しの強いときには、日除けのためのネックガードを帽子に取り付ける人も多い。しかし、その帽子に通気性がなければ着用者の頭が蒸れて、多くの汗をかいてしまう。
【0003】
特許文献1は通気性帽子に関し、帽子と着用者の頭部との隙間へ風が流入するように構成された帽子を開示している。この帽子内に風が通流することで、その着用者は清涼感を得ることができる。
【0004】
特許文献2は通気性帽子に関し、複数のカット部に分割されてなるクラウンが上下方向にずらされていることを開示している。この帽子は、当該カット部を相互に接続していないことにより、帽子前部の対向位置に設けられた通気口の大きさを自由に調節可能としたことを特徴としている。
【0005】
特許文献3は通気性帽子に関し、帽子本体の側壁に形成された貫通孔を通された帯状体で頭部と帽子本体の一部を縛るように構成された帽子を開示している。この帽子では、着用者の頭周りの寸法に合わせてサイズ調節することができる。
【0006】
特許文献4は通気性の良いキャップに関し、着用者の頭の蒸れを防止することができるように、通気帯(メッシュ地)を介して汗取り帯をクラウンに縫い付けていることにより、外側クラウン部と頭との間を通気部としているキャップを開示している。
【先行技術文献】
【特許文献】
【0007】
特許第6233909号公報
特許第6233939号公報
実用新案登録第3132414号公報
実用新案登録第3121430号公報
【発明の概要】
【発明が解決しようとする課題】
【0008】
ファン付きウェア(空調服)や携帯用ミニファンで生じる風や、自然の風を帽子のクラウン内へ通流させて頭部の蒸れを防ぐ、風通しの良い帽子を提供する。また、その着用者が帽子を被ったままの状態で帽子の汗止め帯を額にフィットさせることができるようにする。
【課題を解決するための手段】
【0009】
帽子において、該帽子のクラウンと、クラウンの内面に重ね合わされるように配置された通気性生地であって、該通気性生地の周縁部のうちの一部を除く部分がクラウンの周縁部に沿って縫い付けられた通気性生地と、通気性生地の内周側に配置され、通気性生地の周縁部に沿って縫い付けられた汗止め帯と、着用者の頭部に該帽子を固定するための固定ベルトであって、該固定ベルトの遠位端部がクラウン内から外方へ延出するように、クラウンに形成された貫通孔に通された固定ベルトと、クラウンの外面の所定の位置に設けられた係着手段と、を備え、係着手段に固定ベルトの遠位端部を係着させるために固定ベルトが引っ張られると通気性生地も引っ張られて通気性生地の上記一部とクラウンとの間に隙間が生じ得るように、固定ベルトの近位端部が直接的に又は汗止め帯を介して間接的に、通気性生地に接続されていることを特徴とする、帽子を提供する。
【0010】
一実施例においては、固定ベルトの近位端部が、通気性生地の内周側かつ汗止め帯の内周側に配置されている一方で、固定ベルトの遠位端部は、汗止め帯に形成された通過孔にも通されて、クラウン内から外方へ延出していることを特徴とする。
(【0011】以降は省略されています)
この特許をJ-PlatPat(特許庁公式サイト)で参照する
関連特許
個人
帽子
6か月前
個人
フレーム
10か月前
個人
瞬間日陰
7か月前
個人
頭部装着具
7か月前
個人
雨除け帽子
11か月前
個人
頭部保護具
1か月前
個人
通気性帽子
11か月前
個人
かぶり物
10か月前
個人
熱中症対策帽子
6か月前
個人
肩車補助ヘルメット
19日前
株式会社TAT
冷却具
9か月前
株式会社K設計
サウナハット
10か月前
株式会社スペースシーファイブ
帽子
6か月前
個人
制振機能を有する疲労軽減ヘルメット
7か月前
有限会社トラッド
冷却装置付きヘルメット
5か月前
有限会社トップエンタープライズ
帽子
3か月前
東洋物産工業株式会社
分割ヘルメット
4か月前
株式会社トーヨーセーフティ
ヘルメット
2か月前
パイオニア株式会社
通信装置
2か月前
パイオニア株式会社
通信装置
2か月前
ミドリ安全株式会社
インナーキャップ
6か月前
ミドリ安全株式会社
帽体、ヘルメット
7か月前
株式会社イエロー
頭部保護具用内装材
6か月前
株式会社日曜発明ギャラリー
帽子等に用いる冷却構造
5か月前
ミドリ安全株式会社
保護帽
9か月前
個人
圧縮収納できるレインコートを付けたヘルメット
28日前
個人
スマートあご紐を有するヘルメット
3か月前
ミドリ安全株式会社
保護帽
8か月前
株式会社ダイセル
保護装置
3か月前
株式会社サンロード
帽子
11か月前
補装具工房スタンス株式会社
頭蓋形状誘導ヘルメット
6か月前
パイオニア株式会社
通信装置、ヘルメット
2か月前
株式会社谷沢製作所
ヘルメット
4か月前
株式会社谷沢製作所
ヘルメット
4か月前
株式会社オリエンタルミラクル
帯体および帯体の製造方法
6か月前
株式会社セフト研究所
スペーサ及びスペーサ付帽子
10か月前
続きを見る
他の特許を見る