TOP
|
特許
|
意匠
|
商標
特許ウォッチ
Twitter
他の特許を見る
10個以上の画像は省略されています。
公開番号
2025139536
公報種別
公開特許公報(A)
公開日
2025-09-26
出願番号
2024170195
出願日
2024-09-30
発明の名称
通信装置、ヘルメット
出願人
パイオニア株式会社
代理人
個人
,
個人
,
個人
主分類
A42B
3/30 20060101AFI20250918BHJP(頭部に着用するもの)
要約
【課題】ヘルメットへの通信装置の取り付け作業や取り替え作業を容易に行えるようにする構造を提供する。
【解決手段】ヘルメット100は、フルフェイス型のヘルメットであり、前面に開口部104を有し、開口部104に通信装置10が配置されている。通信装置10は、装置本体7と、装置本体7が着脱可能であり、ヘルメット100に固定される複数の固定パーツ4,5,6と、を備えている。装置本体7は、マイクを内蔵した第1パーツ1と、スピーカを内蔵し、第1パーツ1に対し角度調整可能に連結された第2パーツ2と、スピーカを内蔵し、第2パーツ2が連結している側と反対側で第1パーツ1に対し角度調整可能に連結された第3パーツ3と、を備えている。
【選択図】図1
特許請求の範囲
【請求項1】
前面に開口部を有し、当該開口部にマイクとスピーカとを内蔵した通信装置が配置されている
ことを特徴とするヘルメット。
続きを表示(約 920 文字)
【請求項2】
前記通信装置は、前記マイクを内蔵した第1パーツと、前記スピーカを内蔵し、前記第1パーツに対し角度調整可能に連結された第2パーツと、を備えている
ことを特徴とする請求項1に記載のヘルメット。
【請求項3】
前記通信装置は、スピーカを内蔵し、前記第2パーツが連結している側と反対側で前記第1パーツに対し角度調整可能に連結された第3パーツを備えている
ことを特徴とする請求項2に記載のヘルメット。
【請求項4】
前記通信装置が、前記開口部の縁に接着されている
ことを特徴とする請求項1に記載のヘルメット。
【請求項5】
前記通信装置が、前記開口部の縁にネジ止めされている
ことを特徴とする請求項1に記載のヘルメット。
【請求項6】
前記開口部の縁に固定された固定パーツを備え、
前記通信装置が、前記固定パーツに着脱可能に取り付けられている
ことを特徴とする請求項1に記載のヘルメット。
【請求項7】
ヘルメットの前面開口部に固定される通信装置であって、
マイクを内蔵した第1パーツと、
スピーカを内蔵し、前記第1パーツに連結された第2パーツと、
前記開口部に固定するための、前記第1パーツに取り付けられる第1固定パーツ、及び、前記第2パーツに取り付けられる第2固定パーツと、を備えている
ことを特徴とする通信装置。
【請求項8】
前記第1固定パーツ及び前記第2固定パーツの少なくとも一方が、前記開口部におけるヘルメット外殻部と内側緩衝材との間の隙間に差し込まれる板部を有している
ことを特徴とする請求項7に記載の通信装置。
【請求項9】
前記第1パーツと前記第1固定パーツとが接着されている
ことを特徴とする請求項7に記載の通信装置。
【請求項10】
前記第1パーツと前記第1固定パーツとがネジ止めされている
ことを特徴とする請求項7に記載の通信装置。
(【請求項11】以降は省略されています)
発明の詳細な説明
【技術分野】
【0001】
本発明は、通信装置に関する。
続きを表示(約 1,800 文字)
【背景技術】
【0002】
自動二輪車や自転車のヘルメットに取り付けられて、運転中にハンズフリー通話やナビの音声案内を聴くことなどを可能にする通信装置が公知である。この通信装置は、一般的に、「インカム」や「ヘッドセット」と呼ばれている。
【0003】
上記ヘルメット用通信装置の一例として、特許文献1には、本体部と、左スピーカと、右スピーカと、マイクと、を備えたヘッドセットが開示されている。本体部には、スマートフォン等の無線端末と無線接続することができる外部入出力部と、バッテリが内蔵されている。このヘッドセットをヘルメットに取り付ける際は、本体部をヘルメット外面に固定し、マイクをヘルメット着用者の口元に配置し、左スピーカと右スピーカをそれぞれヘルメット内に取り付け、各スピーカと本体部をケーブルで接続する、等の作業が必要であった。
【先行技術文献】
【特許文献】
【0004】
特開2020-120313号公報
【発明の概要】
【発明が解決しようとする課題】
【0005】
上記特許文献1のヘッドセットのような従来のヘルメット用通信装置は、本体部とスピーカとマイクとが独立して(分離して)設けられていた。このため、上述したように各部品をそれぞれヘルメットに取り付けたり、部品間をケーブルで接続したりする必要があり、取り付け作業や取り替え作業に非常に手間がかかるという問題があった。
【0006】
そこで、本発明が解決しようとする課題としては、ヘルメットへの通信装置の取り付け作業や取り替え作業を容易に行えるようにする構造を提供することが一例として挙げられる。
【課題を解決するための手段】
【0007】
本発明のヘルメットは、前面に開口部を有し、当該開口部にマイクとスピーカとを内蔵した通信装置が配置されていることを特徴とする。
【0008】
本発明の通信装置は、ヘルメットの前面開口部に固定される通信装置であって、マイクを内蔵した第1パーツと、スピーカを内蔵し、前記第1パーツに連結された第2パーツと、前記開口部に固定するための、前記第1パーツに取り付けられる第1固定パーツ、及び、前記第2パーツに取り付けられる第2固定パーツと、を備えていることを特徴とする。
【図面の簡単な説明】
【0009】
本発明の実施例1にかかる通信装置のヘルメットへの取り付け例の一例を示す図である。
図1の通信装置のヘルメットへの取り付け例の他の例を示す図である。
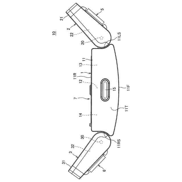
図1の通信装置のみの斜視図である。
図3の通信装置の正面図である。
図3の通信装置の平面図である。
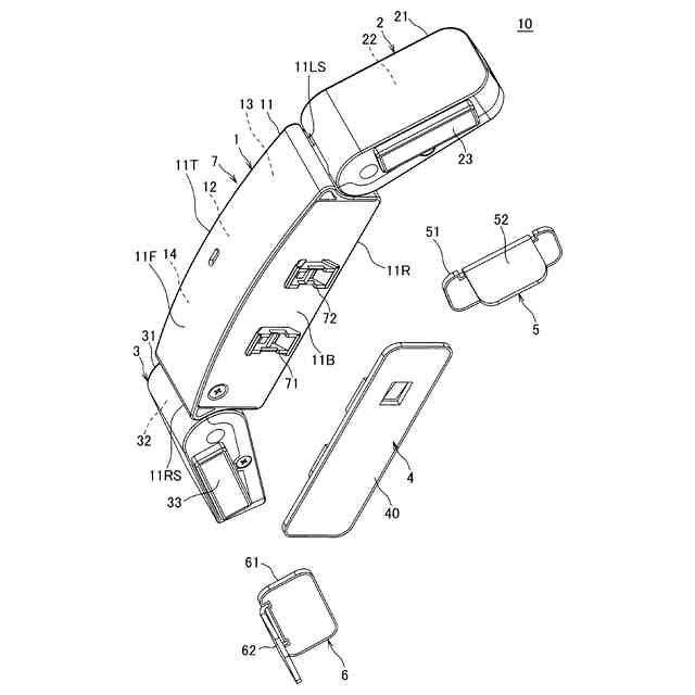
図3の通信装置の装置本体と固定パーツを分離させた図であり、装置本体の背面側を示す図である。
図6の装置本体と固定パーツを下側から見た図である。
本発明の実施例2にかかる通信装置のヘルメットへの取り付け例の一例を示す図である。
図8の通信装置のヘルメットへの取り付け例の他の例を示す図である。
図8の通信装置の装置本体と固定パーツを分離させた図であり、装置本体の背面側を示す図である。
図10の装置本体と固定パーツを下側から見た図である。
本発明の実施例3にかかる通信装置の装置本体を示す図である。
本発明の実施例4にかかる通信装置のヘルメットへの取り付け例の一例を示す図である。
図13の通信装置のみの斜視図である。
図14の固定パーツ(ヘルメット用アクセサリ)のみの斜視図である。
図15の固定パーツの背面側を示す図である。
本発明の実施例5にかかる通信装置を示す図である。
本発明の実施例6にかかる通信装置を示す図である。
【発明を実施するための形態】
【0010】
本発明の一実施形態にかかるヘルメットは、前面に開口部を有し、当該開口部にマイクとスピーカとを内蔵した通信装置が配置されている。これにより、ヘルメットへの通信装置の取り付け作業や取り替え作業を容易に行うことができる。
(【0011】以降は省略されています)
この特許をJ-PlatPat(特許庁公式サイト)で参照する
関連特許
パイオニア株式会社
通信装置
10日前
パイオニア株式会社
通信装置
10日前
パイオニア株式会社
情報処理装置
7日前
パイオニア株式会社
情報処理装置
7日前
パイオニア株式会社
情報処理装置
7日前
パイオニア株式会社
情報処理装置
7日前
パイオニア株式会社
情報処理装置
7日前
パイオニア株式会社
情報処理装置
7日前
パイオニア株式会社
情報処理装置
7日前
パイオニア株式会社
情報処理装置
7日前
パイオニア株式会社
ルームミラー装置
7日前
パイオニア株式会社
ルームミラー装置
7日前
パイオニア株式会社
通信装置、ヘルメット
10日前
パイオニア株式会社
制御装置、制御方法、及びプログラム
7日前
パイオニア株式会社
検索装置、検索方法、及びプログラム
7日前
パイオニア株式会社
情報処理装置、情報処理方法、及びプログラム
7日前
パイオニア株式会社
情報処理装置、情報処理方法、及びプログラム
7日前
パイオニア株式会社
車両監視装置、車両監視方法、及びプログラム
3日前
パイオニア株式会社
車両監視装置、車両監視方法、及びプログラム
7日前
パイオニア株式会社
情報処理装置、情報処理方法、プログラム及び記憶媒体
10日前
パイオニア株式会社
情報処理装置、情報処理方法、プログラム及び記憶媒体
10日前
パイオニア株式会社
経路探索装置、経路探索方法、プログラム及び記憶媒体
7日前
パイオニア株式会社
経路探索装置、経路探索方法、プログラム及び記憶媒体
7日前
パイオニア株式会社
経路探索装置、経路探索方法、プログラム及び記憶媒体
7日前
パイオニア株式会社
情報処理装置、情報処理方法、プログラム及び記憶媒体
10日前
パイオニア株式会社
情報処理装置、情報処理方法、プログラム及び記憶媒体
10日前
パイオニア株式会社
情報処理装置、情報処理方法、プログラム及び記憶媒体
10日前
パイオニア株式会社
入力装置
3日前
パイオニア株式会社
表示制御装置
7日前
パイオニア株式会社
情報処理装置、情報処理方法、情報処理プログラム及び記憶媒体
7日前
パイオニア株式会社
車載装置、制御方法及びプログラム
7日前
パイオニア株式会社
情報処理装置、方法、プログラム及び記憶媒体
6日前
パイオニア株式会社
情報送信装置、方法、プログラム及び記憶媒体
3日前
パイオニア株式会社
情報処理装置、方法、プログラム及び記憶媒体
3日前
パイオニア株式会社
情報処理装置、制御方法、プログラム及び記憶媒体
3日前
パイオニア株式会社
端末装置、情報処理方法及び端末装置用プログラム
3日前
続きを見る
他の特許を見る